在服务客户的过程中,泛微OA系统可以借助“建模引擎”,在同一个平台随时为企业的新业务、新需求搭建全新办公应用,以下特色应用适用于各个行业,可以为更多组织化解管理需求。

一、人事管理类
1、工位管理

企业需求解读:企业规模一大,不在现场根本不了解工位情况,找人麻烦、找个空位置不容易。
泛微解决方案
将员工、工位信息电子化,通过一一匹配动态呈现企业员工分布情况、智能标注工位使用状态,让员工座位按区域视图化呈现,找人方便、合理安排工位、提高资源使用率。

(工位管理应用基本功能架构)
亮点功能:
结合OA系统,将整个企业的所有分支的工位情况,按区域、分部门的智能呈现,通过流程与人事板块串联,自动监控入、离职情况,实时更新工位信息。

(大型企业工位管理效果:智能呈现使用情况、使用者信息)
不同的色彩板块代表不同的使用状态,剩余情况一目了然,想找个人,一搜就能精准定位,又快又省心。
部门区域清晰
通过监控图,每个区域的部门组成情况标准清晰,分配是否合理看图就知道。

(各部门所属区域一目了然)
智能分析工位使用效率
为了更方便企业管理,OA系统电子报表可以随时为企业智能分析各个区域和部门的工位使用率,合理调配。

(工位分析表)
工位调动智能更新
一旦实现工位信息化管理,每个工位的调动都必须通过流程申请,注明调动情况,系统会根据流程记录自动更新工位状态,提高监控准确性。
2、智能请假管理

企业需求分析:员工不知道还有多少年假、担心找不到领导签字;人事要管理全公司的请休假数据,工作量大,企业需要为双方解决麻烦,优化请休假体验。
泛微解决方案
借助流程和智能表单形成企业请休假流程,通过智能核算员工请休假信息,可休假天数智能核准,减轻人工统计、咨询的工作,彻底简化请假过程。

(智能语音请假助手)
亮点功能:
年假智能核准助手
无论你是新入职员工、刚转正员工还是老员工,提交请假流程的同时,系统会自动识别剩余年假天数,再也不用麻烦人事。

(PC端剩余年假核准)
智能冲销请假数据
系统会根据每位员工的历史请假信息,实时核准、冲销,无需人工复审,假即请即销。
休假情况智能统计
除了智能完成请假,请假信息还可以根据部门、组织有序分类统计,通过报表多维度了解某个人、某个部门甚至全公司某个时段的休假情况,提高人事管理能力。

(年假统计表)
二、行政管理类
1、证照管理

企业需求分析:各类资质证件的使用混乱,用过的忘记还、要用的没处借、到期了不知道换,使用不按规章,管理始终没法规范。
泛微解决方案
借助建模引擎,为证照管理业务制定标准业务体系,证照信息统一录入系统,形成电子信息看板,流程化的借用、归还方式,实时监控各类证照状态,合理用、及时还,优化使用。

(证照管理看板)
亮点功能:
使用(借、还)监控
整个企业的证照使用必须通过固定流程提交借用、归还申请,哪位员工、在什么时候、出于什么原因借用的证照,是否按时归还了,都有记录,追踪查询方便。

(形成借还记录)
外借物流监控
在大型企业中证照常常会有跨企业、跨区域使用情况,为了确保整个过程透明化,泛微的OA系统还可以和快递平台集成,随时监控物流进度。

(物流跟踪)
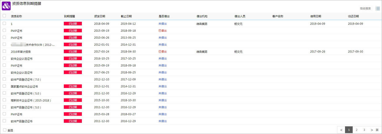
资质到期提醒
对所有证照进行精准时间监控,即将到期、已经超期的随时预警提醒办理,防止信息过期耽误使用。

(到期提醒)
三、资产管理类
1、资产移动报修

企业需求分析:在许多一线工厂和大型企业,常常会产生大量生产、办公设备报修需求,上报要快、描述要准、响应要快,才能满足现代化办公效率。
泛微解决方案
借助二维码将所有设备、资产信息条码化,随时通过手机端移动报修应用扫码锁定设备信息,快速上报。系统会快速将需求匹配给合适维修人员,随时公开维修进度,提高维修效率。

(报修体验:扫码填单、上报需求)
亮点功能:
扫码填单
OA系统为每个资产建立自己的二维码标签,上报维修需求的时候拿着手机扫一扫就能精准定位这是几楼的哪一台设备,方便查找。
设备故障率分析
如果是生产制造型企业,了解每个车间各个设备的故障率对于提高生产质量非常关键,每天设备维修耗时、故障频率可以让管理层迅速反应,及时找出耗时环节,优化设备。

(设备故障分析表)
四、政府机关服务类
1、领导一周安排

组织需求分析:在政府机关、大型国企,领导随时都有外出开会、考察的可能,做好领导日程公开有利于各项工作顺利开展。
但是,怎样既确保共享效率,又能控制信息公开范围、保障信息安全,是优化工作的核心。
泛微解决方案
针对“领导层日常工作”进行有效的日程管理,通过建模、权限、预警等功能形成以周为单位,上、下午清晰罗列的工作信息表,共享范围自主控制,灵活又方便。

(领导工作一周展示表)
领导什么时段在单位,找准时间汇报工作防止等不到人、耽误工作。
亮点功能:
一条流程轻松创建
为了方便日程信息填报,OA系统根据不同类型日程匹配不同管理员,比如会务类、考察类、招商类等等,可以由专人创建最后统一汇总成表,提高上报效率。

(轻松创建日程)
一条流程轻松上报日程时间、选择随行人员,简化填单。
日程智能提醒
领导几点有会、要带什么材料,系统会根据时间设定提前发起短信提醒,防止日程多记不住细节,确保高效工作。

(短信、邮件、流程等多种提醒方式)
五、企业后勤服务类
1、宿舍管理

企业需求分析:许多大型企业和高校想对自己的宿舍资源进行更加信息化的管理,入住走流程、资源透明化,一部手机就能随时监管宿舍。
泛微解决方案
通过流程、建模应用打造专属宿舍管理体系,宿舍信息化录入系统形成电子监控档案,每一间宿舍的情况,会根据入住流程、评审报告智能呈现,简化人力成本,有序入住。
亮点功能:
入住、退宿流程化
每位入住、退宿人员都要提交流程上报具体信息,楼层、床铺、姓名等等,做一次上报,建立电子档案。

(填写入住申请)
宿舍信息看板
宿舍信息电子化,具体到每栋楼的每个床位都会详细记录使用状态,谁在住、是否闲置及时了解。

(宿舍登记、查询渠道)
访客及时登记
外来访客用系统登记模块做好信息记录,来访人信息、来访时间随时调审,提高宿舍安全管理。
宿舍卫生报告
为了优化住宿环境,所有宿舍检查业务都经过系统进行评审上报,通过精准的评分让宿舍环境直观可见。
六、差旅管理类
1、快捷出差审批

企业需求分析:企业业务范围越广,国内外出差需求就越多,每天都有很多出差申请等着审批,领导日程比较繁忙,怎样才能在不耽误双方时间的情况下,快速完成审批?
泛微解决方案
接入移动应用实现随时随地审批,通过流程、表单构建符合企业需求的审批路径,填单、上报行程、移动审批一步到位,高效出差。

(审批—商旅服务一体化)
亮点功能:
多人协同审批
如果出现多人同行出差,为了节省审批、订票时间,可以在同一条流程内添加多个申请人,一条流程、一次就能完成审批。

(快速添加同行人员)
智能接通商旅服务
为了提高商旅管理体验,泛微可以和商旅平台集成,出差申请一通过,系统自动触发商旅平台按上报的出差信息,完成订票、订店。

(商旅集成)
七、园区物业管理类
1、园区物业服务平台

客户需求分析:一个大型园区往往汇集了众多企业,服务全部依靠人力,效率问题始终是难题,还可能引起客户不满。
泛微解决方案
借助OA对园区资源、客户、人力实现信息化管理,为内部员工统一办公平台,为外部企业客户提供一个自主服务窗口,结合移动端提升服务响应效率。

(内部管理+外部服务)
亮点功能:
房屋租赁
把整个园区所有房屋资源全部以电子信息形式录入系统,租赁状态自动更新,随时监控资源闲置情况。

(租赁信息发布—预约租赁)
账单管理
整个园区每个月的租金、各类设备使用费都直接通过APP缴纳,账单清晰、服务自主。

(在线支付)
设备维修服务
在APP,通过报修服务窗口可以迅速发起设备报修流程,园区迅速匹配维修,全程进度公开透明,提升服务质量。

(上报维修需求—快速响应维修)
八、销售助手类
1、客户管理系统

企业需求分析:生产销售型企业都有自己的销售团队,客户资源的维护是每个销售人员的必修课,但是那么多销售线索和需求,很容易遗漏或者错失商机。
泛微解决方案
借助移动建模为销售打造一个客户移动管理平台,客户信息录入、更新、跟踪全程管理,销售们用手机就能查看客户信息、回款情况、来访记录,掌握客户需求实情,提高维护水平。

(移动端客户管理平台)
亮点功能:
快速创建客户电子档案
有了新客户,销售可以用手机应用记录、标记客户来源,形成自己的客户档案。

(记录客户信息)
拜访客户更简单
为了帮助销售形成自己的拜访记录,所有拜访业务可以通过系统上交拜访计划,定期提醒拜访客户,另外,系统还可以接入地图系统随时开启导航,方便销售按计划定期拜访客户。

(制定拜访计划—跟踪执行情况—智能导航)
九、连锁店铺管理类
1、零售店铺管理

企业需求分析:服装、食品、珠宝等全国多地连锁的零售店铺,常常面临离得远、不好管的现象,总部对于各个店铺货物供应情况、门店管理情况掌控不佳。
泛微解决方案
和第三方门店管理系统集成,形成全国门店信息网络,借助OA业务流程驱动管理透明化,产品信息、业务实情随时共享。
亮点功能:
扫码查货
将所有类型的商品、各个门店的信息全部电子化,形成条码标识,想了解某个新产品在各个门店的供应情况,扫一扫就能完成统计。

(选择门店—扫码查货)
移动巡店
OA流程为店铺形成全过程巡店管理体系,可以随时制定巡店计划、用手机反馈门店情况,系统全程跟踪解决进度,全面优化门店管理。

(便捷巡店管理体系)