随着经济的发展、科学的讲步,金属材料越来越被广泛地应用,金属材料质量轻、强度高、设计灵活、色彩丰富、造型独特以及极富现代感等独特魅力....
之前给大家介绍过:金属拉伸网:类型、造价、特征、施工工艺及应用场景。
今天我们来认识下一种高级金属合金板—— 钛锌板 。

- 01 -
材料特性
Performance
钛锌板又称为钛锌合金板、锌铜钛合金板、钛金板等,由高纯度的Z1级别的金属锌与少量的金属钛、金属铜及金属铝熔炼而成的合金,经辊轧处理成片、条、板或卷状的建材板。
钛锌板材料其应用已有将近两百年的历史,在欧洲的大城市使用已经非常普遍,不少建筑都采用钛锌板作为屋面材料。
1、化学成分组成 铜:0.08-1.0 % 钛:0.06-0.2 % 铝:≤0.015 % 锌:剩余元素为锌(锌元素为满足DIN EN 1179规范的Z1锌)
2、材料性能

3、突出优特点
与用于建筑的其它金属屋面、幕墙材料相比,钛锌板提供了比镀锌钢板、铝合金板更强的抗腐蚀性能和生命期,又具有仿生态自动愈合表面的外观,以及优越的综合性价比。
①、超长使用寿命长
由于分子结构紧密排列,酸碱物质难以侵蚀钛锌板,从而达到保护材料,增加材料使用寿命的作用,具有80—100年的生命期,并有持久的美感,经数十年使用,历久弥新。
②、神奇的自愈功能、高耐久性、耐候性
材料拥有超强的自我修复功能,划伤后自动愈合不留痕迹。在运输或安装过程中被划伤后,由于锌的氧化性,锌元素会再次与大气中的水、氧气和二氧化碳反应,在划伤部位再次形成氧化层,颜色也会无限趋近于周围板材的颜色,从而形成自愈的特点。
③、自洁性,不需要上漆和维护
钛锌板表面无涂层,不产生静电,因此也不吸附灰尘脏物,经过雨水冲刷,直接带走板面污渍,形成自洁性特质,免维护。任何恶劣环境下,均可使用。
④、良好的延伸率和抗拉强度
可塑性好,可在现场三维弯弧异型,充分满足业主和建筑师丰富的创作想象力和灵感要求。
⑤、卓越的色彩、质感,天然的纹理
钛锌板拥有卓越的自然色彩,氧化层随时间推移而呈深灰色;且在生产过程中,表面经过连续辊轧,形成不可复制的天然纹理,与涂层材料的机械质感形成完全不同的质地区别,更真实,更自然,更具有生命力。
⑥、视觉呈现上更为轻薄
基材厚度:多为0.65mm、0.7mm、0.82mm、0.9mm、1.0mm、1.2mm、1.5mm等。
基材重量:多为3.5~7.5kg/㎡,如0.82mm厚的钛锌板屋面板重量仅为5.7kg/㎡,是一种特别轻的材料。
⑦、绿色环保,可充分回收
锌是一种有色金属,可循环使用,对环境不会造成任何污染。
⑧、防火等级高:B1级






- 02 -
产品类型
Category
1、材料形状
钛锌板根据材料形状的不同,通常可以分为卷材、板材和片材三类。
①、卷材
指连续成卷的钛锌板。通常现场制作施工构建会从工厂直接采购钛锌板卷材。

材料示意 来源:RHEINZINK
②、板材
外形扁平,宽厚比大,单位体积的表面积也很大的钛锌板,多为矩形或板材经加工折边后的形态。

材料示意

材料示意
③、片材
多指单片表面积相对较小的钛锌板,有方形、矩形、菱形和平行四边形等带折边的类型。

方矩形、方形、菱形、平行四边形片材示意 来源:RHEINZINK
2、材料颜色
钛锌板根据颜色的不同,通常可以分为原色(天然钝化)和预钝化色两类。
①、原色(天然钝化 )
酸洗后的钛锌板,表面会形成蓝灰色或者石墨灰的碱式碳酸锌层。使其接近自然环境中的氧化状况,并通过预处理而加速了氧化,呈现出接近天然氧化效果的色泽。

材料示意
②、预钝化色
表面非涂漆,而是通过在钝化层中添加少量的矿物颜料形成的。
所谓预钝化,并非表面涂漆,而是模拟天然钝化过程,在金属表面发生耐久的化学变化,经过预钝化处理,表面形成保护膜。

常见的颜色偏绿、红、蓝、棕、黑色系。特别是随着光线变化,会显出不同颜色,给人以奇妙的视觉美感。


材料示意
- 03 -
施工工艺
Technic
1、表面处理工艺
钛锌板的表面处理工艺简单来说分为两种:酸洗与磷化。
酸洗工艺:
钛锌板表面通过硫酸和硝酸的稀释混合物处理,形成一层近似天然的钝化层。之后在表面附着一层透明有机薄膜,以便运输和储存期间对材料表面形成保护。来源材料公社 磷化工艺:
磷化过程通过在面板表面上形成微溶的磷酸盐层,在莱茵辛克生产工艺中,磷化池中存在所有必需的组分,磷酸盐阴离子以及金属阳离子进行反应。根据预处理的不同,可以产生出或浅或深的表面颜色。
2、施工工艺
钛锌板施工工艺多样,通常以系统方式呈现,主要可分为屋面系统和墙面系统两大类。
最常用的几种施工工艺有:直立锁边双咬合系统、直立锁边单咬合系统、平锁扣系统、扣盖系统、搭叠板系统等等。
(1)屋面系统可以分为:直立锁边系列、平锁扣系统、扣盖系统、阶梯系统。

屋面系统 图片来源:上海优立特建筑
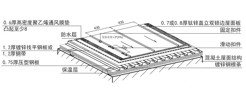
①、直立锁边系统
此系统为传统钛锌板安装系统,采用单锁或双锁重叠后立边,通常屋面用双锁边。
施工流程
①前期准备、测量放线;②安装镀锌钢檩条;③铺设保温层;④安装压型钢板支撑层;⑤安装镀锌钢板找平层;⑥安装山墙及檐口附件(若没有山墙或檐口可取消此项);⑦铺设防水层;⑧铺设通风膜空气垫层;⑨安装钛锌板屋面板及扣件;⑩修边收边收口、清洁整理。


图片来源:VMZNIC
适用范围
①适合于大面积的屋面以及恶劣气候地区的建筑,比如经常遭受强风、暴雨和降雪的地区(山区或大陆性气候)
②适用于所有造型屋面,如平面、曲面、内凹、外凹、圆锥、球形和双曲面等
③屋面坡度需≥5%(即3º)
②、平锁扣系统
此系统将板材的四边采用简单的折边相互咬合,使用隐蔽式的扣件及螺丝安装。
施工流程
①前期准备、测量放线;②安装镀锌钢檩条;③铺设保温层;④安装压型钢板支撑层;⑤安装镀锌钢板找平层;⑥安装山墙及檐口附件(若没有山墙或檐口可取消此项);⑦铺设防水层;⑧铺设通风降噪网;⑨安装钛锌板屋面板及扣件;⑩修边收边收口、清洁整理。


图片来源:VMZNIC
适用范围
①适合于平面或曲面造型屋面
②屋面坡度≥60%(即30º)
(2)墙面系统可以分为:直立锁边系统、平锁扣系统、内锁扣系统、搭叠板系统、波纹板系统、盒形板系统。

墙面系统 图片来源:上海优立特建筑
①、直立锁边系统
此系统为传统钛锌板安装系统,采用单锁或双锁重叠后立边,通常墙面用单锁边。
施工流程
①前期准备、测量放线;②安装镀锌钢龙骨;③铺设保温层;④安装压型钢板支撑层;⑤安装镀锌钢板找平层;⑥铺设防水层;⑦铺设通风降噪网;⑧安装钛锌板墙面板及扣件;⑨修边收边收口、清洁整理。


图片来源:VMZNIC
适用范围
①适合于恶劣气候地区的建筑外墙,比如经常遭受强风、暴雨和降雪的地区(山区或大陆性气候)
②适用于所有造型立面,如平面、曲面、内凹、外凹、圆锥、球形和双曲面等
工艺特点
①较低的立边高度,使屋面和墙面呈现出独特的统一方向的韵律感和现代感。
②在处理更加复杂的立面设计时表现出更先进的技术优势
③多变性和安全性适合多种建筑设计要求 来源材料公社
④安装技术成熟,易操作
②、平锁扣系统
此系统将板材的四边采用简单的折边相互咬合,使用隐蔽式的扣件及螺丝安装。
施工流程
①前期准备、测量放线;②安装镀锌钢龙骨;③铺设保温层;④安装压型钢板支撑层;⑤安装镀锌钢板找平层;⑥铺设防水层;⑦铺设通风降噪网;⑧安装钛锌板墙面板及扣件;⑨修边收边收口、清洁整理。


图片来源:VMZNIC
适用范围
适合于平面或曲面造型墙面
③、内锁扣系统
此系统是开放式幕墙体系,墙板用隐蔽式扣件及螺丝安装于框架结构上。
施工流程
①前期准备;②测量放线;③安装主龙骨(镀锌钢龙骨或铝龙骨);④铺设保温层;⑤铺设防水层;⑥安装次龙骨(镀锌钢龙骨或铝龙骨);⑦安装钛锌板墙面板及扣件;⑧修边收边收口及嵌缝处理;⑨清洁整理。来源材料公社


图片来源:VMZNIC
适用范围
适合于平面造型墙面
④、搭叠板系统
常用厚度:0.8mm、1.0mm、1.2mm;
常用宽度:200mm、225mm、250mm、300mm、333mm;
立边高度:40mm
优 点:排水效果好、成型能力佳


示意图
⑤、波纹板系统
常用厚度:0.7mm、0.8mm、1.0mm;
常用宽度:780mm、825mm;
接缝深度:18mm,35mm;
优 点:安装简便、铺设方向灵活、适合大面积使用。


示意图
- 04 -
应用案例
Application case
钛锌板主要应用于建筑的屋面系统、幕墙系统、室内装饰等方面。
①、屋面应用
屋面材料选用钛锌板,才能实现屋面曲线自然平滑,造型灵动轻盈的效果。
苏州中国铁建·拙政江南,屋面沿袭苏式小青瓦的美学形式,在材料上,则采用德国进口钛锌板屋面,这种新材料轻质、耐久、具有自我修复能力,即使经历百年风霜,依旧历久弥新。

郑州永威上和院屋面材料采用德国进口钛锌板,亚光金属本色,完全保留了金属材料天然的纹理和质感;绿色环保,依靠本身形成的碳酸锌保护层保护,可防止面层进一步腐蚀,无须涂漆保护;板材具良好的延伸率和抗拉强度,可塑性好。

郑州永威上和院 实景图
苏州·姑苏雅集在屋面形态的塑造上,为了追求轻盈飘逸的韵味,放弃传统屋面材料——瓦的使用,创新大胆地尝试了钛锌板这种材料。来源材料公社


钛锌板系统屋面,不仅在造型上完美体现了设计的意图,而且,相比于传统瓦屋面工艺而言,钛锌板系统屋面所采用的直立锁边系统的施工工艺也带来了更为优秀的防水保温性能,无论是在造型还是实用价值方面都展现了一个现代建筑应有的品质。

图片由业主提供,摄影:徐波

钛锌板直立锁边系统
宁波万科白石湖东社区中心,直立锁扣的钛锌板坡屋面。


坡屋顶构造大样


重庆万科翡翠公园 建筑摄影丨行知影像
成都兴隆湖中信书店建筑表皮采用进口钛锌板,板面以平锁扣形式排布,形成独特的“鱼鳞形”肌理,与波光粼粼的水面相得益彰。钛锌板的建筑肌理,也呼应了川西传统坡屋顶建筑的“瓦屋面”形式。来源材料公社

摄影:存在建筑Arch-Exist、形在摄影Here Space、Luyun
眉山市老峨山游客中心及停车场层叠的灰色钛锌板屋面创造出影影绰绰的弧度美感。


摄影:徐英达
苏州旭辉雁归来院设计亦选用了深灰色钛锌板屋面。

建筑摄影丨寻美摄影
常州新城璞樾春秋钛锌板屋面典雅美观,屋面线条纤细,不影响屋面的设计效果,整体结构简洁轻巧,在台风暴雨地区尤其适用,并且安装灵活精确、快速安全。

空间摄影:筑作视觉

屋面节点
②、幕墙应用
山西大同体育中心所有4个主体建筑的外表面均选用VMZINC烟雾蓝钛锌板(Pigmento Blue)制作的钛锌蜂窝板,这是充分考虑到大同“夏季长而干燥、冬季尤为寒冷”的气候条件,同时为了尽可能减少日常维护的用水,优选能够最大程度进行自我清洗的材料。同时,这些粗犷、具有自然风貌气息、坚实的材质,放在观众和游客能站在地面就触摸到的地方,增强了其感观体验。来源材料公社

© 张阳
格拉斯哥河岸运输博物馆,这个耗资7400万英镑的巨大工程,包括了2500 多吨的钢结构、重185吨的24000块锌板、最多有3000名工人同时工作。

重庆绿地海外滩项目体验中心,一层被设计成玻璃盒的形式,质朴且坚固。二层面对大山的一侧采用拉伸的三角形状,形成了起伏的轮廓线,与大山的轮廓互为呼应。此外,厚重的灰色锌板外覆层使建筑与城市融为一体。

摄影师:Shu He Photography
长春长拖1958•铸光仓厂房旧改项目,南立面大面积玻璃幕墙,结合银灰色钛锌板,呈现工业感与文艺气质相结合的界面。入口,阳台以及项目标志--都以灰色钛锌板为统一材料,展示新旧叠加对比。

南立面夜景 © 金伟琦
③、室内应用
上海黄浦中心公共空间改造项目,墙面采用钢结构覆盖钛锌板。


黄浦中心公共空间,钛锌板覆盖的墙体 摄影版权:梁山
- 05 -
材料造价
Price
钛锌板材料主要依赖进口;有法国锌、荷兰锌、秘鲁锌、德国锌、西班牙锌等,主要受尺寸、颜色、厚度、品牌等因素的影响,折合板材单价在600-1000元/㎡。考虑不同安装系统差别,以及各地人工差异,综合价格大概在1000-1500元/㎡。
(以上价格仅为市场普通中端价格,材料价格根据其不同项目,不同品牌,以及定制等多方原因会有较大浮动,仅供参考。)来源材料公社
结语:
随着建筑行业的崛起,钛锌板越来越受到人们的关注,它优雅、冷峻,拥有独特、超强的产品力,创造了独特的立面美感。