从佳能专利看佳能堆叠式传感器专利的强悍性能。佳能这个堆叠式传感器是由几个传感器专利组成的,其中包括双像素的专利,全局快门专利 ,堆叠式专利,有机薄膜光电传感器专利。
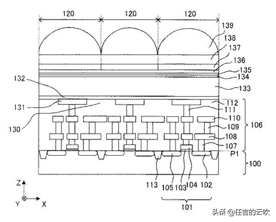
一、双像素专利号2021-166345

这是一款双像素 AF 堆叠传感器,从传感器结构可以看到,每个像素由2个光电转换器组成。佳能提出一种减少每个双像素对 AD 电路数量的方法的专利。该专利申请描述了一种“近”全局快门传感器,没有电荷保持电路。也就是拥有的读出 ADC 越多,可以同时读取传感器的次数越多。在这种情况下,佳能可以使用 2 个 ADC 读取 3 个像素。
二、全局快门双增益传感器专利号: 2021-166369

这个专利是全局快门传感器。每个像素分为两个高灵敏度像素和一个低灵敏度像素。虽然没有专利中没有提到具体的动态范围,但这将是这种传感器的一个的增强的功能。事实上,佳能正在寻求通过减少电荷转移(当全局快门将电荷从光电二极管移动到存储时)引起的变化来改善图像捕获。
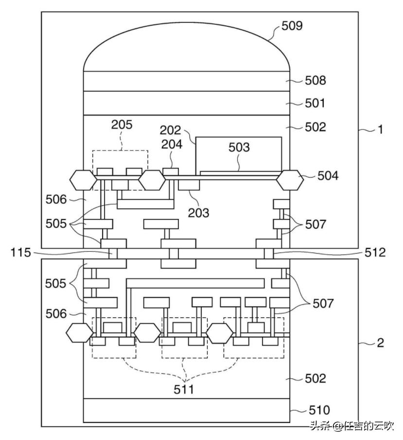
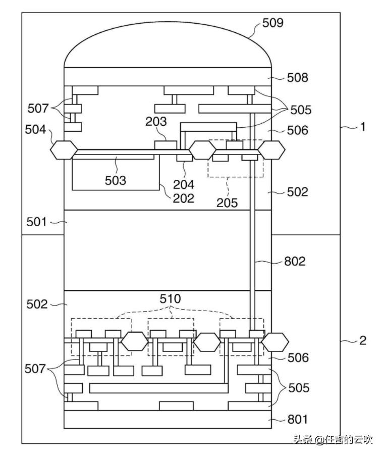
三、堆叠式传感器专利号:2021-166395

双层堆叠
该专利申请描述了两种堆叠式传感器实施方案,在每个像素处都有焊盘,用于处理从光电二极管层到处理层的模拟信息传输。上面的图片展示了 2 层的堆叠结构方案,还可以采用最多 3 层的实施例,增加的第三层可以为额外的 AF 处理和/或内存提供电路的安装基板。

三层堆叠
本专利申请的总体思路是提供一种成本尽可能低的高性能传感器。堆叠式传感器,可以将每个像素点的光电信号及时传输给数模转换AD电路,并进行暂存和输出。
四、有机薄膜量子光电传感器专利号:2021-166242

该专利展示了一种使用量子点和有机薄膜进行光捕获的传感器。通过这项专利申请将传感器cmos的技术水准向前推进 20 年; 量子点正在寻求取代 CMOS“光电二极管”作为光捕获。在 IEEE上有一篇关于该技术的分析文章。佳能正在考虑抑制转换产生的残像,并提高传感器的耐热性。
从以上的一系列专利我们可以看出,佳能在传感器的技术上积淀了雄厚的技术实力。并且在第四个量子光电传感器的技术上,远远超越同行。
本文并不是技术论文,只是大概揭示了佳能的cmos技术运用的这几个专利。一台相机要想领先,首先就是传感器cmos的技术领先,你说不是吗?