
(1)如何选用摇表:
摇表是测量电气设备的绝缘电阻的。摇表的额定电压应根据被测电气设备的额定电压来选择,低压设备可选用500V或1000V的摇表(摇表电压过高,可能在测试中损坏设备绝缘),高压设备选用2500V的摇表。
(2)摇表使用时的注意事项:
① 为了保证安全,首先严禁设备或线路在通电情况下,测量其绝缘电阻,对具有电容设备、较长的线路或大电感电路在停电后,须充分的放电后才可测量。测量后,也要及时放电。
② 使用摇表前的检查:使用前应检查摇表是不是完好,并进行开路、短路实验。先将摇表的端钮开路,摇动手柄达到发电机的额定转速约120转/分,观察指针是否指“∞”;然后将“地”(E)和线(L)端短接,轻轻摇动手柄,观察指针是否指“0”。如果指针指示不对.则需调修后再使用。
③ 引线的要求:引线不能使用双股并行导线或绞合导线,应使用单股绝缘良好的软铜线,长度一般不超过5m。(一般用随表带引线)
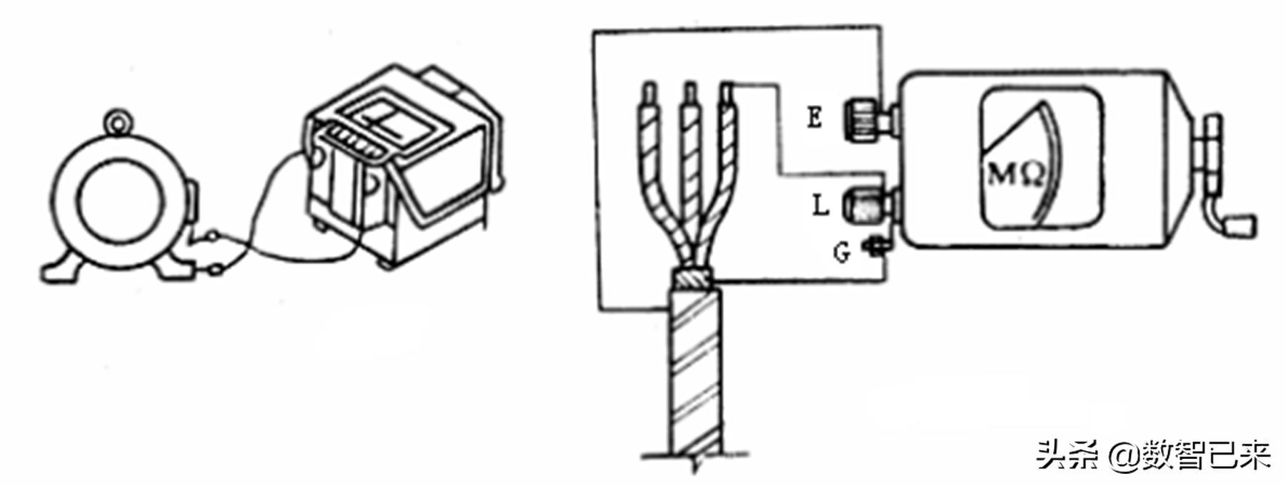
④ 接线方法:接线必须正确无误,如下图1-33摇表有三个接线柱“E”(地)、“L”(线路)、“G”(保护环或屏蔽端)。在测电气设备内两绕组之间的绝缘电阻时,将“L”和“E”分别接两绕组的接线端。在测量电气设备导电部分的对地绝缘电阻时,“L”接电气设备的导电部分,“E”接外壳。当测量电缆的绝缘时,为了消除因表面漏电产生的误差,“L”接线芯、“E”接外壳、“G”接线芯和外壳之间的绝缘层。

图摇表的接线方法
⑤ 手摇发电机的操作:在测量开始时,手柄的摇动应该慢些,以防止被测绝缘已损坏出现短路而损坏摇表。在测量时,手柄转速应为120转/分,允许有±20%的变化,最高不要超过25%。
(3)如何摇测大容量设备,如何摇测吸收比,如何正确读出数值:
摇测大容量设备时,应有一段充电时间,设备的容量愈大,充电时间应长些,一般以摇动摇柄1分钟后指针稳定后再读数。读数后还应继续摇动手柄,将引线拆下后方可停止摇动,并使被测设备短路放电。
摇测大容量电气设备的吸收比时,其方法与摇测绝缘电阻一样,应将摇测60秒钟的读数与摇测15秒钟的读数相比,若大于或等于1.3时,方为合格。
(4)使用摇表测线路或设备时,规程上有什么规定:
① 使用摇表测量高压设备及分布电容大的设备绝缘应由两人担任。
② 测量用的绝缘导线端部后应有绝缘套
③ 测量设备绝缘电阻应确实证明设备无人工作后方可进行。
④ 在有感应电压的线路上测量绝缘电阻时,必须将另一回路同时停电,方可进行。雷电时,严禁测量外线路绝缘。
⑤ 在带电设备附近测量绝缘电阻时,应与带电设备保持安全距离,移动引线时,必须注意监护,防止工作人员触电。