从研发支出看企业,能看出什么?
此前 犀牛之星研究院 曾在北交所内以企业的研发支出分档,细数出板块内最舍得花钱的企业有哪些,为选股重视这部分数据的投资者提供过参考。
统计上比较笼统,今天我们更新一下思路,在研发支出上再深挖,以企业研发支出投入后的研发预期情况为重点,在新三板内展开讨论,哪些医药股值得留意?哪些需要避雷?

行业特性鲜明,半数企业仍处亏损状态
根据 犀牛之星研究院 的不完全统计,新三板内经营范围包含了药物研究开发的企业共计80家,数量不多。
基于行业的烧钱的特性,本次讨论重点主要将集中在市值排名较前的企业,80家企业中累计的增发募资累计金额超过1亿且的有以下企业:

接近一半的企业都是营收不增利,很符合医药企业十年磨一剑,出鞘方见血的调性,砸钱费时间只是入门槛,最后能不能真的达预期,还有很多未知数。
其中,研发累计投入的高低,揭示的是企业研发层面的重视和积累,在这部分数据的列示总结,显然具备颇有意义的参考价值。
从上市以来累计的研发投入上看,3亿以上有两家,1亿以上的有3家,篇幅有限,本次讨论就集中在这个5家企业之中。
研发投入第一层:长期投入未见进度、踩雷概率高
圣兆药物(832586)和翔宇药业(832276)投入最高,累计研发支支出都在3亿以上,两家企业同年2015年就在新三板挂牌, 但其中募资的情况差距较大,圣兆药物募资接近9亿,比翔宇药业高了将近3倍。
翻开财报看着两家企业。
翔宇药业 从事现代中药和西药的研发、生产和销售,重点开发妇幼中药系列产品。主导产品有复方红衣补血口服液、复方益母胶囊、蒲苓盆炎康颗粒等中成药,以及布洛芬混悬口服液、塞克哨唑胶囊等西药。
公司整体业绩和关注度都不甚理想,今年3月2日还因30个交易日内做市商都不足2家被停牌,交易方式变更为集合竞价交易,交易可以说是非常冷清,目前最新市值为 5.04亿元。
综合来看,目前处于创新层,暂无在其他板块上市的公告,公司挂牌后一直没什么大动作,去年半年报营收2.63个亿,利润率为41.6%,走的是比较稳健经营的路子,不炒作不激进,踩雷的可能性很小。
圣兆药业 主耕高端仿制药,公司立足长效缓释制剂和靶向制剂两大创新制剂领域,专注于以微球、微晶、脂质体和缓释植入剂为核心的高端复杂注射剂的开发及产业化。
本身仿制药研发就属于预期分歧比较大的领域,圣兆药业除了药物研发预期有争议以外,问题还有很多。
首先是近期更换辅导上市券商的事, 公司于2020年3月6日启动精选层筹备工作,但是直到2021年12月23日才与中金签辅导协议,辅导至今年3月传来终止上市的消息,本以为是转换赛道准备上科创板,结果是换机构不换地点,把原本的头部券商中金换成了东吴,却也没有说明原因。
很难不让人遐想中间是哪方出现了无法调和的问题,才会在已经辅导了快一年的情况下一拍两散。

再比如才刚开展辅导还没获受理,就预先公布新股发行底价, 底价还比现价要高40%~50%以上,这不是摆明了和投资者说快先来新三板炒作,我们的价格操作空间还很大的意思吗?联想前面看企业的多轮募资,是不是存在老股东们等不及,想先割一波韭菜,又怕要出货没人接盘的可能,才搞了这些操作?
但这还不是最大的问题,前面还能说是企业骚操作还只是擦边性质行为,下面这些说的才是实打实的性质严重且涉及财务违规。
实控人多次利用关联交易占用企业资金,三年悄悄顺走了三千多万!
2017至2020年间,根据圣兆药业的公告显示,旗下的全资子公司吉林万汇生物科技有限公司、控股子公司浙江鼎兆医药有限公司曾多次从实际控制人陈贇俊控制的宁波嘉运宏开医疗器械有限公司、宁波洛亨医药科技有限公司、策祁国际贸易(上海)有限公司等3家关联公司处采购生物活性粉、压针机等原材料及医疗器械。
整个采购金额为3780.60万元,但是实际上,采购的价值仅为449.45万元,两者之间的差额为3331.15万元。
这么多次关联交易没被发现,是因为企业压根没有按规定履行审议程序和信息披露义务......
最后从产品前景方面看, 圣兆药物主要做的是缓控释制剂(微球)、载体药物(脂微球)、纳米粒三个布局的领域,都有非常激烈的竞争,竞争对手实力非常强大,不管在研发还是在销售方面圣兆药物都很难与之匹敌。
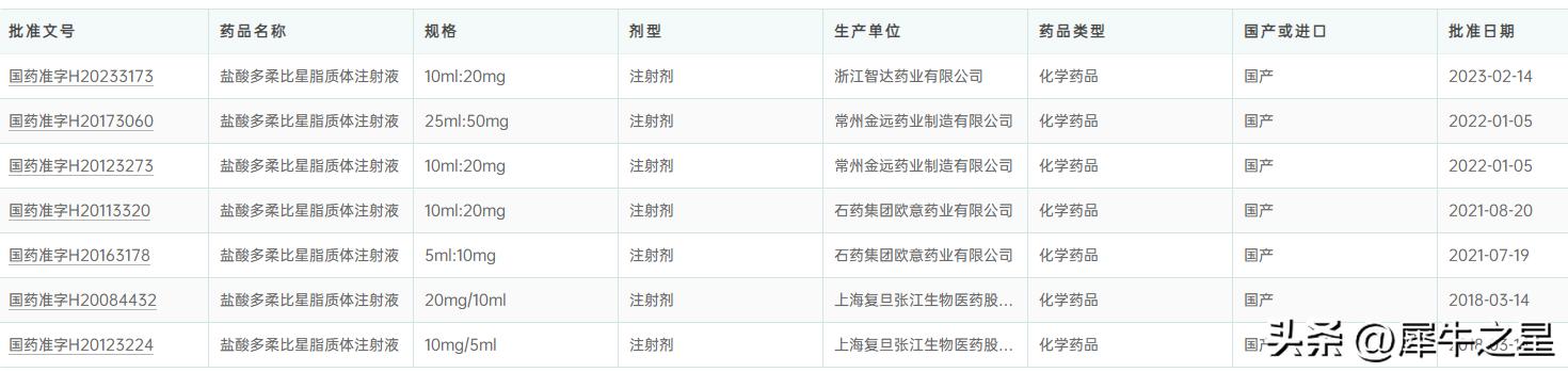
比如今年圣兆公告中在研项目中,进度最快的盐酸多柔比星脂质体注射液,说预计将在今年5、6月份能拿到上市批文。
但根据犀牛之星研究院在药物网上的查询,这个产品最早的在18年就研发出来,别人已经销售好几年年了,圣兆却还没上市。

并且同期申报临床试验也还有六七家公司,即便真的如预期获批,前后都有追兵,吃肉基本不可能,喝口汤可能都得抢的头破血流。

综合来看,圣兆药物虽然处于规模巨大的仿制药赛道,但研发进度比同行业落后缓慢,市场占领份额本身就没什么空间,加上实控人的多次挪用企业资金的调性、价格又在新三板内反复炒作,水分极高。
研发投入第二层:预期落地后的IPO机会
累计的研发投入超过1亿这一层级的企业的有海融医药(870070)、合佳医药(838641)、威门药业(430369)三家企业。
从企业各自所处的领域看,海融医药走防创结合的路径、合佳医药主攻头孢类抗生素、威门药业发力中医药类,三家公司都曾有北交所IPO计划,但目前只剩海融医药一家在冲刺北交所。
海融医药 专注于创新药、改良型新药、高端仿制药物研发、生产、销售的高新技术企业。2022研发费用3346.71万元,同比增长22.56%,研发投入创新高。
目前拥有30余个处于不同阶段的研发管线,其中创新药与改良型新药占比50%以上,随着新药管线的进展加快,海融医药的创新价值将逐渐突显。
虽然创新能力不俗,但总所周知创新药研发极烧钱,亏损以亿计,需要持续的融资输血,对于海融医药而言,目前最大的压力是能否尽快推进在研产品落地进入市场销售,缓解现金流紧张的局面,同时也能反哺其它产品管线的研发支出。
就近期的产品研发进度和首仿产品投产情况看,海融医药的进度基本是符预期的。

从企业动态看, 近期海融医药先后向科创板瑞联新材(688550)、阳光诺和(688621)定向增发股票,公告中显示增发目的是为了于企业之间在创新药研发产业链上的强强联合,在创新药、高端仿制药原料药工艺研究及生产相关领域开展全面的深入合作,加快药品研发及产业化进程。
综合来看,虽然创新药类的企业估值不好给,但结合目前产品研发推动进度、企业联合先关产业企业的战略规划、创新药业在国内的广阔前景,海融医药为来业绩成长的空间和概率较高,值得持续关注。
合佳医药 和北交所的渊源是在北交所还叫精选层的时期,但当时也处于某些原因主动撤回了申请,目前暂时没什么新动作,没有亮眼优势或明显问题,关注度必要性极低。
威门药业 则是在这个月23日终止撤回了在北交所的上市申请,变心的原因有可能是企业变强了,预备转换赛场冲刺沪深,也有可能是公司内控与财务规范存在硬伤,在回复北交所上市一轮问询后便撤了材料。
威门药业拥有药品批准文号共20个,其中处方药品种13个(独家剂型2个),非处方药(OTC)品种7个。
但从产品结构来看,热淋清颗粒是公司收入占比最高的核心产品,收入占比分别为89.57%、80.76%、81.16%和74.83%。该产品分为无蔗糖和含糖型,报告期内,公司来自热淋清颗粒(无蔗糖)的收入占该产品收入的比例超九成。
据介绍,热淋清颗粒系独家剂型,属于医保乙类目录用药,在泌尿系统中药市场建立了较强的竞争优势和品牌价值,销售额稳居前列。依据米内网数据,2016年-2020年连续五年在全国尿路感染用药市场、泌尿系统感染中成药市场份额中位居前三。

营收产品结构明晃晃的单一,且近三年该产品收入涨幅极小 ,期外2017年、2018年分别为3.44亿元、3.62亿元,而到了2022年上半年仅1.41亿元,未来是否将面临主力产品增长乏力的困境?
另外,金钱胆通颗粒虽然收入在逐年增加,但是否能作为第二增长点还是未知数。
且值得注意的是,威门药业共计6轮融资中,最后一次融资在2017年9月的定增,就是在这轮上市前的最后一轮定增中,参与了B轮融资的投资机构九鼎投资选择清仓退出,招股书给出的原因是九鼎医药转让股权出于投资战略调整。
综合来看威门药业,所处的中医药业在国内有政策红利,前景颇佳,企业基本面的营收和净利稳定,但产品结构单一,营收增长乏力,有下滑的风险,涉及九鼎投资的事件也可能存在上市硬伤。
结语
研发型的医药企业,向来有着高投入高收益的特点,预期一朝实现,就能给等待的投资者带来丰厚的回报。
但相对对应的,投资风险也比较高,这也是为什么医药特别是创新药企业容易出现极端的市场分化,近期上市的康乐卫士(833575)就是颇为典型的例子,卡在产品是否能在预期时间点上市以及同行研发进度之间。
研发投入,也只是一个参考维度,比如上述讨论中,研发投入最高的两家企业综合分析下来,并不是最值得关注,反而雷区一堆。
在全面注册制时代,也越来越考验投资者多维度投研选股的能力了。