直销邦讯 近日直销邦获悉,有消息称,湖南海济集团收购了广州德家日用品有限公司(以下简称“德家”)。那具体的情况究竟如何?

一亿元收购?
提到海济,被业内所熟知的就是曾为 46家申牌受理公示企业之一 的 湖南海济生物科技有限公司 ,该公司成立于2002年5月17日,法定代表人为刘长春(大股东,持有90%的股份),注册资本为9009万元人民币。其于2015年10月在商务部直销行业管理系统上发布了申请直销声明,商务部公布其受理公示日期为2017年6月。

值得注意的是,如今在湖南海济生物科技有限公司任职监事的王鑫晟,则是广州德家日用品有限公司的法定代表人。 2021年11月,德家的法定代表人由原来的谢淑毅,变更为王鑫晟。


资料显示,2017年3月,广州德家日用品有限公司拿到了国内第90张直销牌照,但是在商务部直销行业管理信息系统中却始终未正式公示。
目前德家仍由香港企业盈丰商贸有限公司全资控股。

早在2020年,就有媒体爆料,德家在2019年年底就被湖南海济集团花了一亿元“收购”,收购资产包括德家在广东的工厂以及直销牌照。 该消息尚未得到双方的公开确认。
小程序改名、商标转让……合作加速?
另,直销邦查询得知,由 湖南药妆生物科技有限公司 认证注册的小程序“药妆MALL购”,在2021年9月将认证名称变更为“德家优品”,不过其主体信息未作改变。

湖南药妆生物科技有限公司由 湖南海济实业集团有限公司 控股51%,而湖南海济实业集团有限公司的两大股东,又正是刘长春和王鑫晟这两位在海济与德家合作中占重要地位的人士。

刘长春控股的企业

直接控股:湖南海济生物科技有限公司90%,湖南海济实业集团有限公司95%
间接控股:湖南药妆生物科技有限公司


王鑫晟控股及任职的企业

这起合作中还涉及一个重要主体,就是 湖南海济生物工程有限公司 ,该公司已于2022年4月12日被注销,原因是决议解散。
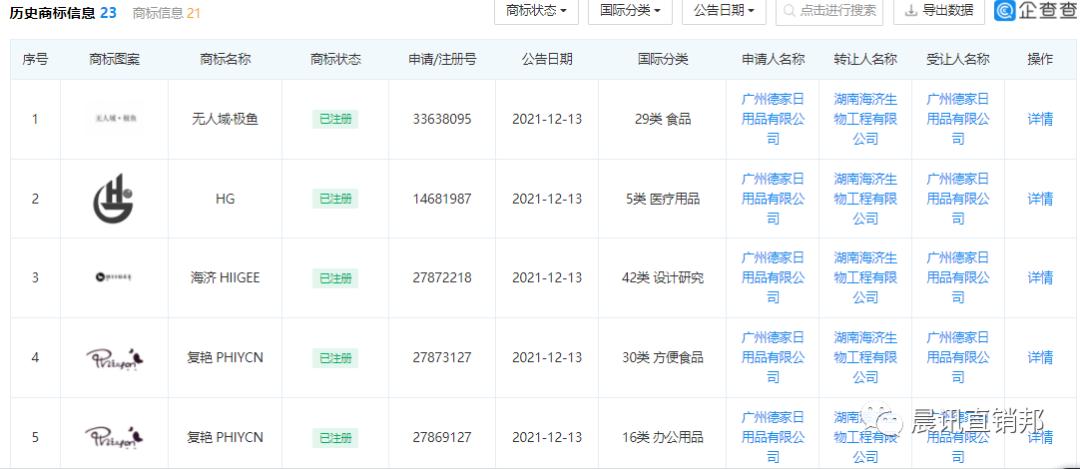
直销邦发现,在湖南海济生物工程有限公司的历史商标信息中,在2021年年底,该公司就将旗下23个已注册的商标转让给了德家。

由此可见,事实上海济与德家在为推进双方的合作,已经陆续做了大量的准备工作。
46家企业纷纷“退订”,直销牌照还有魅力吗?
受权健事件影响,2019年2月,商务部表示暂停直销的审批备案工作,商务部直销行业管理网站“受理公示”一栏的46家受理公示企业名单集体“下架”。同年4月商务部市场秩序司下发通知,要求地方商务厅(局)做好申请直销经营企业后续工作,要求地方商务厅(局)动员本地内资申牌企业主动撤回直销申请,取回保证金。通知还透露,商务部即将出台新的《直销经营许可管理办法》。待《办法》出台后,再通知这些企业重新申报。

直到现在,《办法》还未出台,行业的主管部门也一变再变,牌照审批一直处于停滞中。
2019年11月,商务部内设机构曾出现变动,“直销行业管理”被划归到市场体系建设司,并新增了“自贸区港司”。同时,此前原本负责直销管理及内资直销企业的市场准入的“市场秩序司”已不在内设机构名单内。
2020年4月,“直销行业管理”被划归到商务部市场运行和消费促进司。《直销企业及其分支机构设立和变更行政许可事项服务指南》也于同月更新,发布机构是商务部市场运行和消费促进司。
在市场低迷、局势不明朗的近两年,挂靠、借壳申牌的事情时有发生,虽然国内的直销企业没有太大的信心,但一些国外的直销企业却想着趁机抄底入局。前有某直销企业“*身卖**”被官方叫停,再有2021年10月市场监管总局下发通知,启动直销企业“挂牌”核查,点名重点核查4家企业。

一边是一些拿牌的中小企业苦无经营之法,只能“抱牌兴叹”;一边是直销监管前端的不明朗,仍不断施压,监管、企业、市场尚未得到一个很好的衔接点 ,让直销实现又好又快发展,起到它在消费流通中应该起到的作用。这或许需要更加清晰明确的监管政策出台才能得以解决。
至于直销牌照的魅力,从之前的迹象,还有现在海济与德家的动作来看,想必大家心里都有了答案。
海济与德家接下来还会有哪些进展,直销邦将持续跟踪报道,敬请关注!