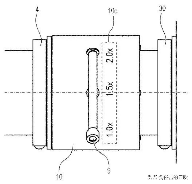
佳能1.0倍-1.5倍-2.0倍倍率可变增距镜专利。专利号为:(2020-197580)

佳能公司于 2020年12月11日发布了新的可变焦增距镜头的专利。佳能公司在新闻中介绍了佳能可变焦增距镜的专利,其放大倍数可从1.0倍到2.0倍不等。
它通过杠杆操作将放大倍数切换为1.0倍、1.5倍和2.0倍。 从便利性和耐候性的角度来看,这有很大的潜力,因为在使用远程控制器时不需要频繁的拆卸镜头。
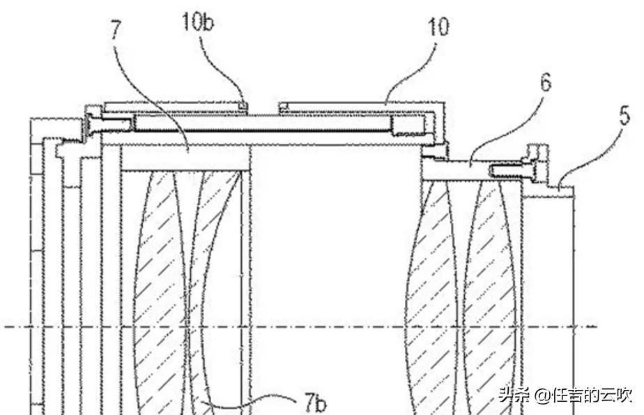
此外,与其他佳能增距镜不同,这款可变焦增距镜的镜片都设计在增距镜的镜筒内。同时这个可变焦增距镜设计为佳能的全画幅微单相机的RF卡口, 因此这个增距镜可以安装在任何佳能镜头上,包括安装在最新的佳能RF100-500mm 镜头上。


可变焦增距镜是一个非常有趣的想法,如果商业化,它应该会引更多的摄影人的关注。 有了这个可变焦增距镜,你可以使用它把单焦镜头,变成一个变焦镜头。同时由于这个可变焦增距镜的不像传统的单一增距镜的镜片是突出在镜筒的外面,导致有些镜头后镜片比较靠外的镜头,无法使用增距镜。而这个变焦增距镜则可以转接任何佳能卡口的镜头,如 RF70-200mm f/2.8L 或 RF70-200mm f/4L。
当然增加了可变焦增距镜,理论上成像素质会有所下降,但是目前还没有具体参数可以了解到使用了可变焦的增距镜会使镜头素质下降多少。但是有了这样一个增距镜,在一般的情况下,可以让大光圈的定焦镜头变成了一个超大光圈的变焦镜头。比如一只50mm/F1.2的定焦镜头通过这个可变焦增距镜,变为50-100/1.2-2.4的一只变焦镜头。这样的镜头既可以保持最大的光圈,又可以有一定的焦段的延伸。特别对一些长焦定焦镜头来说,用处可能更大,因为长焦镜头大多拍摄野生动物或者鸟类,这些场景,如果只使用定焦镜头,有可能让构图显得相对比较空旷,后期需要大量的裁切,而使用了这样的变焦增距镜后,长焦的定焦镜头就变成了长焦的变焦镜头,增加了镜头的焦距,比如800mm的镜头就可以变为800-1600mm的镜头。这样更有利于构图,可以让小动物和鸟类充满画面。
希望更多的相机厂商,像尼康,索尼等,也像佳能一样,能为摄影师们提供更富创意的产品。