昨天说了首都经济贸易大学,今天当然要说说另外一所备受关注的首都财经高校——北京工商大学。
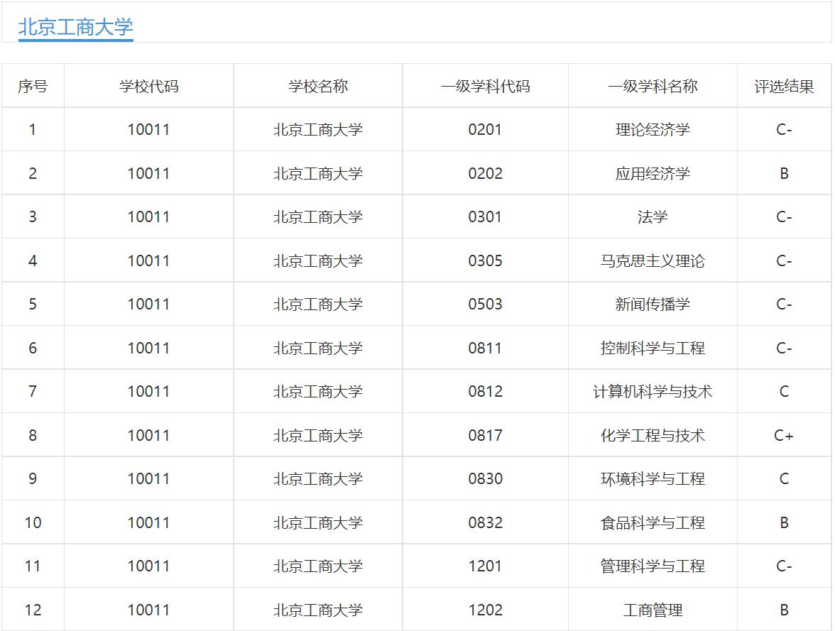
很多人会问,小编为什么说北京工商大学算得上一所财经类高校,但后面又说商科、轻工和食品是特色呢?小编的依据,主要是北京工商大学的学科布局情况:在第四轮学科评估中,该校共有14个一级学科参评,12个学科进入公布名单。应用经济学、食品科学与工程、工商管理3个学科进入B档;化学工程与技术进入C+档;计算机科学与技术、环境科学与工程进入C档;理论经济学、法学、马克思主义理论、新闻传播学、控制科学与工程、管理科学与工程6个学科进入C-档。

对高校学科稍有了解的朋友会发现,北京工商大学上榜的12个学科中,工学有5个一级学科上榜,而我们常说的财经类学科其实就是经济学和管理学,该校分别上榜2个学科。上榜学科多少,固然与学科自身大小有关,比如工学有几十个一级学科,而经济学、管理学一级学科相对较少,这也是事实。

但是,作为一所大家印象中的财经类高校,居然有5个工学学科上榜,说明北京工商大学可以被列为财经类高校,但作为“工”“商”大学可能更合适一些。
今天的学科格局,主要还是昔日的历史积淀
除了财经类学科或者高大上一些商科,为什么轻工和食品也是北京工商大学的优势特色学科专业呢?其实,这都是学校自身的发展基础决定的。

我们今天所熟知的北京工商大学,成立时间比较晚,那是1999年的事情了。在那一年,曾经小有名气的北京轻工业学院、北京商学院,与主管部门已经不存在的机械工业管理干部学院合并,组建了北京工商大学。

除了机械工业管理干部学院历史相对简单,说白了就是一个培训学院,捎带着培养一些全日制毕业生外,另外两所高校当时还是有一些明企鹅的。
北京轻工业学院,曾经是国内轻工业高等教育的领衔高校之一,可惜在1970年迁入陕西省咸阳市,发展成为如今的陕西科技大学。与很多当时外迁的高校一样,1978年在北京原址重建北京轻工业学院。今天,我们可以说,北京工商大学的轻工、食品特色,可能主要来自于北京轻工业学院打下的底子。

北京商学院,则是新中国成立最早的商科学校,是全国首批硕士学位授予单位,先后隶属于商业部、国内贸易部。不用怀疑,北京工商大学的商科基础,主要来自于北京商学院。
对于我们普通人来说,可能由于“工商”二字就是“财经”的另一种说法而已,所以很多人并没有注意到该校的工学特色学科专业。这也是小编想告诉大家的第一点,北京工商大学绝非单纯的财经类高校,轻工、食品特色学科专业在国内也有一定地位。

不信,我们可以看到这样的消息:2022年7月14日,北京工商大学工程(Engineering)学科首次跻身ESI全球排名前1%,是该校继2019年农业科学学科,2021年化学学科先后进入ESI前1%之后,成为我校第三个进入ESI前1%的学科。
其他的财经类高校,可能很少有这样的成绩吧?
国家级一流本科专业建设点23个,市级一流本科专业建设点23个,是大家选择的重点
对于广大高考考生而言,城市和学校很重要,具体学习什么专业同样重要。下面,我们接着说该如何选择专业的问题。上面已经提到了这是一所“工”“商”融合的高校,所以眼睛不要只盯着商科也就是经济学、管理学专业。

从2020—2021学年本科教学质量报告可以看出,北京工商大学现有本科专业 61 个,其中工学专业 22 个占 36.07%、理学专业 8 个占 13.11%、文 学专业 5 个占 8.20%、经济学专业 10 个占 16.39%、管理学专业 12 个占 19.67%、艺术学专 业 3 个占 4.92%、法学专业 1 个占 1.64%。

在这么多专业中,上表中提到的23个国家级一流本科专业建设点,以及23个市级一流本科专业建设点是大家关注的重点。为什么这样说呢?因为这些专业,都是经过主管部门评审后,才被认定位一流本科专业建设点的,相对来说师资、就业都是北京工商大学所有专业中的佼佼者。

当然,小编在这里还要强调两点:一是选择一流本科专业建设点,意味着要有一定的分数作为保证。二是具体选择什么专业,一定要结合各人的兴趣,比如喜欢数理化的朋友,就不要非得硬着头皮去学一些热门的文科专业。
就业看不出好坏,在京就业占比较高
首先,小编要提醒一点的是,北京高校就业未必好,一方面外地生源毕业生面临户口难题,另一方面来自全国的优秀毕业生都要往北京挤。

具体到我们今天提到的北京工商大学来说,该校2021 届毕业生共 3908 人,与去年相比略有增加。其中,本科毕业生 2797 人,占毕业生总人数的 71.57%,毕业研究生 1111 人,占 28.43%;男生 1393 人(35.64%), 女生 2515 人(64.36%),男女比例为 0.55︰1;北京生源毕业生 1821 人(46.60%),京外 生源毕业生 2087 人(53.40%)。

由于我们重点关注本科生的就业情况,所以就业情况只谈本科生。根据该校2021年度毕业生就业质量报告,截至 2021 年 8 月 31 日,北京工商大学2021届本科毕业生毕业去向落实率为 93.53%,分布在 44 个专业,其中23个专业的毕业去向落实率达95%以上,9个专业的毕业去向落实率达到了 100.00%。

从就业地区来看,没有让大家失望,北京工商大学2021届本科毕业生主要在北京(76.76%)就业,其次主要流向西部地区 (9.84%)。

从就业行业来看,北京工商大学2021 届本科毕业生就业行业呈现多元化,金融业(18.35%),科学研究和技术服务业(16.87%), 租赁和商务服务业(10.08%)是毕业生流向人数最多的前三个行业。

此外,小编借助北京工商大学的本科教学质量报告和就业质量报告,得到了如下的信息:
一是似乎在该校毕业不是太难。2021 年共有本科毕业生 2807 人,实际毕业人数 2751 人,毕业率为 98.00%,学位授予 率为 99.16%。
二是升学率不算很高。就业质量报告显示,该校2021届本科毕业生国内升学比例达 24.17%。有的朋友会说,考研率已经有24.17%,不算低了。小编想提醒的是,根据目前的规定,第二学士学位也计入国内升学的范畴,所以该校的这个24.17%未必是考研率。

三是转学和辅修中规中矩。根据2020—2021学年本科教学质量报告,本学年转专业学生 246 名,占全日制在校本科生数比例为 1.98%。辅修的学生 46 名, 占全日制在校本科生数比例为 0.37%。
北京工商大学算是一所比较神奇的财经类高校,想到北京学财经当然可以选择她,如果想学轻工、食品类特色专业,同样可以选择北京工商大学。