原创 大财可富司机
海水潮起潮落,股市有涨有跌,入市的韭菜每年都在不断更迭,但写股票的博主来来回回也就那么些人。
前段时间有读者在后台留言,想让司机扒一下中金在线“头牌”博主天赢居。当时司机就觉得这个名字相当耳熟,后来看了相关资料才知道,早在N年前司机就曾在新浪博客看过他的文章,只是没想到,这么多年来他还在写。看来,割韭菜也是会上瘾的!
那还是“带头大哥777”的时代,当年叱咤风云的财经大V,因为涉嫌非法经营罪,于2007年被逮捕。
就在“带头大哥777”消失于江湖之际,新版带头大哥再现江湖,他就是“tyj天赢居”。

青出于蓝而胜于蓝。“tyj天赢居”势头比带头大哥更猛,他在新浪、网易、东方财富网、中金等主要财经网站都开设博客。当年,东方财富网的点击数甚至超过2000万,即使每篇文章还要付费阅读,但粉丝还是积极掏钱。有媒体对此进行了报道:

如今的“tyj天赢居”主战场在中金在线,号称中金在线第一圈主,粉丝1万,2006篇文章,12亿阅读。他的微博粉丝15W、微信公众号“天赢居”每篇文章阅读量约2W。

“tyj天赢居”个人简介显示,他出生于1973年,20岁(1993年)开始炒股,在遭受股市毒打后,2006年形成自己独立的炒股体系,2007年开始在博客发布文章。他的文章主要是以技术分析为基础,对股市进行预测。

预测的准确率如何?司机以2022年以来的部分文章为例,进行分析:
1月4日,他在文章《属水的板块大涨特涨》中写道:“日线虽然不好看,但毕竟在均线密集区之上,周线、月线也在均线上方,趋势方面是在逐步走出底部区域的状态当中。底部结构成型后趋势就将向上发散,春季行情的第三浪上涨周期正在加载当中,第四次冲击大横盘箱顶趋势线的时间不远了。持股享受春季行情的红利。”
1月11日,他在文章《悬在头顶的最后一跌》中写道:“下个交易日就是调整21个交易日的节点;空间3547与233日均线共振支撑,下跌空间很小。指数已经到达底部区域,即便出现最后一跌,惯性下挫也是机会大于风险。”
2月28日,他在文章《三月机会多》中写道:“目前在89周均线3456附近横盘爬升到第五周,上方55周均线和34周均线以及21周均线与13周均线粘合在3535-3555附近难以逾越,而下方144周均线3255的支撑也更为强大。所以周线即将选择方向,跌下去就可以抄底,站稳3535也可以把握新的机会。”
实际走势,大家也看到了,大盘从开年就开始下跌,一直跌到4月份的2863点才见底。他的上述预测可以说是完全错误。
此外,他今年以来还有这些预测,也被证实是错误的。





要说他的预测完全不准确吧,倒也不全是,比如年初他曾预测到4月27日这个重要的时间变盘点。

可是,如果股民每一次操作都完全跟着他的预测来,估计血本无本了。
预测真的只是一个概率的游戏。有些人乐此不疲,更想不通的是,还有很多人就好这一口。
“天赢居”很早开通了付费圈子,2020年付费圈子一年的订阅费用就达到7000多元,今年还要全面涨价。


关于天赢居的水平如何?网上有不少讨伐他的文章,时间跨度很长,说明多年来,他始终奋战在第一线,从未懈怠。


一直以来,天赢居的身份都很神秘。网上公开信息也仅仅显示他是重庆人,毕业于重庆大学。之前他呼吁网友救助贫困学生,提供银行账号叫大家打款是“谢XX”的账号,有记者发现他的新浪博客名也为“谢XX的博客”。便误认为他姓谢。
但是,天赢居曾说过,“tyj是真实名字的缩写”。

司机通过线索梳理、层层查找,终于找出了他的真实身份。
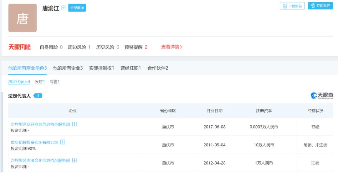
天赢居微信公众号的帐号主体是“沙坪坝区众富商务信息咨询信息服务部”。
天眼查显示,这家公司成立于2017年,注册资本1万元,经营范围是商务信息咨询。公司经营者为唐良华。唐良华同时还是重庆朗顺投资咨询有限公司(吊销,未注销)的股东,朗顺投资的大股东名叫唐渝江。

“唐渝江”的拼音缩写也是“tyj”。因此,司机很肯定,唐渝江就是天赢居的真实姓名。
此前,天赢居通过博客、网站进行股市预测,提供咨询,有投资者质疑他和“带头大哥777”一样,有非法经营罪的嫌疑。
混迹于江湖多年的天赢居,也肯定知道这样做的风险。于是,他通过巧妙的办法规避了这一问题。通过挂靠投顾公司,持证上岗,这样就名正言顺,可以愉快地继续割韭菜了!
