近日,华邦集团持有的兰州银行股份遭司法冻结引起市场关注,毕竟其为兰州银行第三大股东。进一步研究发现,兰州银行前十大股东当中,有近一半股东的持股处于“质押”状态。
从业绩来看,兰州银行2022年营收下滑、净利增长,但不可忽视的是,信用减值损失高企,侵蚀了公司利润水平,如何进一步加强*款贷**管理,减少损失是管理层应当认真思考的。

多股东股份处于质押中
5月29日,兰州银行(001227.SZ)披露股东股份被司法冻结的公告。
公告显示,兰州银行股东华邦集团持有的全部股份2.99亿股(占比为5.25%)被司法冻结,冻结时间为2023年5月25日至2026年5月24日,冻结执行人是广州市海珠区人民法院。

据短平快解读了解,华邦集团创立于2000年,总部位于广州,是一家集数字基建、养老与康复医疗、数字保险金融为一体的多元化全国性大型企业集团,也是兰州银行的第三大股东。
企查查显示,今年2月14日、15日,华邦集团合计将2.46亿股质押给了甘肃金控融资担保集团股份有限公司,质押股份市值合计约8.97亿元,质押日收盘价3.64元/股,预警线(估算)、平仓线(估算)分别为2.33元、2.04元。


截至5月30日,兰州银行收盘价为2.9元/股,与上述预警线、平仓线还存在一段不小的距离,至于为何会被司法冻结,唯有等待官方进一步说明了。
查阅2023年第一季报发现,在兰州银行的前十大股东当中,除了本次华邦集团股份被冻结之外,股东兰州国资投资(控股)建设集团有限公司、深圳正威(集团)有限公司分别有2645.92万股处于冻结状态、2.46亿股处于质押且冻结状态。
另外,股东甘肃盛达集团有限公司、甘肃天源温泉大酒店集团有限责任公司(天源温泉酒店)持有的1.06亿股、8000万股均处于质押状态。

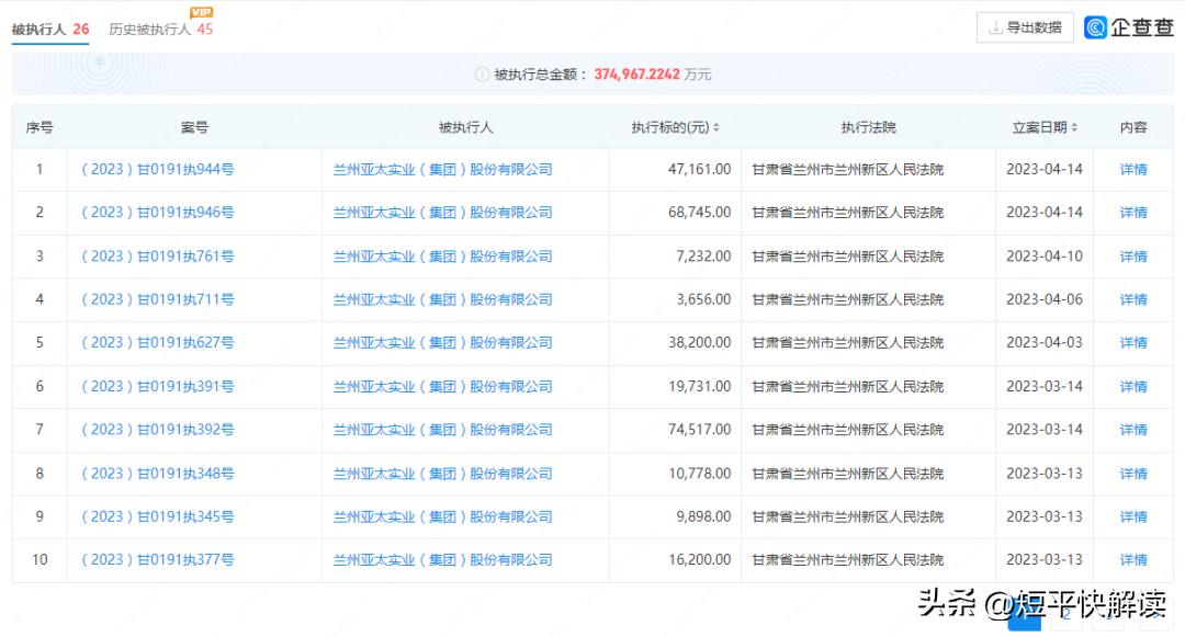
需要指出的是,天源温泉酒店在今年2月成为被执行人,被执行总金额244.92万元。此外,兰州银行股东甘肃省瑞鑫源进出口贸易股份有限公司、兰州亚太实业(集团)股份有限公司也在年内成为被执行人,金额分别为141.33万元、37.5亿元。



回到兰州银行本身,其永通支行在2021年底被限制高消费,在2022年4月成为被执行人,金额为174.41万元。

2022年1月17日,兰州银行登陆A股市场,股价一度狂飙到7.42元/股(前复权,下同),但随后迎来快速下跌,低点至2.86元/股,下滑幅度超过60%,若是继续下滑,上述将股票质押的股东,或面临着平仓的风险。
截至5月31日收盘,兰州银行股价为2.87元/股,跌幅1.03%,总市值164亿元,TTM市盈率高达9.16倍,这对于银行股而言已经相当高了。

去年营收下滑,信用减值损失超净利
2022年,兰州银行实现营业收入74.5亿元,同比下滑4.92%。分析来看,公司利息净收入为58.88亿元,同比下降2.07%,而净息差也是进一步下滑至1.58%,创下了近五年新低。
兰州银行表示,一方面,LPR持续下行,*款贷**利息收入同比减少,净息差收窄;另一方面,公司加大信贷投放力度,主动减费让利,支持实体经济发展,全年减免利息3.12亿元。
同期,兰州银行的非利息收入为15.62亿元,同比减少14.32%。其中手续费及佣金净收入3.65亿元,同比下滑4.84%;投资收益14.36亿元,同比增长1.69%。另外,公允价值变动损失是导致非利息净收入减少的重要原因,损失为2.13亿元。

据短平快解读了解,与营收下滑相反,兰州银行2022年归母净利润同比增长10.71%至17.34亿元,创下了近四年新高,但与2018年22.48亿元存在较大差距。
兰州银行表示,本行通过夯实资产质量基础、提升精细化管理水平,严控经营成本、信用成本,实现了净利润平稳增长。
分析来看,信用/资产减值损失的大幅减少是兰州银行净利润大涨的根本原因,2022年信用/资产减值损失为32.33亿元,同比减少6.47亿元,降幅16.68%。
兰州银行称,本行全力压降违约*款贷**,持续完善风险大户的专管机制,加大资产清收与处置力度,确保资产质量和风险抵补能力保持良好水平,全年累计收回、化解不良资产13.28亿元,计提的*款贷**信用减值损失同比减少。
值得指出的是,即使兰州银行的信用/资产减值损失有所减少,但仍然是远超同期的利润总额,侵蚀了利润。
发放*款贷**及垫款是兰州银行发生减值损失的主要组成部分,金额为29.9亿元,占全部信用/资产减值损失的比例为92.49%。
2022年,兰州银行发放*款贷**和垫款本金为2265.46亿元,其中不良*款贷**为38.73亿元,同比增加1.31亿元,不良*款贷**率为1.71%,同比下滑0.02个百分点,该不良率在同行中处于较高水平。拨备覆盖率194.99%,同比上升3.11个百分点。
按行业划分来看,兰州银行的*款贷**主要集中在建筑业、房地产业、批发和零售业,*款贷**金额分别为238.82亿元、194.4亿元、192.13亿元,占*款贷**总额的比例分别为10.54%、8.58%、8.48%。公司并没有公布行业不良*款贷**的详情。
按逾期期限划分,2022年末逾期*款贷**合计111.4亿元,同比增加6.51亿元,增幅6.21%。其中主要集中在逾期3个月(含)以内,金额为76.22亿元,占*款贷**总额的比例为3.36%。
需要指出的是,兰州银行分行曾受过多次行政处罚,2月份、11月份,兰州银行定西分行分别因为违规发放个人经营性*款贷**、违规发放*款贷**,被分别处以30万元罚款;4月份,兰州银行武威分行因未严格落实*款贷**“三查”制度,被处以30万元罚款;7月份,兰州银行敦煌分行因*款贷**“三查”制度落实不到位等,被处以70万元罚款。


分行多次受罚的背后,提醒兰州银行需要进一步加强内控管理,加强对工作人员的培训,增强风险意识,进一步合规运营,降低运营风险。
资本指标方面,兰州银行2022年核心一级资本充足率、一级资本充足率、资本充足率均有所下滑,分别为8.47%、10.07%、11.27%,同比分别下滑0.11个百分点、0.31个百分点、0.29个百分点。
今年第一季度,兰州银行实现营收、净利双增,营业收入同比增长11.98%至20亿元,归母净利润同比增长10.45%至5.41亿元,但扣非净利润同比下降2.56%至5.14亿元。
(短平快解读-原创作品,未经许可,请勿转载!PS若稿件侵权或数据有误,请及时联系修正)