世界农化网中文网报道:磷化工企业利用磷矿伴生氟资源生产氟化氢,并深度延伸氟化工产业链,推动了磷、氟化工产业的协同发展。介绍了磷、氟化工产业协同发展的现状,从技术、资源、政策、市场等方面阐述驱动磷、氟化工产业协同发展的关键因素,围绕生产、业务、产业等层面分析磷、氟化工产业协同发展的效应,并对发展前景进行展望。
磷、氟化工均是我国的传统化工产业,随着产业转型升级不断推进,磷、氟化工已成为支撑我国产业发展的重要组成部分。在长期的发展过程中,磷、氟化工产业形成了各自鲜明的产业特色,因而过去极少提及磷、氟化工产业的协同发展。而随着近些年磷化工企业纷纷布局氟化工产品,如何在固有的磷化工产业中有效″嵌入″氟化工,最大程度地发挥磷、氟化工产业的协同效应,成为磷化工产业发展面临的重大课题。
01 发展现状
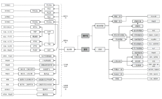
磷、氟化工产业链的基础分别是萤石、磷矿资源,萤石、磷矿资源的地域分布存在明显差异。根据中国无机盐协会统计,我国萤石资源主要分布于江西、浙江、湖南、福建、内蒙古等地,五省萤石储量占全国总储量的73.96%;磷矿资源主要分布于云南、湖北、四川、贵州等地,四省磷矿资源储量占全国总储量的93.64%。同时,由于过往缺乏成熟的技术工艺,磷矿伴生的氟资源无法被有效利用,磷、氟化工产业难以从原料端建立关联。而磷、氟化工重资源属性的产业特征,决定其产业布局与资源的地域分布密切相关,导致大部分磷、氟化工企业亦分别集中于资源禀赋优异的上述区域。此外,磷、氟化工的终端消费市场亦存在较大差异,前者主要应用于肥料、食品、工业、农药等领域,后者主要应用于制冷、半导体、新能源、机械、农药、医药等领域,因此,磷、氟化工形成了在区域上错位分布、产业上相互独立的发展态势。磷、氟化工产业链见图1。

图 1 磷、氟化工产业链
近年来,随着磷矿伴生氟资源生产氟化氢技术的成熟与推广,许多磷化工企业开始跨界氟化工领域,主要路径是提取磷矿中氟资源生产氟化氢,并向下游延伸电子级氢氟酸、聚偏氟乙烯、六氟磷酸锂等深加工产品,具体如表1所示。虽然上述项目大多在规划或建设阶段,但在磷化工企业的推动下,磷、氟化工产业的协同发展开始进入起步阶段。
表 1 主要磷化工企业(拟)布局的氟化工产品

02 驱动因素
2.1 关键技术突破
氟化氢是氟化工的基础原材料。根据百川盈孚统计,2022年我国氟化氢产能约286.6万吨/年,其中萤石法氟化氢产能约272.1万吨/年,占比达95%。萤石法贡献了绝大多数的氟化氢产能,是导致氟化工企业集聚在萤石资源丰富区域的重要原因。但是,随着以瓮福(集团)有限责任公司为代表的氟硅酸法工艺的成熟,利用磷矿伴生氟资源生产氟化氢得以实现,且氟硅酸法相较于萤石法生产成本更低,这既在一定程度上减轻氟化工对萤石资源的依赖性,促进氟化工产业在磷资源丰富区域的布局,又使磷化工企业掌握了成本更低的氟化工原材料,为其进军氟化工产业奠定基础。
与此同时,氟化工深加工产品具有较高技术门槛,部分产品存在高端产能被国外垄断、低端产能国内过剩的情况。但随着近年来国内企业在技术上的积累与突破,电子级氢氟酸、六氟磷酸锂、聚偏氟乙烯等产能迎来大幅增长,我国已发展成为全球最大的氟化工产销国,譬如以多氟多新材料股份有限公司、湖北兴力电子材料有限公司生产的电子级氢氟酸品质可达G4及以上级别;广州天赐高新材料股份有限公司、多氟多新材料股份有限公司的六氟磷酸锂产能位居全球前二;以东岳集团有限公司、浙江巨化股份有限公司为代表的氟化工龙头纷纷上马锂电级聚偏氟乙烯、高端聚四氟乙烯产能等。上述技术的成熟与推广,为国内磷化工企业往氟化工下游延伸增强了信心,亦一定程度上提供了足够的技术合作选择空间。
2.2 萤石资源困局
单一型萤石矿是目前生产萤石的主要来源。根据USGS(美国地质勘探局)统计,截至2021年我国单一型萤石矿基础储量(折合CaF2)约4200万吨 ,但萤石产量却高达540万吨,以此计算,静态储采比仅7.78年,萤石资源的紧缺性成为影响氟化工可持续发展的关键因素;截至2021年我国磷矿资源储量约32亿吨,而磷矿通常伴生有3%~4%的氟,具有巨大的发展潜力。在此情况下,磷矿伴生氟资源作为新的氟来源,其开发与利用成为缓解萤石资源短缺危机、保障氟化工持续发展的有效措施。
2.3 政策鼓励
我国对萤石行业采取准入管理,并对萤石矿实行开采总量控制,且环保政策日趋严格。同时,根据国家发改委发布的《产业结构调整指导目录(2019年本)》, ″磷矿、萤石矿伴生资源综合利用″属于鼓励类目录, ″新建氟化氢(HF,企业下游深加工产品配套自用、电子级及湿法磷酸配套除外)″属于限制类目录。政策的指向性将进一步限制萤石法氟化氢产能增长。此消彼长之下,磷矿伴生氟资源生产氟化氢的市场空间有望持续扩大,进而推动磷化工企业向氟化工产业链深度延伸。
2.4 新能源市场的发展
新能源是磷、氟化工在众多应用场景中,契合磷化工企业发展方向且能够在产业链中形成合力的结合点。2020年以来,新能源市场快速发展,电池材料供不应求,且磷酸铁锂路线逐步成为主流。新能源市场的快速发展及巨大空间引起了磷化工企业的关注,磷化工企业凭借磷矿资源储备及产业链一体化所带来的成本优势,快速建立起以磷系材料为主的新能源产业链,初步进入新能源市场。同时,氟化工下游产品,譬如电子级氢氟酸、六氟磷酸锂、双氟磺酰亚胺锂、聚偏氟乙烯、氟代碳酸乙烯酯等均是重要的新能源材料。磷化工企业拥有成本较低的氟化氢原材料,进一步往下游延伸氟系新能源材料,与磷系材料共同丰富新能源材料矩阵,成为进军新能源市场、打造第二增长点的不二选择。
综上,在技术、资源、政策以及市场等因素的驱动下,磷化工企业跨界氟化工产业,继而推动了磷、氟化工产业的协同发展。
03 协同效应
3.1 生产协同
在成熟的磷化工生产系统中,恰当有效地实现与氟化工生产系统的耦合,可达到在生产端降本增效的目的,是磷化工企业推动磷、氟协同发展的重要方向。围绕生产协同,主要有以下几个方面考虑:
(1)采用浓硫酸与氟硅酸法反应生成氟化氢过程中,会副产大量的70%~75%的稀硫酸。稀硫酸属于危险废物,单独处置成本较高,同时,硫酸是湿法磷酸生产的重要原材料,通过调节磷矿浆的含水率可以实现湿法磷酸生产系统对稀硫酸的接纳。因此,直接回收稀硫酸到湿法磷酸生产系统中,既可降低稀硫酸处置成本,还可减少湿法磷酸系统中浓硫酸的消耗,且稀硫酸加入还有利于湿法磷酸反应槽温度控制。
(2)磷化工企业通常建设有规模较大的浓硫酸生产装置,在浓硫酸生产过程中,会副产大量的蒸汽,该蒸汽在满足下游湿法磷酸、净化酸等生产系统所需外,剩余的还被用于发电,而蒸汽亦是氟化工产品生产过程中必不可少的原料。在建设氟化工生产系统过程中,可接入磷化工生产系统的蒸汽管网,实现蒸汽的自给自足与充分利用。
(3)盐酸是氟化工生产的重要副产物,在六氟磷酸锂、聚偏氟乙烯、聚四氟乙烯及相关制冷剂产品的生产过程中均会副产大量不同浓度的盐酸。实现大量副产盐酸的完全消纳具有一定难度,已成为制约氟化工发展的一个瓶颈。但对于磷化工企业而言,副产盐酸经一定处理可用于生产氯化铵,并最终应用到肥料生产系统中。依托肥料的巨大产能,可消纳氟化工生产系统副产的大量盐酸。
3.2 业务协同
磷、氟化工产业的协同发展有利于磷化工企业在业务层面实现协同。一方面,磷系新能源材料主要为磷酸铁锂,是电池正极材料;氟系新能源材料主要为电解质六氟磷酸锂、四氟硼酸锂、双氟磺酰亚胺锂、添加剂氟代碳酸乙烯酯等,属于电池电解液材料,聚偏氟乙烯属于电池粘结剂材料。两者均属于电池材料,但相较于磷系新能源材料,氟系新能源材料涉及种类更多、产品附加值更高。因此,推动磷、氟化工产业链发展有利于磷化工企业形成多元化的新能源材料产品布局,进一步做大做强新能源材料业务,增强在新能源产业链中的议价能力,亦有利于打造第二增长曲线,推动业务转型与发展。另一方面,区别于肥料产品,新能源材料对生产的精细化管理程度、产品品质等要求更高,因此,其在进入下游厂商的供应链时往往需经过严格的产品认证,客户黏性较强。磷、氟系新能源材料下游客户均为电池企业,便于在客户渠道开发与维护等方面实现协同。
3.3 产业协同
磷、氟化工产业的协同发展有利于形成产业集群效用,推动区域经济发展。随着新能源产业竞争日益激烈,围绕资源布局成为锂电企业的重要考量。而磷、氟化工作为新能源产业链的重要组成部分,由于其重资源属性的特征,在产业分布方面具有严重的地域隔离,使锂电企业在选择区域布局时难以实现磷、氟兼顾。而磷化工企业在氟化工产业方面的技术突破与产业延伸,打破磷、氟化工产业的地域隔离,将推动同一区域内磷、氟化工产品的生产与流通,进而为区域锂电产业链的布局、发展与完善奠定更好的产业基础,最终实现产业集聚并推动区域经济发展。地方政府亦关注到了磷、氟化工产业协同的潜力。贵州省在《关于推进锂电池材料产业高质量发展的指导意见》中提出利用伴生氟资源产业优势,延伸氟化工产业链,进而″引导磷系正极材料、电解液原料和制备项目向长江经济带合规园区集中布局″;《湖北省新材料产业高质量发展″十四五″规划》亦明确提出要依托湖北省丰富的磷矿资源和本地磷化工回收氟资源,发展磷化工产业、氟基新材料产业链,打造″以化工新材料为主的宜昌新材料产业基地″″以无机非金属、新能源材料为主的荆门新材料产业基地″。
04 前景展望
全球新能源市场的蓬勃发展将进一步带动氟化工市场需求增加。据金石资源年报统计,到2025年全球新能源对萤石需求将达到150万~200万吨,2030年可能超过500万吨。氟化工市场的快速发展与我国萤石资源的短缺,将吸引更多有实力的磷化工企业跨界氟化工并延伸产业链,继而在更大范围内、更深层次地推动磷、氟化工产业的协同发展。未来,部分磷化工企业有望由单一的磷化工业务转型为磷、氟化工并重的多元业务体系,并成为新能源市场的重要参与者。同时,随着氟化工产业布局的改变,将吸引相关产业集聚到磷资源丰富的区域,进而推动区域产业结构变革,为经济发展提供新的增长点。最后,磷化工企业拥有成本更低的氟化工基础原材料氟化氢,其成本优势在氟化工低端产品领域将更为显著。未来随着磷化工企业逐步释放氟化工产品产能,将驱动氟化工企业向具有更高技术水平、更高附加值的氟化工产品延伸,从而推动磷、氟化工企业在氟化工领域形成错位发展,增强我国氟化工行业的国际竞争力。
但是,磷、氟化工产业的协同发展亦将面临多方挑战。氟化工属于技术密集性产业,具有产品品类多、技术壁垒高、反应过程复杂、工艺控制严格、质量要求高等特征,且磷、氟化工产品在下游消费市场、客户群体方面亦存在较大差异。磷化工企业可能将面临氟化工技术沉淀不够、人才储备与客户积累不足等挑战。同时,随着未来磷化工企业更多的氟化工项目产能释放,还可能对氟化工行业造成一定冲击,导致氟化工行业出现产能更加过剩、无序竞争、恶意竞争等局面。这需要磷化工企业、氟化工企业、行业协会及政府多方努力,共同探讨,有序规划,共同推动行业健康稳定发展。