在头盔中配备抬头显示器(HUD)并非新鲜事,过去有许多厂商都尝试让他们的头盔厂商推出像科幻电影中那样,能够在戴上头盔、骑乘机车的过程中,直接看见与景物一同显示在眼前的必要资讯。 但很遗憾的是,至今仍没有任何一项头盔的HUD产品可谓成功的,更与量产实用无缘,最终也没能成为市场中的主流或是新起之秀。 不过这样的情况或许将被SHOEI打破,身为世界级头盔大厂之一的SHOEI在此前东京、大阪举行的机车展中,发布了他们最新的“研究成果”。

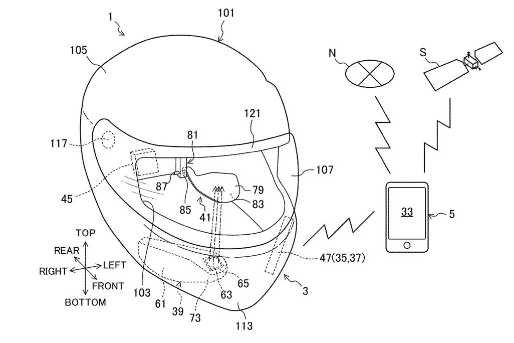
SHOEI本次发布的HUD系统名为:Opticson。 与以往其他厂商发布的头盔HUD系统相较,最大的不同则在于拥有数十年开发经验的SHOEI,更了解用户未来若是应用HUD系统时,更需要的是什么? 因此SHOEI在这套系统中采用了相当聪明的设计,例如:将GPS与导航机能交由手机APP完成,借此减少主机体积、采用可以轻松翻转、移动的投影镜片,让使用者能够仔细调整出最适合的角度,更能在不想使用HUD时马上净空视线,以及将投影焦点控制在较远处,借此让骑士在专心注意眼前路况时,也能确保HUD显示的各项信息是清晰明了的。


同时SHOEI也已经在东京、大阪车展上展出Opticson系统的实际实用视频,可以看见UHD系统的导航界面采用Turn by turn设计,仅在即将转弯时才会出现相关标示,让使用者能够持续专注在路况上,不至于眼花缭乱。 同时SHOEI也为这套系统配备了一组装在镜片内侧的光线感应器,借此让HUD能够随着环境的不同调整适当的显示亮度。

虽说目前SHOEI并未公布这套系统何时会正式量产,但从展览中的展品以及近日提交的专利文件来看,我们也能发现SHOEI对于HUD整体已经有了相当完整、成熟的想法,并且也结合了时下的最新科技,来进一步减轻制造与使用的成本。 或许不需要依赖手机支架、无需冒着视线离开道路的风险,便能在骑车时观看导航的未来,离我们已经不远。
