近日,一家设在福建福州市中邮大药房内的名为“邮氧的茶”的奶茶店“走红”,吸引众人打卡、排队购买。

福州一奶茶店“走红”网络,吸引众人打卡。 吕明 摄
该店设置在中邮大药房内一角,工作人员操作台后面即是药房。店面设计和产品包装袋都以“中国邮政”经典的黄绿色简约风呈现。
中邮大药房与“邮氧的茶”奶茶店在2020年10月一同开业。
中邮大药房店长林女士表示, 在药房的一角设置奶茶店的初衷是希望能够让进药店的市民能够放松心情, 营造一个轻松、自然的环境,让患者可以坐下来慢慢和药师交流,让沟通更深入和顺畅。“没想到,突然在网络上‘火’了起来。”

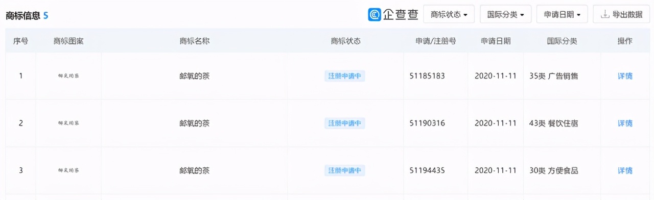
去年已申请注册商标
随着奶茶店的“爆红”,“中国邮政还卖奶茶?”等质疑声和各种传言不断。
企查查显示,邮氧的茶为福建省邮氧的茶餐饮管理有限公司产品,成立于2020年10月,所属行业为批发业。

此外,中邮恒泰药业有限公司已于2020年11月申请注册“邮氧的茶”的商标,目前处于注册申请状态。


从企业受益股东图可见,该公司最大股东为中国邮政集团有限公司。

资料显示,中邮恒泰药业于2020年10月,新增经营范围:食品互联网销售;食品互联网销售(销售预包装食品)等。

另据新京报,中国邮政福建公司回复称, 奶茶店并非邮政业务,也暂无相关发展规划。
林女士透露,制作奶茶的原材料都是健康的,奶用的是纯牛奶,茶叶也是每天早晨现泡的。为了让顾客喝上奶茶放松心情的同时,又能带去营养,现在还在研发一些药食同源的饮品。
据悉,该家奶茶店已于2020年10月被大众点评收录,其所售新茶饮包括水果茶、奶茶、果奶以及纯茶产品。产品价格从7元-23元不等,价格最高产品为“燕窝鲜牛乳”。

现场,购买奶茶的市民自发排起长队。福州市民吴女士表示,在网络上关注到这家奶茶店,觉得很有特色便过来看看。

福州市民林子涵刚拿到奶茶,正准备离开。他告诉记者,如果推出一些药食同源的饮品,他会十分喜欢。“如果他们能够推出板蓝根是最好的,我可爱喝板蓝根了。”
作为一名执业药师,林女士透露,大众对药房、药店的固有印象就是卖药的,但她更希望能够成为大众的健康管家,能够和患者好好沟通、交流,提供一些健康咨询服务。
很多患者在进入药房购药时,都存在着紧张的情绪。林女士表示,在药房内设置一家颇受大众喜爱的饮品店,就是希望能够好好地了解顾客的需求,通过交流,给予更好、更到位的服务。
微博上网友纷纷表示:就想知道点奶茶包邮到家不?也有的表示想知道出货速度怎么样?


邮政咖啡、便利店、超市……
尽管奶茶店并非邮政业务,但说跨界,邮政也并不陌生。
例如中国邮政开出的咖啡店——邮局咖啡已经在厦门当地颇有名气。投资界了解到,邮局咖啡大概在去年下半年落地厦门,整体店面不大,但复古怀旧风颇有韵味,不少网友前往拍照打卡。具体到产品上,邮局咖啡咖啡款式并不多,人均价格在20-30元之间。
据介绍,邮局咖啡的店员是一套班子两套业务—— 他们既负责邮政和代缴费业务,还兼任咖啡师、服务员 ,为了能做好咖啡,店员也都经过专业培训。

2010年,中国邮政联手地平线投资推出了 “中邮百全连锁超市” ,试图借助中国邮政在乡镇的网点优势打开超市零售市场,打造“农村版沃尔玛”。然而到了2014年,中邮百全超市因经营不善悉数被转让。
但中国邮政一直没有放弃零售业务,随后相继推出了“与农便利店”、“都市管家”、“邮乐购”等便利店品牌。
闯入医药圈,中国邮政来势汹汹。 2018年4月,中国邮政制定了加快发展医疗等高附加值业务的目标,并在2019年12月在宁夏回族自治区开了国内第一家自营药店——中邮大药房。药房同时配备金融业务柜台和邮政业务,实现了邮政、金融、药店客户三方引流共赢。
来源:中国新闻网、证券时报、新京报、中国基金报、台海网、投资界(
作者:周佳丽)等