六星群体术士,夕,她的原型是“ 传说中的夕兽与蜃龙的结合体 ”,考据传送门: 明日方舟:“夕”原型和元素考据,龙、幻象与水墨画 。今天我们抛开厨力不看,根据各种数据以及实战的表现,来详细测评一下她的强度。一共分成六个版块:面板数据、天赋与特性、技能单独解析(3)、基建与综合评价,让我们开始吧!
夕:六星群伤术士

六星术士干员:夕
面板数据 :六星限定术士干员,夕。她的特性是“攻击造成群体法术伤害”,属于术士干员中的一大子职业:“ 群攻术士 ”,又称“群法”,她们会对攻击目标单位造成范围伤害。因此在面板数据的对比上,我们选择了其他的同类型的群法干员作为参照,包括以下四位:炎狱炎熔、莫斯提马、莱恩哈特、天火(不考虑天赋,除炎狱炎熔外,均按精二满级无潜能计算)。

夕的面板数据
夕的攻击力极高,面板数据几乎与特殊群法伊芙利特一致 。她将自身的点数都加在了攻击力上,最终数据接近1000点,只比以高攻击力著称的小火龙低了6点。 夕的面板数据完全碾压了另一位六星群法莫斯提马 ,她在生存的生命防御端只是稍差于对方(生命上限-27,防御力-5),但是攻击力却足足领先了119点。如果要再做职业区分的话:夕是偏向于纯输出向的群法,而莫斯提马则是偏向辅助与控制,两者的细分定位并不同。
天赋:化境与点睛
“化境:夕与"小自在"击杀一名敌人时,夕获得2%攻击力,最多可叠加15/18层。”
这份恐怖的面板数据却并不是夕的全貌,她的第一天赋“化境”进一步扩大了这份优势。通过夕与自身召唤物小自在的不断杀敌, 最高能够获得36%的攻击力增幅 ,足足是艾雅法拉“炎息”增幅数值的两倍有余。如果两者联合起来搭配上场,夕的攻击力能够获得52%的增加,最高能突破1500点。

搭配后的面板数据
但是在实战中, 夕要 叠满第一天赋的最高层却有一定的难度 。无论是游戏主线图还是活动图,一般整关的敌人数量也就在30~50之间。在绝大多数情况下,需要群体术士 夕 去完成18位敌人的击杀非常困难,哪怕完成了也几乎已然达成通关了。因此: 夕五潜能时带来的天赋层数提升,对于常规关卡的意义有限,更适合剿灭作战、危机合约或是TW-MO-1这样的超长关卡 。
“ 点睛:部署后首次攻击敌人时,在目标位置(可部署地面)召唤一个“小自在”(持续25秒)。”
夕在部署后的第一次攻击,会在被攻击敌人所处位置的地面上召唤出一个奇异的生物。随着她的撤退再部署,第二天赋也会随之刷新。在详细解释天赋之前,我们先来看一下召唤物“小自在”的数据,拿去对比其他召唤物:

“小自在”面板数据对比
从面板数据来看,夕的“小自在”与豆苗的“磐蟹护卫队”一样,都属于不占用部署上限的特殊召唤物。相比召唤系干员们的召唤单位而言: 小自在的综合面板要略逊一筹,血量、攻击与防御都不及常规召唤物 。但是却在三点上有着属于自己独特的优势: 50点法术抗性、能够阻挡两名敌人、不需要部署费用也不占用部署人口 。能够在游戏前期争取到宝贵的展开部署时间:

开局部署减压力
“小自在”那高达50点的法术抗性,足以让它轻松抗下大多数术士类敌人的进攻。阻挡两名敌人在前期抗压时也极其关键,可以当作半个先锋使用。但虽然“小自在”作为召唤物极为优秀,却也有着一个非常的缺点: 数量与时间受限。它仅仅能存在25秒,且只有一只 。如果想要更多“小自在”,只有携带并开启三技能才行。
需要注意的是: 如果夕的首次攻击落点处,是属于不可部署的地块或是已被其他单位占据,那么第二天赋将不会触发,“小自在”也就不会登场 。但换种思路,如果我们巧用夕那超长的攻击前摇和抬手动画,也可以让她在自己的身后召唤出小自在:

身后召唤“小自在”
因此,我们在部署夕的时候也要尽量避开那些不可部署的位置,密切注意她攻击所覆盖的范围,才能充分发挥其第二天赋的威力。接下来我们来一一解析三个技能,了解夕的详细定位。
工笔入化:群攻与溅射

工笔入化(图源PRTS)
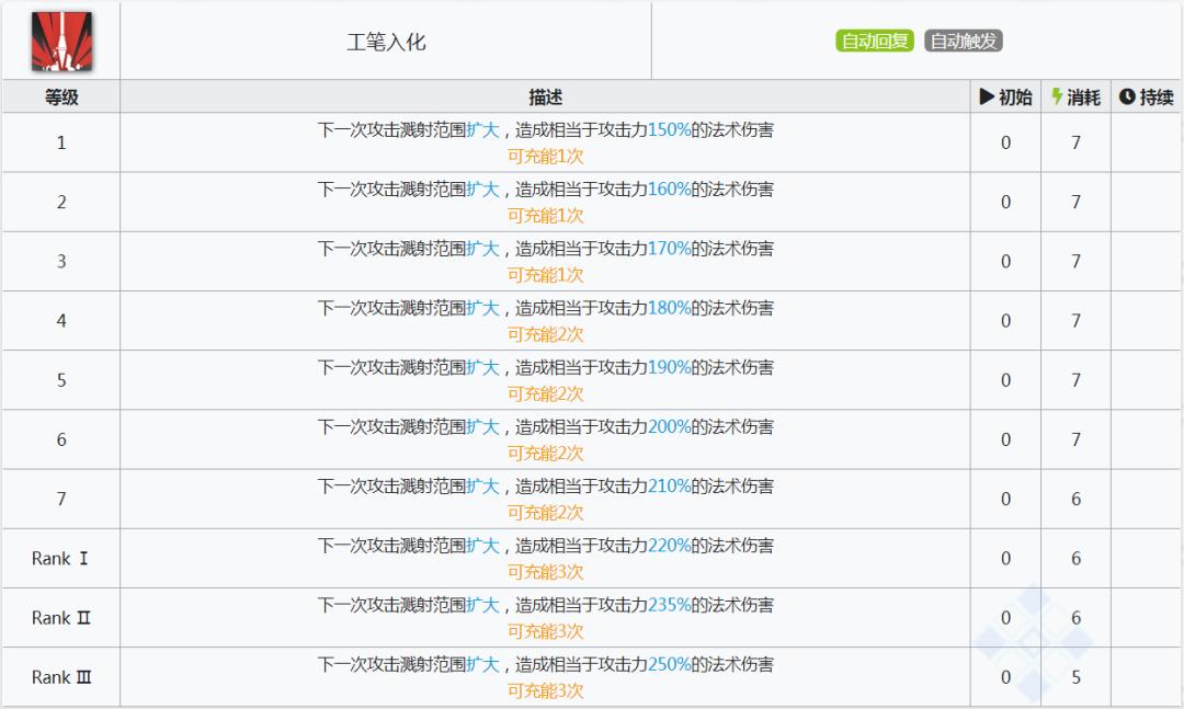
“工笔入化:下一次攻击溅射范围扩大,造成相当于攻击力210%/220%/235%/250%的法术伤害,可充能2/3次。”
一、技能机制 :夕的一技能“工笔入化”,属于自动回复技力、自动触发类的技能,在机制上颇有一些类似于艾雅法拉的二技能“点燃”: 两者都能够造成范围溅射伤害;同时具有可充能次数,能够形成连续爆发 。在触发技能时,夕会挥动她手中形似宝剑的画笔,对范围内的所有敌人造成法术伤害,如下图所示:

工笔入化演示动画
这一次攻击的溅射范围会进一步增加, 溅射半径扩大至1.7格 。在目前的游戏中, 这份范围属于最广的那一档 ,可参考:温蒂“水炮模式”的溅射是0.9格,W“惊吓盒子”的爆炸范围是1.2格,迷迭香“末梢阻断”、空弦“箭矢·追猎”的溅射半径都是1.5格,只有陨星“霰射弹头”的爆炸半径是2格。因此我们可以说这份1.7格的溅射范围十分优秀,实战演示如下:

工笔入化的溅射范围
二、伤害输出 :我们先来测算一下夕的输出能力。因为考虑到她的定位是群法,核心作战意义是处理高防御力、中低法抗的群聚敌人。因此在敌人的设置上,我们设置为:威严的墨魉“偷闲”(防御力1000,法术抗性50,数量为3)。

敌人选择:偷闲
群法间的输出对比,当然要选择多目标了,我们将常态化的敌人目标数设置为三人。这里主要挑选了其他群法的低技力消耗技能作为对比参照,包括:艾雅法拉的“点燃”、伊芙利特的“炎爆”、以及莱恩哈特的“解构与*破爆**”,结果如下:

工笔入化伤害测算(三人)
在所有低技力消耗的技能对比中,夕的理论输出登顶常规群法,仅逊色于特殊群法伊芙利特 。哪怕是在没有叠加第一天赋“化境”攻击力的情况下,夕的全周期输出也完全不逊色于艾雅法拉的点燃。如果叠加满了天赋层数,输出更是能够拔到一个新高度。
因为考虑到随着专精的提升,技能的充能次数和周转效率会再次发生很大改变。如果我们再考虑满潜能专三的情况,整体输出结果依旧没有发生太大改变:

工笔入化伤害测算(满潜专三)
夕一技能的输出非常优秀,同时因为天赋的存在其上限也会很高。如果拿去和艾雅法拉的点燃对比,工笔入化的输出完全不逊色、输出潜力甚至更高,但是却失去了削减法术抗性的功能性,两者各有优劣。
因此这里我们得出的综合结论是: 如果单独部署作战,可以优先考虑夕的“工笔入化”;但是如果是多名术士搭配作战,能够削减法抗的“点燃”依旧能打 。
三、实战应用 :在实战中, 夕 凭借着“工笔入化”低技力消耗、溅射范围广的优势,最适合的作战方式莫过于: 清杂、削弱敌人整体血线 。如果大家之前熟练使用点燃的话,那么工笔入化的用法也基本与之一致。并且因为她的溅射范围足有1.7格,要更广于点燃的爆炸范围半径1.5格,在使用上也变得更为简单:

工笔入化清杂
四、专精收益 :“工笔入化”在专一与专三时分别会发生一次质变,专一增加了一次充能次数,专三时技能的技力消耗从6点降低到了5点,提升巨大。从七级到专三带来的平均DPS提升分别是:2.3%、5.8%、14.6%。在专精中技能的爆发增幅巨大(37.4%),但是平摊到全周期的提升有限。建议练度: 专一 (推荐)、 专三 (可以考虑)。
五、综合来看 :夕一技能“工笔入化”的机制非常简单,但是其强度却有目共睹。属于一个纯粹输出向的、可充能的法系小爆发,高频且伤害优秀。如果大家缺乏常规对群输出的法系技能,或是面对高防御力的敌人有些束手无策,都可以优先考虑工笔入化。
泼墨淋漓:真法伤群攻

泼墨淋漓(图源PRTS)
“泼墨淋漓:攻击范围扩大,攻击力+40%/45%/50%/55%,攻击速度+40/45/50/55,攻击范围内的所有敌人且对生命值低于一半的敌人造成的法术伤害提升至125%。”
一、技能机制 :夕的二技能“泼墨淋漓”,是不限目标数的“ 真群攻 ”技能。技能有着四重效果: 攻击力与攻速增加、扩大攻击范围、攻击范围内的所有敌人,并且对于半血以下敌人提升伤害进行斩杀 。不仅每一项都能为群法带来巨大提升,并且没有任何副作用。在启动技能后,夕会将墨汁挥洒而出,攻击12格范围内的所有敌方单位。墨如泼出,如下所示:

泼墨淋漓技能演示
这里简单解释一下所谓的“真群攻”技能。真假群攻的差异点,就在于: 能够攻击的敌人数,有没有受到上限的制约 。像夕的“泼墨淋漓”、莫斯提马的“荒时之锁”与“序时之匙”都属于真群攻技能,敌人越多伤害越高;
而银灰的“真银斩”、艾雅法拉的“火山”都受到了目标数上限的制约,属于假群攻技能。这两种类型的技能之间不存在优劣,真群攻胜在输出潜力,而假群攻则胜在输出*力暴**。在启动“泼墨淋漓”后,夕会额外攻击身前第三横排,输出范围与*击狙**干员一致:

泼墨淋漓的攻击范围
二、输出能力 :我们来测算一下夕二技能“泼墨淋漓”的输出能力。考虑到技能特性是不限目标数的“真群攻”输出,所以我们将敌人暂设为六人,选择对比的技能包括:艾雅法拉的“火山”、炎狱炎熔的“焰淬*首匕**”、薄绿的“风语”、蜜蜡的“沙暴扩散”、以及莫斯提马的“序时之匙”。输出结果如下图所示:

“泼墨淋漓”伤害测算(六人)
夕的全周期输出力压其他术士,但是在技能期的爆发力仅为火山的一半 。面对同时能够输出多人的情况,夕的爆发力持平莫斯提马的二技能“荒时之锁”(参考DPS:3078点),但却拥有着更长的持续时间以及斩杀效果,这令得她有了资本晋升最优秀的对群法伤输出之一。
但是相较于目前法系爆发的顶点“火山”,虽然泼墨淋漓的总伤害足够高,但是其爆发力依旧略显不足,仅有火山的一半不到。因此其实际定位是: 中频的范围爆发技能,就像是没用控制能力、全力转行输出的“荒时之锁” 。
三、实战应用 :实战中“泼墨淋漓”的战略意义就是: 范围输出,通过法伤歼灭敌人 。亮点一个在于真群攻与极广的攻击范围,一个在于半血以下的法术斩杀。在此次活动关突袭WR-EX-6中,就可以充分发挥这份属于夕的群攻优势:

夕的群攻优势
这个技能看似平凡,却并不普通。通过描述我们能够发现,夕的攻击会对生命值低于一半的敌人造成额外的法术伤害。但更为恐怖的是: “泼墨淋漓”是可以与削弱系辅助带来的【脆弱】斩杀效果相叠加的 。
因此,非常建议将夕与脆弱系辅助搭配进行使用。目前这一子职业的干员只有两位,初雪与巫恋。考虑到巫恋更适合辅助物理系的干员(诅咒娃娃周围敌人的攻击力和防御力-50%),而初雪的二技能“自然震慑”能降低法术抗性(攻击范围内所有敌人防御力-45%,法术抗性-26%), 所以让初雪搭配夕,是极其优质的选择 :

初雪与夕
如果要说这个技能有哪里不尽完美的,那就是: 对范围内敌人没有控制能力,周转率也不高 。大家能不能想到有哪一位干员,能够同时缓解这两点需求?没错,莫斯提马,无论是携带二技能还是三技能,都将会是夕的绝佳搭配。比如像下面这样,同时蒸发了红猩猩以及遮目这两个棘手单位:

莫斯提马与夕
四、专精收益 :“泼墨淋漓”是一个纯输出向技能,在专一时产生质变,半血斩杀的伤害增幅将从125%提升到了130%。从七级到专三的输出提升是:5.7%、12.8%、18.6%。如果要使用二技能务必专一,专二的输出增幅很高(7.1%)。相较而言,专三的性价比有限(5.8%),如果追求极致输出才会考虑。建议练度: 专一 (推荐) 、专二、专三 。
五、综合来看 :夕的二技能“泼墨淋漓”是当前游戏中最为优秀的群攻技能之一,有持续、有爆发、范围广、不限目标数,唯二欠缺的就是对范围内敌人的控制能力,以及技能的周转速度。因此,携带二技能的她特别适合与初雪、莫斯提马等人形成搭配作战,不仅能补足短板,还能进一步提高输出。
写意胜形:召唤小自在

写意胜形(图源PRTS)
“写意胜形:攻击间隔增大(+40%),优先攻击未阻挡的敌人,攻击范围与溅射范围扩大,攻击力+100%/110%/115%/120%,每次攻击时在目标位置(可部署地面)召唤/刷新一个"小自在"(持续25秒)。”
一、技能机制 : 夕的笔,可生万物 。夕的三技能“写意胜形”拥有着两重增幅,一方面是较为传统的群法输出端提升,通过牺牲自己攻击节奏的方式,来大幅提升自身的攻击力,同时增加攻击范围与溅射范围。另一方面,她还有了一份特殊的功能性:伴随着夕在技能期的每一次攻击, 都能够在攻击位置召唤出一个特殊的召唤物“小自在” ,对敌人形成有效阻挡,如下图所示:

写意胜形技能演示
这里再说一些技能细节,首先还是“溅射”。在技能描述中提到的“半径扩大”,与二技能“泼墨淋漓”一样, 都是增长到了1.7格这样一个非常优秀的范围 。在实战中,足以对“九宫格”范围内的所有敌人造成伤害了。
第二点是关于“刷新小自在”的测试,实际体现为: 回复在场小自在的生命值至100%,并且重置持续时间至25秒 。所以并不会出现同一格内有多位小自在的情况,依旧是一格一人。
因此我们换句话描述:夕在技能期间的攻击,会在没有小自在的地方召唤出这种奇异生物;但如果是重复攻击已被阻挡的敌人,只会刷新小自在的生命值和持续时间。 直到夕退场,全部场上的“小自在”会被自动撤退 。但如果是技能结束,小自在会存活满25秒后消失。

所有小自在消失
二、输出能力 :我们来测试一下三技能“写意胜形”的输出能力,选择的目标与对比的技能保持与二技能的一致。在表格的第二行,也加入了夕召唤出的“小自在”们的输出。最终结果如下所示:

“写意胜形”伤害测算
从输出端来看,虽然夕三技能的输出不及二技能“泼墨淋漓”,但也已经非常高了,足以应对绝大多数的情况。在开启技能后,夕的攻击间隔虽然会增加到4.06秒,但攻击力面板会相应地提到一个新的高度。
三、实战应用 :在这份有关伤害的测算中,我们可以发现一点:夕的技能,并不会对自身召唤物“小自在”产生任何属性加成。小自在自身的输出面板,也并没有甩开其他的召唤物。因此它的唯一优势,就在于两个字: 量多 ,不用畏惧死亡。

以量取胜的小自在
所以夕三技能“写意胜形”的真正战略作用,并不是让夕与小自在一起输出,而是在于: 阻挡与工具人 。召唤物小自在拥有着十足的功能性,不止是阻挡而已。随意举几个可以想到的用法: 吃下暴鸰或虚幻无人机的空投*弹炸**,或者是吃下浮士德的紫箭、阻挡弩炮 ,或者是在这次活动关中,吸引怪物“自在”能改变阴阳的技能“纬地经天”,都是对战局非常有帮助的。

工具人“小自在”
就像上图中所展示的那样,本来虚幻无人机与冰刀的组合非常*力暴**,容易瞬秒我方干员。但是有了无限刷新的小自在,问题瞬间迎刃而解。 吃技能、吸引火力、阻挡敌人前进的脚步 ,这些原本是快活干员们的活计,都可以分一些给小自在。
四、专精收益 :“写意胜形”在专精中会继续提升夕本人的攻击力,同时略微降低一些启动技力需求。从七级到专三的DPS提升分别是:2.4%、4.0%、4.6%。我们刚刚分析了,这个技能本身是一个战略意义极强的技能,而专精并不提升这份功能性。再加上输出端的提升本身也极其有限,建议练度: 7级 (推荐)。
五、综合来看 :夕的三技能“写意胜形”同时具备了输出与战略的功能性。尤其值得称道的就是小自在,相较于快速复活系的特种干员,夕所召唤的小自在不仅不消耗部署费用、不需要手动操作,并且能够化解许多非常棘手的敌方combo。我们唯一要仔细权衡的,就是夕的部署位置和朝向。新的对策已经出现,怎么能够停滞不前?
基建与综合评价
1、基建技能 :夕的两个基建技能“不以物喜、不以己悲”都是在控制中枢生效的,但却适配于两套体系:“进驻控制中枢时,控制中枢内所有干员的心情每小时消耗-0.05;当自身心情处于12以下时,人间烟火+15;自身心情每小时消耗+0.5;当自身心情大于12时,感知信息+10。”

夕入驻控制中枢
“人间烟火”又是一套全新的体系,基建变得越来越复杂了。整体而言,目前这套以夕为核心的体系,是需要搭配特种干员乌有配套使用的。相当于: 每一点人间烟火=1%贸易站效率,满配乌有能拥有35% (20%+15%) 的效率 。在最终效率上持平了能天使与雪雉,但是要求却非常严苛,异常麻烦。
如果想要触发这份贸易站效率,需要: 让夕入驻控制中枢,且自身心情处于12点以下;乌有入驻贸易站,同时宿舍住满干员 。换言之,其最佳触发的时机是: 每天宿舍两班倒的时候可以选择 ,届时正好满足夕的心情足够低、且宿舍能够住满人。整体而言目前并不特别实用,加成也没有高到我们去为了它去单独适配体系,建议等待未来更多人间烟火系的干员实装后再考虑。

迷迭香体系
夕的第二基建天赋“不以己悲”,是迷迭香体系的又一块拼图。同样是入驻控制中枢触发,再加上原本迷迭香体系中的絮雨与爱丽丝, 目前最高能够达到55%的效率加成 。操作方法越来越复杂了:需要迷迭香、絮雨、爱丽丝三人都完成精二;夕入驻控制中枢,迷迭香入驻制造站,絮雨入驻人力办公室,爱丽丝入驻宿舍,才能最终完成组建。
追求极限基建效率的博士可以考虑 ,所长反正是看着头疼。而且要考虑到一点: 夕的心情消耗比常规干员要更快 ,当心情降低到一半以下时,这份加成作用还会失效,要为她重新搭配乌有“人间烟火”体系进贸易站。复杂程度堪比职场做项目计划表,绝了。

夕的潜能提升
2、潜能提升 : 夕 潜能提升的核心是四潜 ,群法能增加的攻击力总是比其他职业要高,足足34点,带来的DPS提升分别是:3.5%。五潜时会提升潜能,让第一天赋“化境”的层数上限增加了三层,如果能触发带来的输出提升还是可观的:3.8%。但是考虑到在大多数作战中,夕并没有机会击杀18个目标单位,因此只建议追求极限的博士提升。综合潜能建议: 四潜 。
3、综合来看 : 兴起而来的画之大者,炎国的画家,夕 。对于萌新博士而言,夕在精一阶段时是一个纯粹的法伤输出。虽然作为攻击间隔大的群法有一丝尴尬,但是她凭借着输出可以比肩点燃的一技能“工笔入化”,毫无疑问是一位极其好用的干员。推荐度: ★ ★ ★★ ;
对于队伍已经成型的博士而言,夕的功能性开始有所展现。她有着登顶群法的输出能力,在某些情况下甚至能够与火山掰掰手腕;也依靠着“小自在”成为了一些情况下的特殊对策,尤其是主线第六章和面对浮士德。但是她的缺点也同样明显,那就是“没有控制、技能周转也不快”,单独作战并非无解强。 她更需要队友辅助为她创造输出环境,搭配起来才更强 。推荐度: ★★★✰ ;
对于阵容到了大后期,拥有多名高练度初雪、莫斯提马、麦哲伦等干员的博士而言,拥有着极高输出的夕能够完全发挥她的实力。这时一技能因为缺乏功能性反而没有那么常用了,二三技能潜力无限,推荐度: ★★★★✰
首发都在“奇形怪状研究所” ,专注于明日方舟、崩坏3的深度游戏攻略。如果文章对大家还有用,就关注一下吧~