乐居财经 范慧茹 发自郑州
站在物管资本浪潮的风口,不管有没有机会上市,都勾起了物企蠢蠢欲动的心。在河南彳亍独行12年的浩创物业,也开始了对外“征战”的步伐。
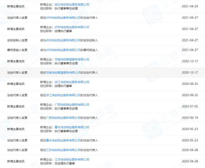
4月23日,河南浩创物业大股东刘智敏在山西省临汾市成立了临汾浩创物业服务有限公司,注册资本1000万元,持股95%,并担任法定代表人,浩创物业二股东乔路菊持股5%。
自去年4月底起,刘智敏在多个地方成立浩创物业的区域性公司,并两次增扩河南大本营浩创物业的经营范围,在去年底更是紧跟行业“时髦”,成立了智慧物业服务公司。
翻开浩创物业的更多工商变更信息,刘智敏的物业版图扩张计划也徐徐冒出头来。
多地安营扎寨
成立于2008年的浩创物业,在10余年的时间不曾成立任何子公司,尽管业务也陆续走出了河南,但大多采用各地区的物业公司独立运营模式,不存在与河南浩创物业的股权牵扯。
如果时间久了,多少不便于上层的垂直性管理。或意识到这一问题的浩创物业大股东刘智敏,自2020年4月起,开启了收拢权力以及直接成立物业公司的一系列操作。
去年4月27日,刘智敏和乔路菊在江苏成立了江苏浩创物业服务有限公司,两者分别持股95%和5%。自此也成为了刘智敏在各地“跑马圈地”的开端,紧随其后成立的是重庆浩创物业、广西浩创物业、浙江浩创物业等。

进入2020年12月份后,河南浩创物业进一步表露出革新之意。12月15日,河南浩创物业首家子公司——河南浩创智慧服务有限公司(简称“浩创智慧服务”)正式成立。

进入今年3月份,河南浩创物业的经营范围自去年6月份增加了“通信业务代理、话费缴存、通讯设备销售”后,进一步增加了城市绿化管理、房地产经纪、住房租赁、停车场服务、家政服务、洗车服务等多项业务,颇有向市政环卫等领域进军的意味。
一边成立子公司、扩增经营范围,一边收权散落在各地的浩创物业控股权,刘智敏忙不停歇。今年4月27日,刘智敏从刘志成手中收回泸州浩创物业服务有限公司80%的控股权,另外20%由乔路菊持有,该公司成立于2019年6月18日。
经过此番较为密集的成立物业公司以及收权,截至目前,由刘智敏直接控股的全国各地的浩创物业公司达13家,此外,还有近10家冠有“浩创物业”名称的其他区域性物业公司分掌在其他人手中,其中便有由刘志成持股10%的昆明浩创物业。
若按照近日的收权趋势来看,这近10家物业公司或会陆续转移到刘智敏手中。
搭上万物云
浩创物业与成立超过20年的众多老牌物业公司相比,12年的发展时间并不算长,但却是较早剥离地产公司的一家物企。
据浩创物业官网显示,其于2015年剥离地产公司浩创集团,而浩创集团早于2002便在郑州成立,也就是说地产公司成立6年后才有了浩创物业,而在7年后又剥离地产公司。
据企查查显示,在2019年9月份前,浩创物业的持股人还是申艳霞和刘恩平,分别持股85%和15%,而申艳霞就是浩创集团的股东之一,持有浩创集团15%的股权。在这之后河南浩创物业的股权才转移到了刘智敏和乔路菊手中。
在剥离地产公司之前,浩创物业服务项目仅有10余个,管理面积也只有百余万平方米,选择在此时剥离浩创集团略显单薄。
较为巧合的是,与剥离地产公司浩创集团同一年,浩创物业与当时还未更名的万科物业“联姻”,彼时浩创物业也还未更名,在浩创集团旗下时叫做“兴邦伟业物业”。
2015年9月20日,兴邦伟业物业与万科物业当时刚刚推出的“睿联盟”签署战略合作,而加入到“睿联盟”的成员,将使用统一的设施设备、员工、客户、支付系统或标准,同时通过睿服务合作模式,可以共享这一整套解决方案。
在万科物业的“睿服务”加持下,浩创物业剥离地产公司似乎也有了更多的“底气”。
时隔4年后,据2019年官方公布的数据显示,浩创物业管理面积已达600余万平方米,布局深圳、广州、云南等7个大中小城市。业务范围涵盖住宅、案场、公寓物业服务以及资产服务、开发商服务等。
据浩创物业公布的2020年度报告显示,2020年度浩创物业新交付项目7个,在管面积增加52.23万平方米,估算下来,截至2020年底,其在管面积约700万平米左右。
尽管和5年前刚过百万的规模相比,浩创物业取得了一定的进步,眼下在上亿规模已屡见不鲜的物管行业市场,想要赢得更多的机会和资本青睐,还有很长的路要走。