随着双碳目标的推动,光伏太阳能发电成为这几年十分火爆的行业。最近,微商电商调研注意到,金伯睿(山东)新能源科技有限公司推出的“中瑞光电”项目十分高调地在全国招商,以“挣阳光的财富,做太阳的老板”的口号,宣传有国家政策支持、央企团队助力,只需要投资3390元,便可以实现“处处有收益,时时能创收”。
但事实上,中瑞光电的加盟模式设置了四个级别,采用“拉人头”、“团队计酬”的模式招商,而中瑞光电背后的企业金伯睿相关高管深陷法律纠纷,数次成为“老赖”。针对金伯睿以及中瑞光电我们进行了深入了解。


公司背景,金伯睿集团



图片来源:企查查
企查查APP显示,“中瑞光电”的主体公司是金伯睿(山东)新能源科技有限公司,该公司成立于2015年7月29日,注册资本为500万元,法定代表人马英国,马英国持有金伯睿(山东)新能源科技有限公司52%的股份,并担任执行董事兼经理,是该公司的实际控制人及最终受益人。除此之外,马英国还持有金伯睿(山东)贸易有限公司48%的股份,并且100%控股了上海金伯睿贵金属制品有限公司,同时担任该公司执行董事。关于马英国,据代理介绍称他曾在国家电力投资集团公司工作。

图片来源:企查查


图片来源:企查查
从中瑞光电的官方微信公众号上的介绍可知,金伯睿(山东)新能源科技有限公司隶属于香港金伯睿集团。微商电商调研调查得知,香港金伯睿集团是一家私人股份有限公司,成立于2021年3月18日。而金伯睿集团的另一个主要公司主体是深圳金伯睿基金管理有限公司。据相关宣传,金伯睿集团在新能源、金融、绿色农业、餐饮、新零售和数字货币交易所等多领域建立了生态产业体系。



深圳金伯睿基金管理有限公司工商信息变更记录
企查查APP 显示,深圳金伯睿基金管理有限公司在2021年以前的大股东和实际控制人为姬兴辉。2020年以前,该公司由姬兴辉控股60%并担任其法定代表人、执行董事。2020年11月18日,刘芬芬、刘弟红两位股东退出,姬兴辉对该公司100%控股,且兼任总经理一职。2021年2月1日,企业负责人变更为顾庆有,顾庆友持有该公司100%的股份并担任执行董事兼总经理。

种种迹象表明,姬兴辉是金伯睿集团的重要领导人。2017年10月26日,金伯睿集团与百世联合集团合作,就光伏屋顶发电项目达成战略合作,姬兴辉出席,以董事长的身份发表讲话;

2018年12月15日,香港金伯睿集团成立的新闻发布会上,姬兴辉作为金伯睿集团董事长出席,并与相关企业签约。
在2018年年初,姬兴辉变成了金伯睿集团总经理。2018年1月25日,在金伯睿集团与乾誉隆集团合作的新闻稿里,金伯睿集团董事长是李淑珍,总经理为姬兴辉。2019年,姬兴辉又领导深圳金伯睿基金管理有限公司与山东玩购网络有限公司,针对斩货玩购电商平台项目达成战略合作并投资3000万元。
另据了解,在中瑞光电项目的宣传课件上,深圳金伯睿基金管理有限公司成为了中瑞光电的私募基金公司。


图片来源:企查查
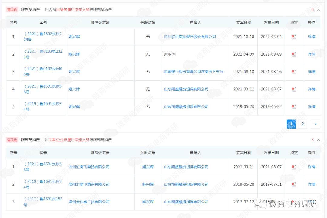
微商电商调研注意到,姬兴辉曾因未按时履行法律义务被强制执行7次;因民间借贷纠纷案由被起诉一次;被法院列为失信被执行人1次;因人员自身未履行法定义务被限制高消费6次;因关联企业未履行法定义务被限制高消费3次;涉及终本案件三起,被执行总金额213.22万元,未履行总金额210.63万元。


来源:中国裁判文书网
从裁判文书网公示的相关纠纷可以看到,姬兴辉身陷多个借贷纠纷中。判决书显示姬兴辉、苏文芳(姬兴辉的妻子)拖欠中国银行股份有限公司济南历下支行借款本金638643.48元、利息39066.41元以及本金罚息不还,成为了失信被执行人。另外,姬兴辉还因为向尹承华借款100万元未还,而被告上法庭。
据代理介绍,“中瑞光电”的合作企业除了深圳金伯睿基金管理有限公司,还有天合光能股份有限公司、山东力诺瑞特新能源有限公司、中矿联创新能源集团有限公司山东分公司和阳光保险集团股份有限公司。其中值得注意的是,山东力诺瑞特新能源有限公司和天合光能股份有限公司都有多条风险提示。

图片来源:中瑞光电代理
据企查查APP显示,山东力诺瑞特新能源有限公司曾因买卖合同纠纷案由被起诉3次,因其他行政行为案由被起诉3次,因承揽合同纠纷案由被起诉2次,因借款合同纠纷案件执行案由被起诉1次,因劳动争议案由被起诉1次,因票据纠纷案由被起诉一次,因票据追索权纠纷案由被起诉1次,因财产损害赔偿纠纷案由被起诉1次,因财会合同服务纠纷案由被起诉1次,因其他案由被起诉1次。
天合光能股份有限公司曾因劳动争议案由被起诉18次,因经济补偿金纠纷案由被起诉14次,因买卖合同纠纷案由被起诉9次,因劳动合同纠纷案由被起诉4次,因侵权责任纠纷案由被起诉 2次,因机动车交通事故责任纠纷案由被起诉2次,因不当得利纠纷案由被起诉1次,因人事争议案由被起诉1次,因公路货物运输合同纠纷案由被起诉1次,因合同纠纷案由被起诉1次,因工伤保险待遇纠纷案由被起诉1次,因建设工程施工合同纠纷案由被起诉1次,因承揽合同纠纷案由被起诉1次,因提供劳务者受害责任纠纷案由被起诉1次,因案外人执行异议之诉案由被起诉1次,因生命权、健康权、身体权案由被起诉1次,因其他案由被起诉1次。



图片来源:企查查

“中瑞光电”商品价格虚高,商品仅为工具?
微信搜索“中瑞光电”,可以通过其公众号*载下**“中瑞光电”APP,或者通过代理分享的二维码进行注册*载下**登录。
中瑞光电讲师讲解到,金伯睿集团所涉及的领域为地面光伏电站、农村分布式光伏扶贫电站、村集体集中电站、工商业分布式光伏电站等。2016年,金伯睿(山东)新能源科技有限公司建设了自己的光伏电站。目前,公司已经拥有360座光伏电站,而公司2022年的建设目标是 1000座光伏电站。为了配合国家达到“碳达峰、碳中和”的目标,金伯睿开始建立和推广“中瑞光电”商城,面相全社会融资,邀请广大投资者加入“中瑞光电”,共同建设更多光伏电站。其宣称,通过手机*载下**“中瑞光电”APP便可投资光伏电站项目,仅需3390元,就可以获得长达25年的电费分红收益。等公司上市,还有机会成为原始股东。只要有阳光,便有电费分红!这便是“挣阳光的财富,做太阳的老板”。
在“中瑞光电”讲师和代理的口中,“中瑞光电”商城是一个顺应国家政策,投资共建电站,获得电费分红的平台。然而,根据微商电商调研发现,该平台售卖着价格虚高的商品。

图片来源:中瑞光电APP
“中瑞光电”商城中有水杯、锅具、茶叶、酒、护肤品等商品。值得注意的是,所有商品统一定价339元/份,10份起购。10份的价格3390元,恰好是“中瑞光电”的投资门槛。投资人只需要任意选择一款商品购买10份,便可加入“中瑞光电”,获取持续收益。


图片来源:中瑞光电APP

“中瑞光电”四级推广拉人头,模式涉嫌违法违规
据“中瑞光电”代理宣传,只需要投资3390元,便可以“处处有收益,时时能创收”,那么“中瑞光电”是如何赚钱的呢?

图片来源:中瑞光电代理
据代理介绍,中瑞光电主要是做团队市场获得收益,拥有自己的团队以后,亏可以享受晋升激励。晋升激励分为四个级别,分别是主管——主任——经理——总监。
主管级别:自购商品100份,额度达到33900元,且团队累计达到30万业绩可成为主管。主管可享受团队总释放积分20%的积分释放加速。团队有达到主管的同级,可以获得平级奖励,获得其每日释放积分10%释放加速。
主任级别:团队拥有两个主管可以成为主任。主任可享受团队总释放积分40%的积分释放加速。团队有达到主任的同级,可以获得平级奖励,获得其每日释放积分10%的释放加速。
经理级别:团队拥有三个主任可以升级为经理。经理可享受团队总释放积分50%的积分释放加速。团队有达到经理的同级,可以获得平级奖励,获得其每日释放积分10%的释放加速。
总监级别:团队拥有三个经理可以升级为总监。总监可享受团队总释放积分60%的积分释放加速。团队有达到总监的同级,可以获得平级奖励,获得其每日释放积分10%的释放加速。
“中瑞光电”的模式收益主要有四个部分,除了上面介绍的晋级奖励,还有静态买赠、推广收益和公司分红。具体内容如下:
静态买赠:在中瑞光电商城花费3390元购买十份商品,可获得商品包邮到家和赠送的10000绿碳积分。绿碳积分每天以3‰比例释放到账户,其中70%释放为兑换积分,30%释放为sola积分。那么,这些积分有什么用处呢?


图片来源:中瑞光电代理
10000绿碳积分每天可释放30(10000×3‰)积分,其中21分(30×70%)为兑换积分,9分(30×30%)为sola积分。
兑换积分可用于兑换黄金。但兑换的价格为699元/克(699积分/克),远高于市场价。并且5克起兑;也可用于在兑换商城中兑换高价商品,可获得商品和1.5倍赠送的绿碳积分(花费10000积分兑换商品,获得15000绿碳积分),获赠的绿碳积分仍旧以3‰的比例每天释放到账户。
sola积分可以用于电站分红。100sola积分可参与一次共建电站,不限制次数。共建电站可获得电站分红,每月获得共建积分10%的兑换积分作为收益。也可以将sola积分直接转换成兑换积分,最少转换100积分,每次消耗10%积分的手续费。不仅如此,代理还宣称,等到金伯睿(山东)新能源科技有限公司上市时,便从sola积分最多的投资者里面挑选200名投资者成为原始股东。
积分还可以用于参加积分游戏-转盘抽奖,转盘抽奖每次消耗10积分,中奖率为100%,每日可参加20次。奖品有10元现金券、50元现金券、兑换积分、sola积分以及实物商品(现金券可转换为积分)。

推广收益:10000绿碳积分每天释放3‰(30积分),全部释放完需要333天,而直接推荐一个好友,可获得其70%释放积分的加速。推荐好友购买3390的商品,好友获赠10000绿碳积分,每天释放30分,便可以获得30×70%=21积分的释放加速。每日便可获得51(30+21)积分的释放,释放周期缩短为196天,直推10个人,释放周期便可缩短为41天,直推100个人,释放周期便可缩短为5天。直接推广好友达到3人,便可以获得间接推广加速。上级代理所推广的好友所发展的所有直属下线和间接下线都可以为上级提供30%间接推广加速,没有层数和时间限制。此时,也就形成了团队。

图片来源:中瑞光电代理
近日,“中瑞光电”还推出了“推广注册,豪礼送不停”的活动。推荐两位新朋友注册中瑞光电APP,并邀请入群。即可联系客服,上报新朋友注册编号,领取价值159元的“宝芝林太白醒”礼盒(每日赠送50箱,赠完为止)。而关于宝芝林太白醒的相关调查,此前微商电商调研已经进行了深度曝光。


图片来源:中瑞光电公众号
公司分红:等级达到经理和总监后可以额外享受公司分红。公司将全公司每天释放总积分的40%作为分红奖励。其中,50%的积分平均分配给所有经理和总监,余下的50%积分按照每个经理和总监的团队业绩的多少进行加权比例分红。

图片来源:中瑞光电代理
以上便是“中瑞光电”收益制度的具体内容。根据制度计算,投资人投资3390元购买商品,获得10000绿碳积分。绿碳积分每天以3‰释放到账户,在静态的状态下,释放完毕需要333天。得到7000兑换积分和 3000sola积分。兑换积分并不能直接提现,只能以699元/克的价格兑换为10克黄金,或者用7000兑换进行复购,获得1.5倍的兑换积分继续释放。3000sola积分全部投入共建电站,每月可获得300兑换积分(10%)的收益。或者将3000sola积分全部转换为2700兑换积分(扣除10%手续费),可兑换3.80克黄金或商品。
按照这样的算法,投资3390元需要333天才能获得大约13.8克黄金的静态收益,按照如今黄金的市场价格,333天的纯利润约为2000多元。想要加速获得收益就必须不断推荐好友购买高价商品,并且,当绿碳积分释放完后,团队就不能带来任何收益。想要继续赚钱,就需要继续购买高价商品,以此来获取积分。
“中瑞光电”以“光伏发电”项目受到国家政策支持,发展前景好为宣传噱头,诱导投资者进行投资。根据《禁止传销条例》第七条规定,下列行为,属于传销行为:
(一)组织者或者经营者通过发展人员,要求被发展人员发展其他人员加入,对发展的人员以其直接或者间接滚动发展的人员数量为依据计算和给付报酬(包括物质奖励和其他经济利益,下同),牟取非法利益的;
(二)组织者或者经营者通过发展人员,要求被发展人员交纳费用或者以认购商品等方式变相交纳费用,取得加入或者发展其他人员加入的资格,牟取非法利益的;
(三)组织者或者经营者通过发展人员,要求被发展人员发展其他人员加入,形成上下线关系,并以下线的销售业绩为依据计算和给付上线报酬,牟取非法利益的。
第二十四条规定,有本条例第七条规定的行为,组织策划传销的,由工商行政管理部门没收非法财物,没收违法所得,处50万元以上200万元以下的罚款;构成犯罪的,依法追究刑事责任。有本条例第七条规定的行为,介绍、诱骗、胁迫他人参加传销的,由工商行政管理部门责令停止违法行为,没收非法财物,没收违法所得,处10万元以上50万元以下的罚款;构成犯罪的,依法追究刑事责任。有本条例第七条规定的行为,参加传销的,由工商行政管理部门责令停止违法行为,可以处2000元以下的罚款。
“中瑞光电”以购买一定额度的商品作为受利条件,通过推荐拉人头并使其消费来加速获利,形成上下线关系的团队,并以团队的销售业绩来获得相应的分红。这种团队计酬的模式或涉嫌违法违规。

后 记
近年来,以光伏发电为宣传噱头的项目,大肆拉人头并最终被法院定性为组织领导传销罪的案例不在少数。2016年12月6日,车某、杨某伙同罗某三人共同出资成立了广州某能源科技有限公司,以推广光伏发电为名,在广州某能源科技有限公司里建立一个资金投资平台,要求他人以每股1400元或2800元的额度加入平台获取会员资格,并以静态奖励和动态奖励为诱饵,通过拉人头方式发展下线并从中提成非法获利。罗某、庞某、陈某、钱某加入该公司的资金投资平台后,以推广光伏产业为名,通过讲课、现场推介、微信宣传等方式发展的直接或者间接下线累计超过三十人且层级在三级以上。法院审判认为,车某、杨某作为广州某能源科技有限公司股东,是该公司资金投资平台的设立者,应对该平台设立后产生的后果承担法律责任,罗某、庞某、陈某、钱某涉嫌组织、领导传销活动,涉案金额为250万元以上,按照《最高人民法院、最高人民检察院、公安部关于办理组织领导传销活动刑事案件适用法律若干问题的意见》:判处罗某有期徒刑五年十一个月,并处罚金220000元,杨某有期徒刑五年十一个月,并处罚金220000元,车某有期徒刑五年九个月,并处罚金250000元,庞某有期徒刑五年八个月,并处罚金190000元,陈某有期徒刑五年六个月,并处罚金150000元,钱某有期徒刑五年三个月,并处罚金100000元。
另外,2019年3月15日,建始县公安局发布通告,湖北永恒太阳能集团公司丁尚云等人涉嫌组织、领导传销活动案,丁尚云、刘利福、刘春波等多名涉案骨干成员被依法采取刑事强制措施。据悉,湖北永恒太阳能集团公司宣传是一家集太阳能光电研究、生产、销售、安装、服务为一体的股份制公司。规划在3到5年,拓展3千家子公司,每家子公司建设云电站400座,每座云电站装机量30-50KW,每座电站日收益为200元,全年综合收益876亿。2017年公司开始出现停止支付承诺的“工资”的现象,直到建始县公安局发布通告,宣布永恒公司涉嫌传销,投资者的欠款也未收回。
“光伏发电”确实是国家扶持的新能源项目,享受国家政策支持。但对于普通投资者而言,想要投资光伏项目,还是需多方考察,谨慎投资,谨防上当受骗。