汽轮机设备简介
1、汽轮机本体
汽轮机包括汽轮机本体,调节、保安系统及辅助设备三大部分。蒸汽轮机本体包括:
(1) 静体(固定部位)——汽缸、喷嘴、隔板、汽封等。
(2) 转子(转动部分)——轴、叶轮、叶片等。
(3) 轴承(支承部分)——径向和止推。
2、汽缸
(1) 汽缸的组成:汽缸是汽轮机的外壳,汽轮机本体的主要零部件几乎包含在汽缸内。汽缸内部装有喷嘴室、喷嘴、隔板、隔板套和汽封等零部件。汽缸外部装有调节汽阀及进汽、排汽和回热抽汽管道等。
(2) 汽缸作用:汽缸是汽轮机的外壳。其作用是将汽轮机的通流部分与大气隔开,形成封闭的汽室,保证蒸汽在汽轮机内完成其能量转换过程。
3、汽缸内部构件
(1) 喷嘴、隔板

喷嘴

隔板
喷嘴和隔板的作用和特点:喷嘴是组成汽轮机的主要部件之一。它的作用是把蒸汽的热能转变为高速汽流的动能,使高速汽流以一定的方向从喷嘴喷出,进入动叶栅,推动叶轮旋转做功。隔板由外缘,喷嘴和板体三 部分组成,为便于安装,隔板一般都做成对分的,上半隔板装在汽缸上盖内,下半隔板装在下汽缸内。第一级喷嘴直接安装在汽缸高压端专门的喷嘴室上。第二级及以后各级喷嘴安装在各级隔板上,隔板用来安装喷嘴,并将各级叶轮分隔开。冲动式汽轮机每一级由一个隔板和一个叶轮组成。冲动式汽轮机的隔板可分为焊接隔板和铸造隔板。*动反**式汽轮机不采用隔板式结构,各级喷嘴片(也叫静叶栅)直接安装在汽缸上。
(2) 汽封

汽封
1) 汽轮机汽缸两端轴孔处与转轴间有一定间隙,这样在工作时,汽缸内进汽端将发生高压蒸汽大量外漏,进入前轴承箱污染润滑油。此外凝汽式汽轮机的排汽压力在0.05公斤/厘米2(绝对)左右,即排汽端处于高真空状态,这样大气中的空气将沿边后轴孔大量漏入排汽管和凝汽器,就会破坏汽轮机的真空。因此为了减少高压端的向外漏汽和排汽端往里漏空气,要求在汽缸两端轴孔处配备气封。
2) 汽封的作用
汽轮机通汽部分的动静部分之间,为了防止碰擦,必须留有一定的间隙。而间隙的存在必将导致漏汽,使汽轮机的经济性下降。为了解决这一矛盾,在汽轮机动、静部件的有关部位设有密封装置,通常称为汽封。可分为轴端汽封(又称轴封)、隔板汽封和围带汽封三种。
(3) 转子
汽轮机中所有转动部件的组合体称作转子。包括:主轴、轴封、动叶片、止推盘、危急保安器、联轴器总承、测量盘等。


转子
(4) 叶片
动叶片和静叶片

叶片
4、轴承
轴承是汽轮机一个重要的组成部分,分为径向支撑轴承和推力轴承两种类型,它们用来承受转子的全部重力并且确定转子在汽缸中的正确位置。
根据轴承中所能承受的载荷方向的不同,又可分为支撑轴承(承受径向载荷)、止推轴承(承受轴向载荷)和支撑止推轴承(同时承受径向载荷和轴向载荷)等。
在工业汽轮机上常用的径向轴承有圆瓦轴承、椭圆瓦轴承、多油楔固定轴承和可倾瓦轴承,并且以可倾瓦轴承使用最多。可倾瓦轴承与上述轴承相比其优点是每一块瓦均能自由摆动,在任何情况下都能形成最佳油楔,高速稳定性好,不易发生油膜振荡,应用广泛。

还有一种为弹性均衡式瓦块的径向推力联合轴承,推力瓦块搁置在弹性圈上,承载时弹性圈产生弹性变形,以达到各块瓦面与推力盘平面有良好接触的要求。这种结构运用于刚性转子并且轴向载荷不太大的机组。

5、联轴器
联轴器又称对轮或靠背轮。作用是传递扭矩。
1) 刚性联轴器:结构简单,能够承受相邻转子分配来的重量,,减少支撑轴承数,并缩短机组长度。缺点是传递振动和轴向位移,对找中心要求高

2) 半挠性联轴器:两半联轴器之间加了一段波形圆筒。他在传递扭矩时是呈刚性的,还能传递一定轴向推力,部分吸收转子之间传递的振动。它也允许相邻两轴端之间有少许的不同心度和端面瓢偏度。

3) 挠性联轴器:一般有齿轮式和弹簧式两种。这类联轴器不传递轴向推力,基本不传递振动,对中要求低,但易磨损,需要润滑,造价高。多用于小型汽轮机。
6、自动主汽阀
自动主汽阀的作用是在汽轮机保护装置动作后,迅速切断汽源使汽轮机停止运行。因此它是保护装置共有的执行元件。自动主汽阀的结构可分为主汽阀和操纵座两部分,操纵座是控制自动主汽阀开启或关闭的机构。为了保证安全,要求自动主汽阀动作迅速,关闭严密,对高压汽轮机,在正常的进、排汽参数情况下,自动主汽阀关闭后(调节阀全开),汽轮机的转速应能迅速降到1000rpm以下,自汽轮机保护装置动作至主汽阀全关的时间,通常要求不大于0.5~0.8s。
7、超速保护装置
为了防止调节系统因故障失灵和突然甩负荷时引起超速危险,每台汽轮机都装有超速保护装置,它由感应机构、放大机构组成,其发讯装置通常称为危急遮断器或危急保安器,一般当汽轮机的转速升高到额定转速的1.10~1.12倍时它就动作,迅速切断汽轮机的供汽,使汽轮机停止运转。
(1) 危急保安器
危急保安器是超速保护装置的转速感应机构,它实际上是一个静态不稳定的调速器,按其结构可分为飞锤式和飞环式两类,但它们的工作原理完全相同。
(2) 危急断路滑阀
在近代汽轮机中,危急保安器动作后,飞锤飞出作为超速信号,再通过以危急断路滑阀作为传动放大机构去动作主汽阀。因此危急保安器和危急断路滑阀两者共同组成超速保护装置。
(3) 轴向位移保护
在汽轮机运行中,如果由于某种原因造成汽轮机轴向推力过大时,将导致推力瓦的乌金熔化,转子就会产生不允许的轴向位移,致使汽轮机的动、静部分发生摩擦,造成严重的设备损坏事故。因此汽轮机都装有轴向位移测量、报警和自动保护装置。
(4) 低油压保护
润滑油压过低将使汽轮机轴承不能维持正常工作,情况严重时,还会造成轴瓦损坏以及动、静部分摩擦等恶性事故。因此润滑系统中都设有低油压保护装置。低油压保护装置一般应具有下述功能:
1) 润滑油压低于正常值时,首先发出信号,提醒运行人员注意并及时采取措施。
2) 油压继续降低至某一数值时,自动投入辅助油泵以提高油压。
3) 辅助油泵启动后油压若继续下降至某一数值时,应掉闸停机,再继续降低至另一数值时,应停止盘车。
8、油系统的主要设备
(1) 油箱
作用:储油,分离油中空气、水分和机械杂物。
油箱分为污段和净段,中间隔着过滤网。回油管路布置在污段,油泵的吸油口布置在净段。为了将沉淀下来的水分和杂物排出,油箱底部一般做成斜坡形。
(2) 主油泵
安装位置:在汽轮机高压转子前端的短轴上。
离心式主油泵不能自吸,在启停阶段要靠交流辅助油泵供油。如果主油泵的入口进了空气,会造成系统的工作不稳定。主油泵的进口必须保持一定的正压,正常运行时,这一正压由注油器提供。
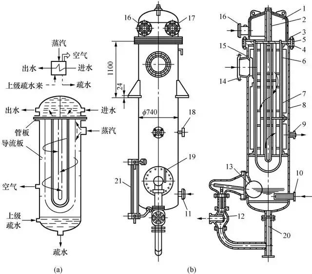
(3) 注油器
注油器又称射油器,它实质上是一个射流泵;对于大型机组的供油系统,通常装有两个注油器,可并联或串联。以下是其工作原理图,注:1——喷嘴;2——混合室;3——扩压管

注油器工作原理图
9、主要辅助设备
(1) 凝汽器
凝汽器是热力循环的冷源。其基本功能是接收汽轮机的排汽并将其凝结成水,使汽轮机排汽口形成最佳真空,使工质膨胀到最低压力,尽可能多地将蒸汽热能转换为机械能。凝汽器是一个工作在真空条件下的表面式热交换器,其具体功能有:
1) 冷却汽轮机的排汽,使之凝结为水,使凝汽器形成机组安全、经济运行的真空。
2) 把排汽的凝结水循环使用。
3) 在正常运行时,凝汽器还可以起到一级真空除氧器的作用,能够除去凝结水中所含有的气体,从而提高水的质量,防止设备腐蚀。


凝汽器工作原理图
(2) 抽气器
由于凝汽器或乏汽管等连接处的不严密,势必有空气从外界漏入。为了保持凝汽器中有较高的真空度,必须采用抽气设备将漏入的空气不断抽走,抽气器的作用就是将凝汽器中的空气不断抽出,保持凝汽器的良好真空。以下是其工作原理示意图,注1——工作喷嘴;2——混合室;3——扩压管

喷射式抽气器工作示意图
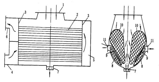
(3) 低压加热器
低压加热器是汽轮机回热加热系统中处于凝结水泵至除氧器之间的加热器。有表面式和混合式两种。较常用的是表面式管壳式结构,被加热的水在管内流动,加热蒸汽在管外流动。其结构简单,部件采用普通材料。

加热器
(4) 高压加热器
高压加热器是位于给水泵至锅炉之间承受高的给水压力和温度的加热器。高压加热器是热力系统中的主要辅机,因其承受的压力高,如发生泄露而不能正常运行时,不仅影响全厂热效率,还要降低整套机组的输出功率。
(5) 除氧器
除氧器作用:除去锅炉给水中的氧气和其他不凝结气体,防止热力设备腐蚀和传热恶化,保证热力设备的安全经济运行。是给水回热系统中的一个混合式加热器,高压加热器的疏水、化学部水剂全厂各处水质合格的高压疏水、排汽等均可汇入除氧器加以利用,减少发电厂的汽水损失。

除氧器

除氧器
10、汽轮机设备组成

汽轮机设备的组成图
11、水锤
在压力管路中,由于液体流速的急剧变化,从而造成管中的液体压力显著、反复、迅速地变化,对管道中有一种“锤击”的特征,这种现象称为水锤(或叫水击)。
水锤有正水锤和负水锤之分,它们的危害有:正水锤时,管道中的压力升高,可以超过管中正常压力的几十倍至几百倍,以致管壁产生很大的应力,而压力的反复变化将引起管道和设备的振动,管道的应力交变变化,将造成管道、管件和设备的损坏。负水锤时,管道中的压力降低,出会引起管道和设备振动。应力交递变化,对设备有不利的影响,同时负水锤时,如压力降得过低可能使管中产生不利的真空,在外界压力的作用下,会将管道挤扁。
为了防止水锤现象的出现,可采取增加阀门起闭时间,尽量缩短管道的长度,在管道上装设安全阀门或空气室,以限制压力突然升高的数值或压力降得太低的数值。
12、汽轮机积盐
带有各种杂质的过热蒸汽进入汽轮机后,由于做了功,压力和温度便有所降低,而钠化合物和硅酸在蒸汽中的溶解度便随着压力的降低而减小。当其中某种物质的携带量大于它在蒸汽中的溶解度时,该物质就会以固态排出。沉积在蒸汽的通流部分。沉积的物质主要是盐类,这种现象常称汽轮机积盐。
13、汽轮机调节系统
汽轮机调节系统的基本任务是:在外界负荷变化时,及时地调节汽轮机的功率以满足用户用电量变化的需要,同时保证汽轮机发电机组的工作转速在正常允许范围之内。
根据其动作过程,一般由转速感受机构、传动放大机构、执行机构、反馈装置等组成。
14、调节系统的静态特性和动态特性
调节系统的工作特性有两种:即动态特性和静态特性。在稳定工况下,汽轮机的功率和转速之间的关系即为调节系统的静态特性。从一个稳定工况过渡到另一个稳定工况的过渡过程的特性叫做调节系统的动态特性,是指在过渡过程中机组的功率、转速、调节汽门的开度等参数随时间的变化规律。
15、加热器的种类
加热器按换热方式不同,分表面式加热器与混合式加热器两种型式。按装置方式分立式和卧式两种。按水压分低压加热器和高压加热器。一般管束内通凝结水的称为低压加热器,加热给水泵出口后给水的称高压加热器。