日光灯构造及作用:日光灯两端各有一灯丝,灯管内充有微量的氩和稀薄的汞蒸气,灯管内壁上涂有荧光粉,两个灯丝之间的气体导电时发出紫外线,使荧光粉发出柔和的可见光。

日光灯工作特点:灯管开始点燃时需要一个高电压,正常发光时只允许通过不大的电流,这时灯管两端的电压低于电源电压。 主要由灯管、镇流器、启动器组成。

请点击此处输入图片描述

请点击此处输入图片描述
日光灯灯管的两端各有一个灯丝,灯管内充有微量的氩气和稀薄的汞蒸气,灯管内壁上涂有荧光粉。两个灯丝之间的气体导电时发出紫外线,使涂在管壁上的荧光粉发出可见光。

请点击此处输入图片描述
镇流器

请点击此处输入图片描述
镇流器是一个带铁芯的线圈,自感系数很大。
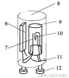
启动器

请点击此处输入图片描述
是一个充有氖气的小灯珠。装有两个电极:静触片、U型动触片。
温度升高时,动触片与静触片接通;温度降低时,动触片与静触片分离。
日光灯的点燃过程

请点击此处输入图片描述
① 闭合开关:电压加在启动器两极间,氖气放电发光,发热使动触片与静触片接触,导致电路接通。灯丝和镇流器中有电流通过。

请点击此处输入图片描述
② 电路接通后:启动器中的氖气停止放电,动触片冷却收缩,两个触片分离,电路自动断开。
③ 在电路突然断开的瞬间,由于镇流器电流急剧减小,从而产生很高的自感电压,方向与电源电压方向相同,

请点击此处输入图片描述
两个电压叠加起来,形成一个瞬时高压,灯管中的气体被击穿,从而导通发光。

请点击此处输入图片描述
日光灯开始发光后,由于交变电流通过镇流器线圈,线圈中会产生自感电动势,它总是阻碍电流的变化,这时的镇流器起着降压限流的作用,保证日光灯稳定发光。
《技术咨询本人微信:dianli936》
《电力工程技术QQ二群:569901600》
本文引自:电力工程技术微信公众号平台,订阅号:china-dianli,欢迎关注!

请点击此处输入图片描述