长相青春,身材娇小,她活跃在抖音、快手上,为自己代言,她就是网红小小如。
“这姑娘很聪明,人家都是营销产品,她是营销自己再带产品。”
“以前觉得她挺励志的,穿着熊外套发传单,年纪这么小,就出来创业,还有他的家人也是她在帮衬。后面看抖音上到处都喊她董事长,就连自己也是如此,觉得有点装了。”
开公司、创立品牌、多渠道卖货,从一个名不见经传的小人物到活跃在各大知名社交平台上的网红,她是如何做到的?
抖音、快手频繁出现,营销号一个接着一个,公司一步步扩大、2年买7套房、上千万的团队,这是否在走微商的“老路”?
品牌待实质审查、被怀疑贴牌;产品价格较低、被怀疑三无产品,网红小小如的背后究竟有什么秘密?
网红张曼如
据了解,小小如为抖音昵称,其真名为张曼如。还记得抖音曾经很火的网红熊外套吗?穿上它就如同梁静茹给了你勇气,可以说“什么都可以做”。张曼如就是凭借身穿网红熊外套,满头汗水在大街上发传单的视频走进大家的视线。而她的这个视频也收获了百万的点赞。顶着骄阳努力赚钱养家的形象也圈粉无数。很多网友不仅为其颜值点赞,更多的是为她的努力和奋斗而点赞。

抖音截图
“当时觉得一个小姑娘,看着年纪轻轻,这么辛苦地为了更好的生存,就联想到了自己之前比较辛苦的工作经历。我觉得她很励志,就点了赞,从此之后,我的抖音几乎每天都能刷到她。”抖音网友评论。
据张曼如微博“我是张曼如”介绍,她生于1998年,广东人,是一位贫困家庭出身的女生。因家境困难,13岁退学,做过制衣工、服务员、销售、在外摆摊等工作,17岁创业,20多岁创立公司。张曼如长相甜美,又很能干,小小年纪当上董事长,是大家对她的初印象,也因此走红于抖音、快手等社交平台。
颜值君在抖音中搜索张曼如或是小小如,一个接着一个的抖音宣传号,一个更比一个“励志”的视频,这大概也是张曼如快速被大家熟知的“诀窍”。
“因为我家里7口人,所以2年买了7套房子,完成了一人一套的目标。我喜欢过接地气的生活方式,因为感觉回到了曾经在工厂里面的我。不要问我为什么买7套房,为什么要这么拼命,因为我怕穷。”这是张曼如的微博签名。
张曼如家中有7口人,爸爸、妈妈、姐姐、妹妹和两个弟弟。而家中部分成员也曾出现在“小小如”的抖音里。据了解,张曼如的姐姐叫张曼诗,妹妹叫张曼雅,而其成立的公司也以三姐妹的名字而命名,叫做广州诗如雅化妆品有限公司(以下简称诗如雅)。
天眼查显示,诗如雅成立于2017年6月8日,注册资本100万人民币,实缴0元,法人张曼如,监事谢妃四,地址为广州市番禺区石壁街屏山二村屏都路1号409。2019年8月5日,因通过登记的住所或者经营场所无法联系被广州市工商行政管理局白云分局列入经营异常名录中,2019年9月16日被移出。

天眼查截图
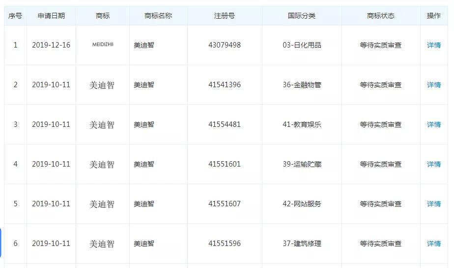
公司旗下品牌美迪智在2019年多次申请商标注册,分类分别为日化用品、金融管理、教育娱乐、运输储藏、网站服务、建筑修理、通讯服务、材料加工、餐饮住宿、社会服务等。最近一次申请日期为2019年12月16日,其商标状态都显示的是“等待实质审查”。

天眼查截图那么美迪智究竟又是怎样一个品牌呢? 多渠道售卖美迪智产品
颜值君通过代理商了解到,美迪智品牌有黑白双膜、三合一卸妆水、女神唇釉、女神口红、多效修护蛋蛋霜、女神眼线笔、清透去角质慕斯、氨基酸洁面啫喱、美颜亮肤气垫霜、水润清透防晒喷雾、多效焕颜三件套美肌亮颜隔离霜等产品。零售价均偏于平价,而成为代理后的拿货价更为便宜。

代理商提供美迪智产品零售价格表
在微博、微信、抖音、淘宝甚至是京东上都有美迪智的影子。其中让大家质疑的是,除了美迪智品牌,其他品牌的产品也在被代理商以美迪智的产品名义售卖着。例如,nove眼影、缪色唇釉、俏美人四宫格定妆粉、正彩收缩毛孔精华液等。

淘宝“小小如铺子”截图
颜值君在国产非特殊用途化妆品备案服务平台查到,美迪智2017年至2018年备案信息均为已注销状态。其委托企业为诗如雅,受托企业有广州百媚化妆品有限公司、广州德芙化妆品有限公司、广州佳洁化妆品有限公司、深圳市萨希曼化妆品有限公司、楚业健康产业(广州)有限公司、广州均衡生物科技有限公司、广州东智盟化妆品有限公司、广州迦心化妆品有限公司。值得一提的是,除楚业健康产业(广州)有限公司外,其余几家公司都有不同程度的行政处罚。


“这就是贴牌的,明明是别人家的产品,说是自己家的产品,连图都不p一下就直接放上去了,是真的当我们傻吗?”
“越来越反感张曼如了,抖音到处都是她,好多号转同一个视频,换汤不换药,时间长了,真的会产生反感。”
“年纪轻轻就自己创立公司,有自己的品牌,实至名归的董事长”以上是抖音网友对张曼如的评论。
可见,网友们对此褒贬不一,但美迪智的营销套路与其他微商相差无几,拉代理更是其中必不可少的一个环节。
代理6级变3级
颜值君添加了一位名叫“小飞”的美迪智合伙人。据小飞介绍,她代理的美迪智共有6个加盟级别。由低到高分别为一级代理、小宇宙、经销商、总代、合作伙伴、合伙人。
拿货价与享受优惠分别为300元可享受新人培训7天、1000元享受高级群培训,培训网络与人脉、3000元享受高级培训,一对一带并送一个代理、5000元享受所有高级别待遇,送3位代理,线下面对面教你做网红、10000元享受张曼如一对一带,送8位代理,线下面对面培训、50000元享受免费送一次直播推广,送5位代理。值得注意的是,美迪智代理可以随时升级,但不能累计升级。
“级别越高,拿货价格越低,级别越高可以学到更多创业经验,公司不支持退货退款。”小飞说。被问及公司代理团队时,小飞表示有上千万的代理商。

随后,颜值君又添加了一位网名为“闹够了没有”的美迪智合作伙伴,她告诉颜值君,目前最新的代理级别为三级代理,分别是总代、合作伙伴、合伙人。拿货价与享受优惠分别为3000元可享受卖货技巧+销售话术+高级重点网络培训+引流客源变现;10000元可享受总代的待遇+10位零售精准人脉+参加网络线下培训会+公司高级待遇;52000元可享受以上所有福利+在公司发展+跟随张曼如身边玩网络手把手打造你成为网红。
“之前的是六级代理,现在已经开始用三级代理了。”该代理商说。

那么,6级代理变3级,拿货价又是如何呢?



代理商提供的拿货价格表
事实上,美迪智在市场上,新旧代理制度还未统一,两者并存,无论是价格还是待遇上都有着差距,其中利益,可想而知。
文章来源:世直研