今天看到携程是否会崩的文章,小斗就有了兴趣对携程家族进行商标分析,他们公司太多了,我捡着商标申请量最多的几个公司分析一下,为大家提供点素材。
从总体商标数据来看总计申请量在2000余件,其中9和42就是软件产品和服务的分类注册量在200左右,其余可以说都是布局商标了,活动相对来说比较频繁,最近9月12号人家还在申请商标呢。而且从2016年开始,携程公司就不考虑让商标代理机构操作了,说白了,就是人家亲自跑商标局,果真是搞旅游的,假装机票是免费的!
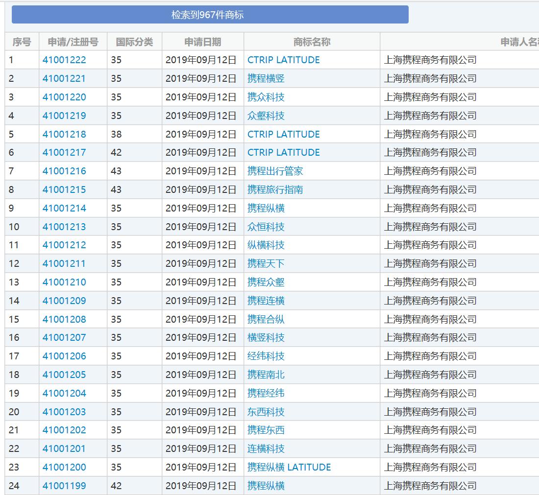
1、上海携程商务有限公司
属于携程军团中商标注册量最大的公司之一,总计注册量达到967件,无效200多件,42类技术服务费类和软件类达到130件左右,商标主要为周边产品及主流服务商标。

2、携程计算机技术(上海)有限公司
这家公司的使命似乎很明确,就是酒店服务和旅游运输,其中很明显的信号就是在租车领域进行的布局,携程定制包车,携程车驰,携程超级班车等,这家公司截止到2018年10月没有新的商标注册。从品牌离散度来看,应该是佛系注册,就是想到啥就注册啥,并没有主推品牌,申请373,无效将近200,可见商标申请费用花的也很随缘。

3、携程旅游网络技术(上海)有限公司
在金融的路上一直在屡败屡试,注册商标246件,没有多少件有效,但是仍然在坚持注册,精神可嘉,作为金融类商标,名字太普通不能吸引用户,而简单易记的名字往往显著性弱,通过数据可以看到最近申请日期是在2019年的7月份,从这个角度来看,携程应该不会崩,但是有些人可能认为和金融挂钩就要多加注意,横看成岭侧成峰吧。

综上所述,携程在商标新申请方面数量上面可圈可点,质量上面有待提升,知识产权漏洞网以侵权案分析为主,但是发现携程商标维权方面的案例少之又少,是没有人侵权携程还是携程佛系放纵,小斗回头有素材再给大家分享。不过从上面的几个公司情况的动态信息以及总体布局来说,携程公司应该不会崩,我估计是携程的IT太佛系了,出去吹吹风,回来再处理BUG吧。
