Hello,大家好!
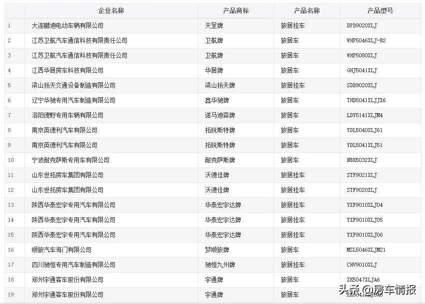
近日,工信部公布了第336批《道路机动车辆生产企业及产品公告》新产品公示,这样也就意味着即将有一大波新款房车进入市场,供消费者选择。本期新车公示中,共有22款新车参与,其中包含8款拖挂式旅居车(拖挂式房车)和14款旅居车(自行式房车),按照惯例,我们还会依据以往车友选车提问时关注比较高的产品类型,选择几款相对比较有特点、受众更广的车型为大家介绍,一起来看看吧!


(以下车型排名不分先后)
拓锐斯特牌旅居车
生产企业:南京英德利汽车有限公司
新车关键词:国六依维柯欧胜底盘、B型房车
这款由南京英德利汽车有限公司推出德拓锐斯特牌旅居车,采用你那经依维柯欧胜底盘打造而成,作为一款自行式B型房车,在同类型车中亮点并不是很大,但通过公示信息我们可以看到,这款新车的排放标准为“国VI”,这对于目前的房车市场无疑是一剂强心针,毕竟市场上在售的欧胜底盘还都是国V。


除了满足更为严格的排放标准,在公示信息中,我们也看到这款车的最大功率提高到了125kW,这点相对于现款国V车型的107kW,有着不小提升,个人十分期待这款新车的实际驾驶表现。另外有一点需要注意,国六依维柯欧胜底盘需要加注尿素,这点和大通V80 plus是一样的。

关于车身外观和内饰部分,相对来说就要普通一些了,没有过多创新,车身尺寸为5670*2040/2060*2950/2874/2726/2650mm,选装普通轮罩时整车宽度2040mm.装顶置空调时车高2950mm(选装1/1+-悬架时车高2874mm);选不装顶置空调时车高2726mm(选装选装1/1+-悬架时车高2650mm)。

宇通牌ZK5047XLJA6旅居车
生产企业:郑州宇通客车股份有限公司
新车关键词:全新设计、国六底盘
这款宇通牌ZK5047XLJA6旅居车,相信不少宇通房车的粉丝都已经看到过它的预告图了,这是一款基于进口依维柯NEW DAILY底盘打造而成的自行式C型房车,但是这款房车在外部设计上加入了宇通自己的设计元素,且取消了车头的依维柯车标,换成了宇通自己的品牌LOGO,这点对于提升品牌形象有着很好的积极性。

而这款房车实际的外观设计看起来也是非常漂亮,全新的车头设计,告别了国内市场上一成不变的“依维柯样式”,看起来高级感提升了不少,要知道这种“换标”的设计手法,也是国外很多知名房车品牌常用的设计方式。

至于这款房车的内部,从公示图中我们并没有看到更多信息,不过猜测和宇通以往的双拓展车型相差不大,也许会在内饰材质和质感上更加优秀,关于这款房车的更多详细信息,可以持续关注我们。

宇通牌ZK5041XLJ5A6旅居车
生产企业:郑州宇通客户股份有限公司
新车关键词:C型大通V90底盘房车
这款宇通牌ZK5041XLJ5A6旅居车基于大通V90底盘打造而成的自行式C型房车,众所周知大通V90底盘上市后,基于其打造的房车多以自行式B型房车为主,C型房车可选范围比较少,而这款宇通新车无疑增加了消费者可选的范围。

这款新车采用宇通家族化的设计风格,整车外观与常见的宇通房车比较相似,整车尺寸长宽高分别为5990*2370/2430*3060/3130/3160mm,选装不同型式空调时对应整车高度为:3060mm,3130mm,3160mm;4.选装遮阳棚时对应整车宽度为2430mm,取消遮阳棚时对应整车宽度为2370mm。

动力上依然是满足国六排放的,上汽Π系列2.0T柴油发动机,最大功率110kW,最大扭矩375N·m,与之匹配的是一部6挡手自一体变速箱,这套动力总成的实际表现非常出色。

至于这款车的内部设计,从公示图中可以看出,依然是保持了宇通房车的常用布局方式,后纵置床提供了双层床、上下子母床等多种形式选择,可满足不同需求的家庭选购。

诺玛蒂森牌LDY5141XLJM4旅居车
生产企业:洛阳德野专用车辆有限公司
新车关键词:售价500多万的越野房车
这款诺玛蒂森牌LDY5141XLJM4旅居车,相信我们的老粉丝应该不会陌生,在前不久我们就已经做过这款房车的视频解读,而关于这款房车相信就算我们不介绍,大家也想多了解一下,买不买先不说,全当开阔眼界了。

这款西侧你和基于德国MAN卡底盘打造而成,可以说是目前国产房车厂家生产最硬核的房车产品之一,长宽高分别达到了8525*2550*3830mm,绝对是房车中巨无霸般的存在,也因此,想要驾驶这款房车需要A1本才可以,对了,这款房车售价500万+!!

而这款动力上也是十分强悍,搭载的是一台排量达到了6.87L的柴油发动机没匹配一部自动挡变速箱,再加上底盘的三把锁,让整车的越野通过能力十分强悍。

而这款车的生活设计同样是以豪华为主,可升降的箱体,能够在打开以后在车内搭建出一个复式的结构,大大地提升了生活区的空间,而我们之前的实车体验也印证了这点,空间十分巨大,另外值得一提的是,这款车的驾驶室采用双排设计,可以容纳下6人同时乘坐,而驾驶室的空间也十分巨大,我们身高160cm的主持人,可以在驾驶室内自由直立行走,空间相当恐怖!

总的来说,本期工信部新车公示虽然来的比每期稍微晚点,但是具有看点的新车还是挺多的,尤其是采用国六依维柯底盘的新车以及宇通的新车,还是十分令人期待的!更多房车相关内容,可以持续关注“房车情报”!