
垂直医药领域“创意-发明-转化”的一站式服务平台
现代人熬夜似乎已经成为了主流。
难以放弃"精神绿洲"的年轻人们呼喊着"朋克养生"的口号,相约观赏凌晨3,4,5点的城市灯光。

自救式养生
一边熬夜一边涂贵价护肤品!
用最贵的眼霜,熬最长的夜!
一边熬夜一边祈祷自己不要猝死!
啤酒里加枸杞,可乐里加*党**参!
只是残酷的真相似乎到来得太快,那逐渐稀疏的头顶、日益明显的黑眼圈似乎都在提醒着大家没有"越夜越美丽",只有"过劳丑"。

我欲修仙,法力无边,秃头黑眼圈!
世界睡眠学会统计,全球有45%的人口有睡眠问题,各国失眠人口比例逐年攀升,且随年龄增加而升高,中国的相关比例已经高达38%,位列世界前茅。

来呀,修仙呀!
熬夜导致的休息不足将带来许多健康危害,除了给身体各脏器带来过重的负担外,对人体的内分泌及代谢功能也会带来极大的负面影响。
在熬夜时间被视为"精神绿洲"的现在,要求年轻人们十点上床睡觉也未免苛责。那么有没有其他办法解决休息不足的问题呢?答案就是:提高睡眠质量。

提高睡眠质量
我们都知道睡眠过程可以分为深度睡眠和浅度睡眠,其中深度睡眠只占整个睡眠时间的25%。研究表明只有进入深睡眠状态的中睡期、深睡期及快速眼动睡眠期才对解除疲劳有较大作用。
进入深度睡眠的条件并不苛刻。首先我们需要保证自己能稳定地入睡,例如心率平缓,其次需要保证睡眠环境安全且安静,最后需要保证睡眠时间足够且不过度。
许多时候我们很难通过自身的努力在短时间迅速调整自己的睡眠状态。由此应运而生诸多助眠药。目前市场上销售名列前茅的国产助眠药品牌包括:安神补脑液、睡宝、松果体素片、复方枣仁胶囊、睡安胶囊。除松果体素片(又称"褪黑素")外,这些助眠药多采用中医治疗学的原理,从益气养血、健脑安神、舒缓精神的角度促进人体的血液循环和新生,从而达到提高睡眠质量的目的。然而这些产品所适用的失眠症状较为有限,且对各人的效果也差异较大。
而广受青睐的褪黑素也会出现一定的副作用,包括白天嗜睡、头痛、头晕等。虽然这些副作用主要是由于体内激素水平急剧变化,各器官和身体机能所表现出来的不适应,但其使用剂量会随使用频次的提高而呈现逐渐上升的情况,长期服用过高的剂量有可能增加骨折的风险。

国产助眠药
因此我们多提倡大家通过改善自己的作息及生活规律的方法来提高自己的睡眠质量。然而当失眠情况已经严重到影响日常生活时,我们就必须考虑通过外部治疗手段的介入来解决问题了。

黄金睡眠时间
最常见的改善严重失眠症状的便是从医生处开处方药,即*眠药安**,进行服用。目前临床上跟睡眠相关的药物主要有以下几大类:苯二氮卓类(BZDs)、褪黑素类、镇静性抗抑郁药、镇静性抗精神病药、抗组胺药、选择性BZD受体α1亚单位激动剂/非苯二氮卓类BZD受体激动剂(nBZRAs)。在这中间,又以苯二氮卓类最常见。BZD类药物在临床上常作为镇静催眠药使用,也用作抗癫痫药和抗焦虑药。

苯二氮卓,常用来治疗抗焦虑药物
早在1977年,BZD类药物凭借其远超第一代镇静类药物——巴比妥类药物——已经成为全球处方量最大的一类药物,其应用科室非常广泛。到现在,BZD类药物多达300多种,临床上常用的为20种。其作用原理是与苯二氮卓受体结合,增强γ-氨基丁酸(GABA)能神经的功能,促进Cl-离子内流,使神经细胞膜超极化。
正常情况下GABA受体中间的氯离子通道会有很少量的氯离子流入,以达到中枢神经系统兴奋和抑制的一个平衡。如果完全没有抑制,就会表现为机体过于兴奋。
在几种同样作用于GABA受体的中枢抑制药物中,BZDs是增加氯离子通道的开放频率,巴比妥类是延长氯离子通道的开放时间,而酒精则是加快氯离子的内流速度。从结果上看,都是增强了抑制的作用。

长期服用*眠药安**会带来大量副作用
然而长期服用*眠药安**所带来的的副作用也十分令人头疼,令人望而却步。
由于*眠药安**所能带来的多为浅度睡眠,大脑难以获取正常睡眠情况下深度睡眠那样的休息。同时*眠药安**作用的时间较长,服用者可能出现长时间昏昏沉沉的症状,影响日常生活。
有服用者表示长期服用*眠药安**会对记忆力造成损伤,停药后也会出现撤药反应,即机体调节功能失调,导致功能紊乱,病情反跳、回升甚至失眠加重的情况。

服用*眠药安**还可能对记忆力造成损害
对于我们绝大多数人来说,情况并没有糟糕到必须服药的地步。随着对生活高质量的向往和对更高品质健康的追求,越来越多的人们追逐于睡眠保健的相关产品,而这也极大地促进了相关市场的蓬勃发展。
如今的睡眠科技已经成为监测、改善睡眠为目的,涵盖器材、检测装置、周边设备及系统、个人平台app等多个领域的大领域。而从消费者的角度来说,购买的产品也从单纯针对枕头、床垫的选择,逐渐进化为带有个性化的睡眠生态系统的打造。
1.助眠枕头
一般说来,挑选合适的枕头可以通过平躺在枕头上的目光位置来判断枕头高度。当躺下时目光正好看到脚尖,就说明枕头的高度刚好合适。若喜欢侧卧,则应选择侧躺时颈部与床垫平行的枕头。
记忆棉枕头由于支撑力强,非常受消费者欢迎,但冬天遇低温时会变硬,且部分产品不支持洗涤,需要勤晒勤通风。合成纤维填料柔软,硬度适中,且价格实惠,但用久后易变形。PP软管型枕头透气性好,不易变形,清洗方便,仅使用寿命而言是这里提到的几种枕头中最长的。但这种枕头不是每个人都能枕得舒服,翻身时也会出现细碎的声音。
枕头的形状现在也出现了许多选择。标准形状的枕头最适合睡姿安稳的人,中间凹陷的枕头适合经常翻身的人,而高低错落的"波形枕头"适合习惯侧卧睡觉的人。
睡眠博士AiSleep是丹麦丝里伯集团有限公司旗下主打品牌,该公司创建于20世纪末的哥本哈根郡,主要产品包括天然乳胶系列(乳胶床垫、乳胶枕头等)、记忆棉系列(记忆床垫、记忆枕等)及羽绒等系列的枕头

丝里伯大颗粒按摩枕头
我们研究其旗下专利可以发现,该公司的技术改良重心主要在于将枕头多功能化,多角度地对使用者的睡眠质量进行改良。在记忆乳胶等用于制作枕头的材料大同小异的今天,这一路径是众多睡眠科技公司的选择。
例如CN205162603U中直接选用了带有按摩功能的枕头,采用多个电机的结构,以皮带上的拱柱带动按摩柱上下运动,在枕芯震动的同时能模拟出人工模拟的效果,对头部的穴位进行按压,得到按摩的效果。

带有机械按摩功能的枕头
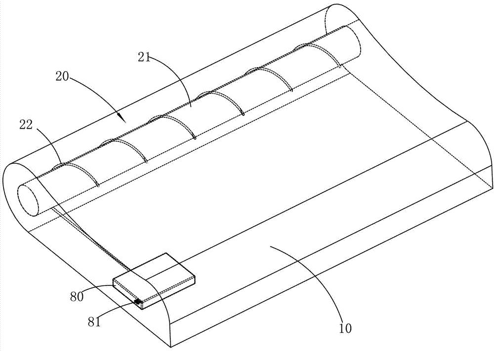
CN106618026A中则是一款带有散*功香**能的多功能枕头,枕头的形状为向内凹陷的弧形,同时内设有三列由左至右均匀排布的升降装置。使用枕头时,可以通过传感器将所收集到的心率、血氧浓度、脑电信号等信息传输至控制器,后者通过调整升降装置将枕头弧形控制在最合适的高度。散*功香**能通过在枕头内包埋含有香草的硅胶盒实现。

带有散*功香**能的多功能枕头
CN209235587U中的枕头带有不同软硬度分区,同时高度可调节,包括枕头本体和垫片,垫片上设有空腔。枕面分为三个不同区域,中间区域脚软,两侧区域较硬。该实用新型能够承托头部和颈部,可灵活调整高度,表面针对不同睡姿作软硬度的区分。而高度的调整则通过加装可折叠和拆卸的垫片来解决。

可调节高低软硬的助眠枕
2.助眠设备
相较于丝里伯着重于对枕头及床垫技术的开发与改良,同样是睡眠科技公司的前海冰寒信息科技则打开思路,同时开发其它助眠类设备。
其旗下的CN206507690U中的枕头是一款智能枕头,采用了压电电缆圆筒缠绕的结构,压电电缆传感器连接放大滤波电路,将压电信号放大并利用模数转换电路转为数字信号,以芯片对数据进行处理。简而言之,该枕头利用弹性圆柱筒产生的形变测得人体生理特征信号,让压电电缆达到接近压电薄膜的效果,这样的设计极大的降低了生产的成本。

智能助眠枕头
而该公司的亮点产品则是于2016年推出一款号称可以通过"光照疗法"调节人体生物钟的智能睡眠眼镜,称为PEGASI。该公司最终针对该磁吸式眼镜的框架设计提出了专利申请并获得授权,即专利CN207380370U。该设计的亮点在于镜片梁的一个侧面与镜片粘结,另一个侧面通过磁力与镜片相连。
PAGASI所利用的原理是人眼的感光细胞ipRGC细胞黑视蛋白吸收峰在蓝绿波段,在该波段的光调节人体的生物节律研究发现最为有效。前海冰寒宣称该智能眼镜内倾夹角发出特定波长蓝光波段光线,并能根据检测所得到的的数据个性化设定睡眠改善计划。一般连续使用4-7天,每日使用15分钟即可有效改善精神状态。

光照疗法的改善睡眠质量眼镜
3.检测系统
如今的睡眠跟踪器越来越先进,以2breathe为例的一款智能设备售价180美元,使用时需要绑在腰部,其会根据所检测到的使用者的呼吸频率*放播**不同的音调以达到促进入眠的状态,而当其检测到使用者入睡时,它又会自动关闭,可谓十分贴心。

*放播**不同音调的睡眠设备
该产品中所使用的技术是CN108027289A中的柔性电容性压力传感器,该传感器中两个构件之间的压力诱导接触区域中的变化被用来改变传感器的电容,其以高灵敏度、低信噪比且不影响使用者的睡眠质量为最大亮点。
前海冰寒旗下的专利技术CN20352464U中提出了一款佩戴式家用睡眠监测仪包括生理信号传感器、刺激干预装置和数据处理装置。其中,生理信号传感器可为包括脑电传感器、血氧饱和度传感器、口鼻气流传感器、鼾声传感器、头动传感器、心电传感器等等的一种或多种组合。数据处理装置与刺激干预装置的控制相连接,这也意味着在收集到数据的同时,该检测仪可以对数据进行处理并进行适当干预。然而该设计采用的多种传感器分别需要在不同位置佩戴,无形中增加了使用者的负担。
在这方面,瑞士V视股份有限公司选择以用户体验为有限,其持有专利CN103717125A是领域中引用较多的专利技术,用于根据从人的心率和移动导出的心率类别和移动类别来确定睡眠阶段过渡的系统和方法。其包括心率检测部件、移动检测部件、心率分类部件、移动分类部件以及确定使用者睡眠、睡眠阶段、睡眠阶段过渡和睡眠事件。由于动作检测采用的是检测身体骨骼肌的移动,在检测过程中不会影响使用者的睡眠,同时依然能得到足够精确的结果。

根据从人的心率和移动导出的心率类别和移动类别来确定睡眠阶段过渡的系统和方法
朋友圈里层广为流传这样一篇"科普推送"——专家解读:有没有长期熬夜不早死的方法?点进去后只能看到硕大的两个字十分醒目:"没有"。
古语有云,"苟有恒,何必三更眠,五更起"。现代人的焦虑和危机感虽难以为古人道也,但熬夜的危害却是实实在在的。

命重要,真的
尽管科技的进步会帮助我们更好的应对其带来的病痛和不适,小编在此依然希望大家能告别不良作息,早日回归健康生活的时间表。毕竟,熬夜也是造成脱发和衰老的头号元凶啊。
最后再说一句:少熬夜玩手机!(来自熬夜玩手机导致黑眼圈谢顶掉头发的小编真实体验)

少。。玩。。手。。机。。
责任编辑:Dr发明家服务平台
垂直医药领域“创意-发明-转化”的一站式服务平台