阅读前请点击“ 关注”每天更新司法拍卖文章,让您不错过任何一次捡漏的机会。

拍卖成功!长沙市岳麓区象嘴路96号锑都家园32栋1408房,在淘宝阿里司法拍卖平台拍卖成交。
成交时间 : 2020/05/19 11:37:43 74次延时
参与人数:4 人报名 150 人设置提醒 7772 次围观

一、拍卖标的:位于长沙市岳麓区象嘴路96号锑都家园32栋1408房(权证号码:714294961)。房屋用途为住宅,产权面积118.14平方米,分摊面积19.44平方米,户型为三室两厅两卫,房屋所在层数/总层数:14/33。建成时间2013年1月25日,发证时间2014年12月4日。该房屋有抵押。
评估价:922210.33元,起拍价:737768.27元,保证金:70000元,增价幅度:2000元。起拍价不包含房屋内现有家具及家电。

特别注明:
1、该评估价格由第三方机构通过自动核价系统核定。
2、该房屋物业有欠费,约两年半,具体金额请自行咨询物业公司。
3、拍卖物建筑面积、性质、用途、是否欠地价及土地使用费等,以不动产登记中心登记为准,如与实际不符,其风险由买受人自行承担。
4、房屋相关学位、落户问题请竞买人自行到相关部门了解,若因该问题导致悔拍保证金不予退还。
5、本院的司法拍卖,除本公告中公布的联系人和联系电话外,未委托任何中介或其他机构。为避免您有可能产生超出实际交易的支出,请勿通过中介或其他机构参与竞拍。

处置单位:长沙市岳麓区人民法院
标的物名称:长沙市岳麓区象嘴路96号锑都家园32栋1408房
网拍公告时间:2020/04/15 09:25:38
网拍开始时间:2020/05/18 10:00:00
网拍结束时间:2020/05/19 11:37:43

【网络拍卖竞价结果】
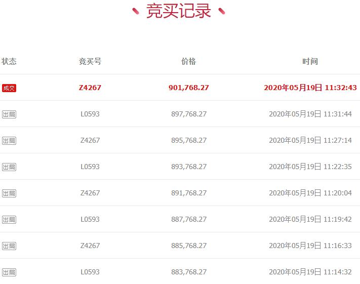
用户姓名赵婷通过竞买号Z4267于2020年05月19日在长沙市岳麓区人民法院于阿里拍卖平台开展的“长沙市岳麓区象嘴路96号锑都家园32栋1408房”项目公开竞价中,以最高应价胜出。
该标的网络拍卖成交价格:¥901768.27(玖拾万零壹仟柒佰陆拾捌元贰角柒分)

在网络拍卖中竞买成功的用户,必须依照标的物《竞买须知》、《竞买公告》要求,按时交付标的物网拍成交余款、办理相关手续。
标的物最终成交以长沙市岳麓区人民法院出具拍卖成交裁定为准。

如果你有不同的看法,欢迎评论留言,你的观点对我很重要。如果喜欢我,就关注我吧!