无良网站抓试网涉嫌网路诈骗,圈钱跑路,得知真相的商家崩溃了!
辛辛苦苦大半年,一朝回到解放前,甚至把底都赔了进去。
www.zhuashi.com
现在我们来盘点一下抓试网,该网站为一个抓取全网免费试用的试用平台。

抓试网隶属于山东曲镜网络科技有限公司,根据企查查显示,该公司目前为在业状态。

一个网络科技公司违规经营,进行网络刷单,司法机关规定网络刷单是虚假交易,本就属于不合法的行为。
该网站招纳各大商家在平台充钱,美名曰试用网站,实际为刷单网站,并且有大量的刷手团队,现在声称网站服务器数据丢失,不处理商家的退款请求,疑似跑路,导致无数商家的京东/天猫/淘宝店铺收到成千上万笔订单退款申请,面临巨额亏损,甚至破产。
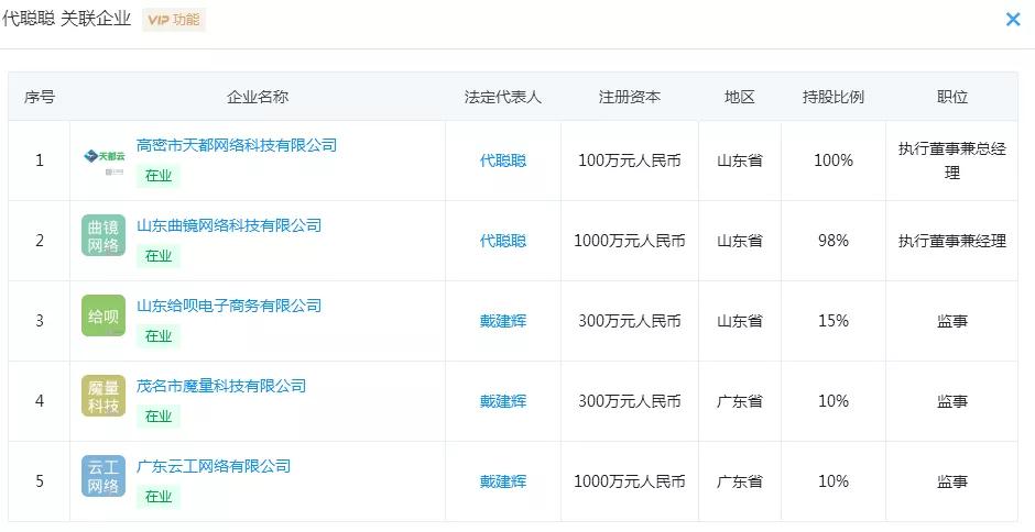
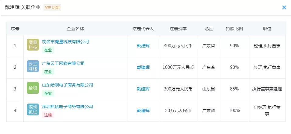
这位名叫代聪聪的法人名下的还有4个在业状态的公司,高密市天都网络科技有限公司、茂名市魔量科技有限公司、广东云工网络有限公司以及山东给呗电子商务有限公司,其中魔量科技、云工网络、给呗电子商务的法人为一位名叫戴建辉的人。

出于好奇,查询了一下这位戴建辉名下的企业,有一家名为深圳抓试电子商务有限公司的公司,并且已在2020年3月31日注销。

是不是觉得这个名字有些眼熟?抓试?

其实不难推理这应该是操盘手开设的一个刷单盘。
代聪聪与戴建辉名下公司均为网络科技公司,进行网络诈骗的条件十分便利,随意套个壳即可开设一个新的平台。作为操盘手,唯一目的就是圈钱,希望广大网民和商家以及相关机构引起注意,防止不法商人再次开设刷单盘。
疫情当下,各行各业的处境都很十分艰难,且不说遇害的企业商家,做刷单的有很多都是在家的宝妈、学生,大部分刷单网站都是以招聘兼职“刷客”、“坐家赚钱”等为由吸引参与进来,最后被骗得伤痕累累。
现在网上的只要是刷单,都是诈骗,不要因为“蝇头小利”而掉入更深的陷阱。
发现跑路被骗后,一定要保留聊天记录和资金的转账记录信息,并第一时间报警。不要相信一些网上说可以追回损失金额的人,避免二次上当。

希望网友都可以擦亮眼睛,远离网络诈骗,让*子骗**无机可乘。
截止到发稿前,抓试网并没有处理退款请求,据了解受害商家现已报警处理!