
蓝海一直是各位比较热衷的话题,那么今天我拿最近的几个例子来跟大家分享一下。
蓝海的概念:当今还不存在的产业,这就是未知的市场空间,在蓝海中,竞争无从谈起,因为游戏的规则还未制定。
那么在淘宝中,我们把竞争相对较小的市场看作蓝海市场。那么如何去找?
例1:苍蝇枪

市场行情标搜索词查询

生e经

淘宝网搜索首页
当然这个苍蝇枪也跟季节有关,现在日均搜索人气不到2000,不算蓝海。
但是,我们可以从生e经里看到的TOP卖家的信誉等级都不高。
从首页来看,销量都不多,并且商城占比相当小,所以竞争相对较小。
如果你有货源渠道,利润核算还不错,那么你可以去做。
例2. 我的前半生同款

搜索人气

大概在十天前,在线商品数还不过一万,现在已经是红海
再来看看生e经TOP宝贝销量:


如果你有点实力, 还是可以去蹭这个热度,也许能捞到最后一波儿钱。
你要做的话,那么重点就来了。看下面

当然生e经后台看到的数据并不好,这里就不截出来了,即使成交不好,做引流还是挺不错的。
这只是一个用词思路“类似字词”。
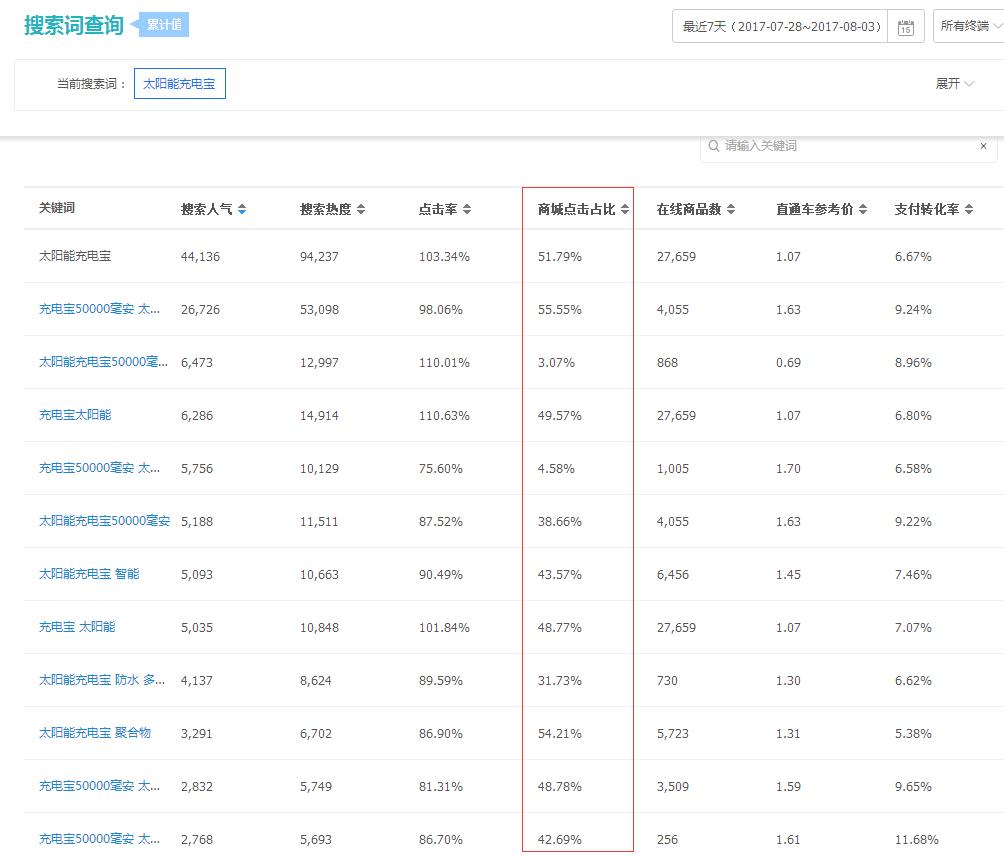
例3 . 太阳能充电宝

商城占比大
我们再看看阿里指数:

太阳能充电宝50000毫安,这个产品很不错。尽管商城占比很高,你c店做好了也有无限可能。
例4. 防狼喷器雾
我们先来看看下拉框,因为打字是没人搜索“防狼喷器雾”这几个字的。

下拉框

生e经

其实聪明的朋友已经看出来了,为什么都在用没人搜的”喷器雾“而不用”喷雾器“呢?
因为”防狼喷雾器“是被淘宝禁止售卖的商品,所以热销TOP榜基本都是新店。
这个东西大家别去碰,胆儿大的可以试一试。
把它作为一个例子分享是想告诉大家你们认为的”机会”无处不在。
再来看地方土特产:


重庆这个火锅底料基本是被商城承包完了,c店压力山大。
有兴趣的朋友可以去看看一些地方土特产,基本能找到竞争比较小的不错的项目。
今天的分享就到这了。
如果对做淘宝感兴趣,又感觉到比较困得的老板朋友,可以看看我的这篇文章
淘宝为什么越来越难做?淘宝会放弃中小卖家吗?