自去年11月厦门金融办公示5家拟备案的互金企业后,如今过去一月有余仅有一家平台宣称通过备案。
近日,上述5家平台之一的农金宝互金(厦门融信普惠网络借贷信息中介服务有限公司)在平台官网宣称:按照银监会等部委政策规定,及地方金融办指导已完成对平台的整改,已达到地方金融办要求的合规标准,在地方金融办已提交备案登记信息,经公示,已经获取正式备案文件(备案网贷机构)。

此外,官网还提及,公司2名技术人员已合格通过电信部门的安全员考试,并已领取金融办备案正式文件,现正向电信部门申请办理电信业务经营许可证书。
蓝鲸财经拨打农金宝客服电话,接线人员表示因相关负责人下班,需等待联系专人做回应。此前据网贷之家援引农金宝客服称:的确正式通过备案,农金宝是全国首家正式通过备案的网贷平台,已经有正式备案文件下发给平台。
蓝鲸财经查阅了日日进、乾方位和易利贷三家此前在厦门金融办官网进行“拟备案公示”且已正式上线的平台官网(“京东旭航”尚未正式上线官网),目前三家平台在官网相关披露内容中,均未提及已取得“正式备案文件”的内容。

蓝鲸财经分别联系了日日进、乾方位、易利贷和京东旭航相关人员询问了平台备案进展相关情况,其中,乾方位、易利贷和京东旭航均表示,网贷业务备案工作均是根据监管要求推进,备案情况对外披露也将根据监管要求进行,一旦有进展将第一时间予以公示。日日进则表示,需专人进行回复。
蓝鲸财经调查显示,仅天眼查数据里就有多达364家“网络借贷信息中介服务有限公司”,几乎所有的公司都来自于厦门。

一家名为国昌盛(厦门)网络借贷信息中介服务有限公司的经营范围多达数十项,包括公司名和经营范围都令全国的金融机构垂涎。
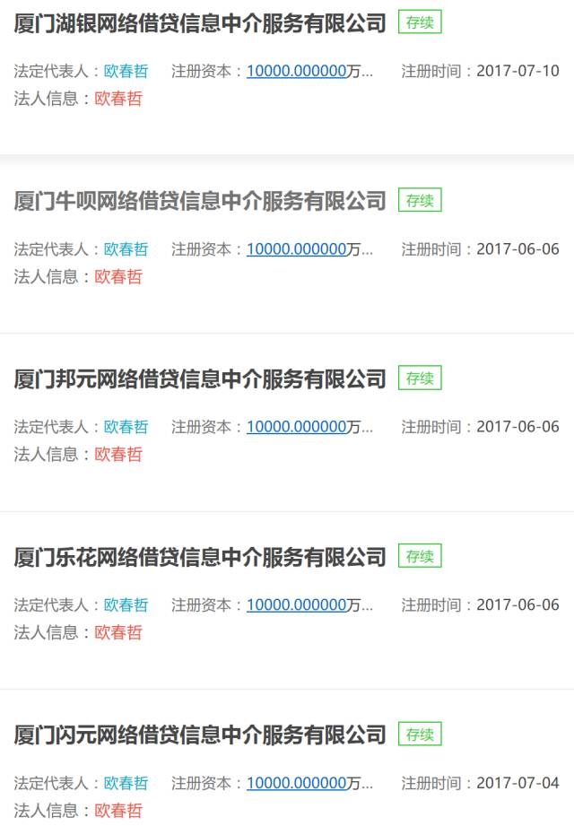
而一个名为欧春哲的个人拥有多达12家网络借贷信息中介服务有限公司,均注册于2017年,股东都为欧春哲和欧春怀两人,且注册资本均为1亿。

知情人士透露,厦门开放网络借贷信息中介服务有限公司注册,两个月就已被叫停,目前市场行情此类公司转让价格均在10万以上。大部分公司看中其经营范围比较全,且公司名字较为合规,导致大量公司被注册并未实际开展业务,为了注册而注册。