过去几十年我国经济发生了翻天覆地的变化,经济规模也随之不断扩大,经济发展带动了金融行业的同步发展,国内的金融业诞生出了很多有影响力的金融机构,其中最为有名的当属四大金融集团: 中信集团、招商局集团、平安集团以及光大集团;四大集团综合实力,无一不是赫赫威名!当然这四家之中实力最强的,无疑是招商局集团。
根据招商局官网的信息:2020年招商局集团实现营业收入8137亿元、同比增长13.9%,利润总额1751亿元、同比增长7.4%,净利润1371亿元、同比增长8.3%,截至2020年底总资产达到10.3万亿元,资产总额和净利润蝉联央企第一。
目前上述四家基本实现全部金融牌照经营,涵盖银行、证券、基金、保险、期货、不良资产管理及融资租赁等领域,属于全牌照综合金融服务平台。但是如果不论集团,只看单家的话,那么最大是应该是中投公司。

中国投资有限责任公司
说到中投公司,很多人可能并未听说过,毕竟这个企业太过于低调,但是若论金融领域内的综合实力,这家无疑是最强的,只不过中投是代表国家行使投资人职能的,换句话说,中投就是个国家主权财富基金,与“金融集团”的定位有点不符。
那么中投公司在金融领域内有什么特别的表现呢?中投公司旗下设立三个子公司:分别为:中投国际,中投海外以及中央汇金。其中中央汇金可以说掌握着我国金融行业的半壁江山,当然其只是持股,并没有参与经营,按照中央汇金官网信息:中央汇金公司不开展其他任何商业性经营活动,不干预其控股的国有重点金融企业的日常经营活动。这与四大金融集团自营相比会略有出入,所以很难定义其为金融集团。

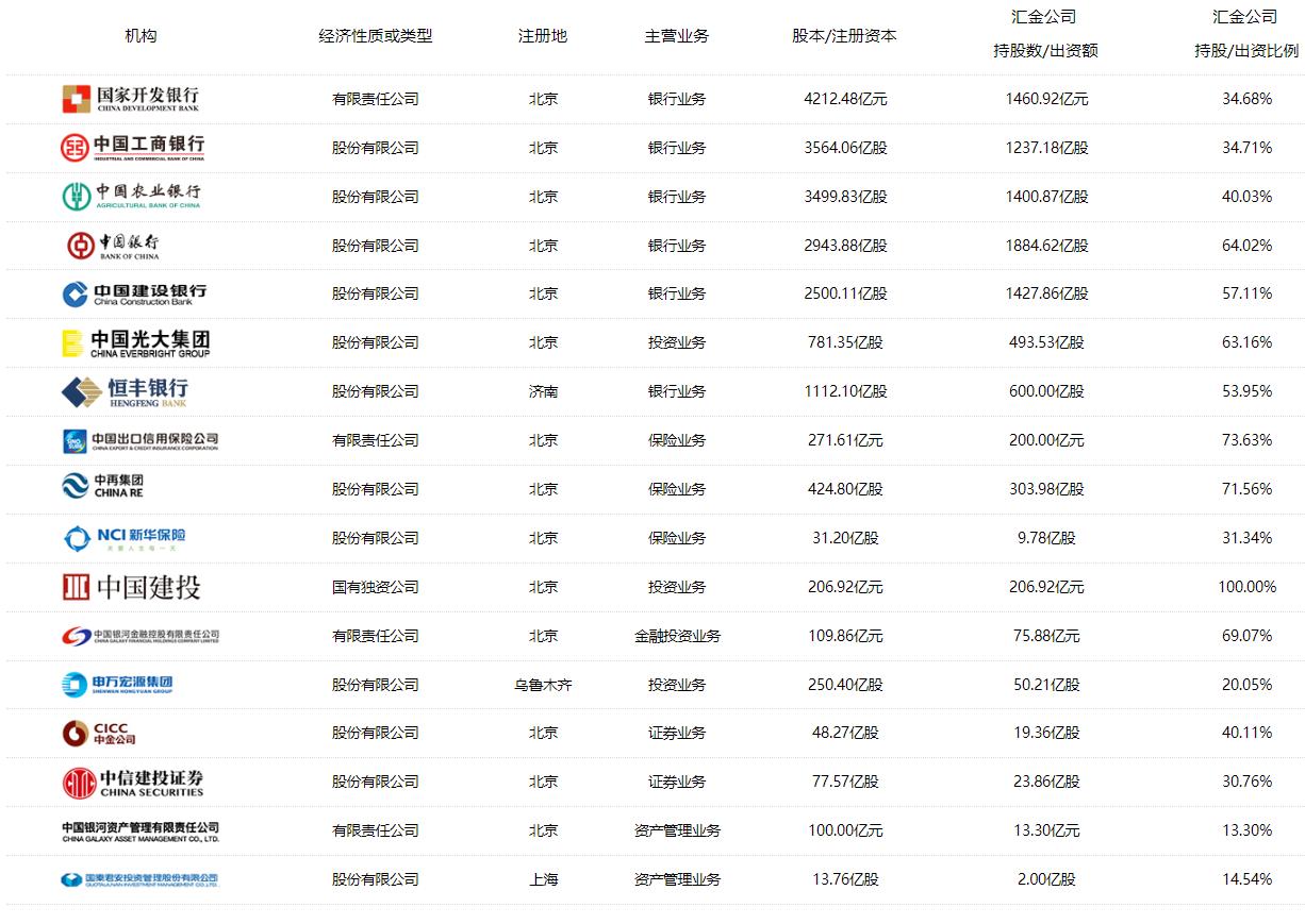
按照中央汇金公司的发布的年报显示:截至2020年12月31日,中央汇金公司控股参股机构包括国家开发银行、四大行、光大集团、恒丰银行、中国出口信用保险公司、中国再保险(集团)、新华人寿保险、中国建银投资有限责任公司、中国银河金融控股、申万宏源集团、中国国际金融股份、中信建投证券股份、中国银河资产管理、国泰君安等。
不说中农工建四大行了,就是上述的四大金融集团中的光大集团也是中央汇金控股的,此外中信集团旗下最大的中信建投证券均系其控股,而且大部分持股比例都不低,可以说中央汇金把握着我国最大的金融资产都不为过。所以如果单纯算掌握金融领域的力量,无疑中央汇金的母公司,中投实力才是第一!

总结
不过中投虽然非常强大,但是他更多的是类似一个国家行政机构,而不是单纯的企业,所以大家在世界500强里面是找不到中投的,按照企业性质来说,国内最大的金融集团依然是招商局集团,这家创办于1872年,已经超过一个半世纪的企业。