近日,有来自东营轮胎制造工厂的工人在网上抱怨,其所在轮胎制造工厂,已经拖欠其工资达半年之久,但是养老保险正常扣着,但是并没有给职工交。工厂产量一天不到1000条,工人都快走没了。
还有人爆料说,有工厂工人*工罢**要工资,领导直接让全钢停产了。现在谁要工资谁停产,但工资一分不发。
还有轮胎厂工人向我们投诉,*工罢**向工厂讨要工资,晚上带头*工罢**的在宿舍莫名被打住进了医院。

曾经辉煌无比的东营轮胎到底正在经历着什么?
去年一波原材料带着轮胎涨价的大潮席卷了整个轮胎市场,大浪退去让人们看清楚了那些轮胎企业正在裸奔。一些企业不得不寻求靠山一球度过难过,没有靠山那就只能挥刀自宫,减产去落后产能。
东营某大型轮胎企业在年后首先砍掉了全钢胎生产线以求自保。另外一家经营了逾20年的永泰轮胎,则投向了另外一颗大树华盛橡胶,目前来看基本上宣告了永泰退出轮胎舞台。今年年中另外一个大型轮胎企业集团盛泰集团,也和兴源轮胎选择合并,合并工作得到了当地政府和银行在政策和资金上面的支持。

2015年德瑞宝负债20亿破产,2016年11月成功拍卖,被恒丰以8.91亿元拿下。恒丰在此之前还控股了沃森橡胶,前不久还再度传出将接手涌金轮胎。涌金轮胎6月份被爆出负债超7亿,利润皆为亏损。

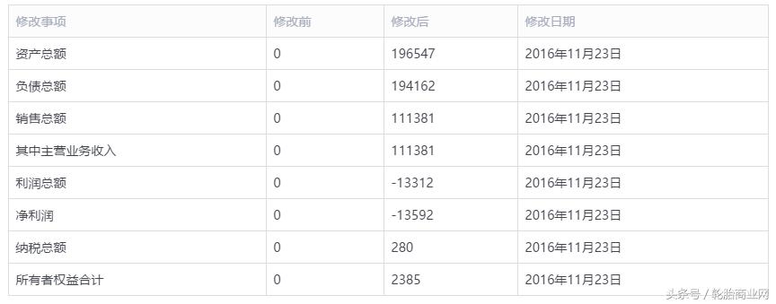
最近我们再次得到一些东营轮胎企业的负债情况:
下面这个企业在2016年11月份显示负债总额已经高达19.4亿元之多,利润为亏损1.3亿。

到了今年6月份,负债总额达到20.5亿元,利润为亏损1.8亿之多。

还有另外一家企业6月份被爆出财务状况,所有者权益合计已经变为负值,处于严重亏损状态。

今年3月20日,东营政府发布了关于印发《中国制造2025》东营市实施方案的通知:

推进轮胎企业兼并重组和产能整合,大力发展高性能绿色轮胎产品,这就是东营轮胎企业下一步的发展方向。
2017年8月18日广饶县100亿产业基金正式挂牌成立。据了解,若整体收购或控股轮胎企业,即可获得财政补贴。补贴额度为被兼并企业新增地方贡献的50%。如果兼并资不抵债的企业,兼并方获得的补贴幅度更大,为被兼并企业新增地方贡献的100%。此外,不管是哪一种方式,兼并方均会额外获得100万元奖励。近期,该基金已完成首期约25亿元规模的投放。当地政府部门表示,这样做的目的,是引导企业围绕轮胎产业开展兼并重组。

改革转型升级说起来容易,没钱怎么行。政府本次如此大力度地拿出100亿,可以看出对于本次轮胎产业改革的决心。
目前东营轮胎企业整合工作已经开始,轮胎破产、倒闭、重组将成为常态。可以断言,未来还会有更多的轮胎企业被淘汰,被兼并重组。东营上百家轮胎企业将迎来这一次产业革命的大考,除了自身的实力之外,还有一部分决定恐怕就在政府的手中。

东营轮胎产业集群大地震已经来临,对于所有东营轮胎来说,大到工厂小到个人谁都无法避免,只能勇敢面对积极调整,尽快将东营轮胎调整到正确的运行轨道上面来。
最后,《轮胎商业》在此也要为被欠薪的轮胎工人说句话:这些工人工作不易、生活不易、就靠着工资养家糊口。政府以及各轮胎企业负责人还是要先以人为本,做好工人工作,把拖欠的工资早日发放,尽可能的安顿好轮胎产业整改之后工人的就业情况。