2020年开局虽然波折不断,但坚强的大武汉没有被疫情*倒打**,年终各大榜单数据显示,大武汉已经涅槃重生。2020年的武汉土拍也是推迟至3月底才开始,虽然迟到了几个月,但热度却只增不减,高价地块频现。
从数据来看,东湖高新区依旧是土拍的高热战场,每一块地出来几乎都很热门;硚口区是比较惊喜的区域,土地资源比较多,时不时的冒出来一个地王;汉阳和青山也有比较核心优质的地块出现,但数量不多。
其中光谷东地王被刷新4次,硚口地王被刷新3次,经开地王被刷新2次,武湖地王被刷新3次,花山地王被刷新3次等。总之就是热闹非凡。
据统计,2020年武汉共有25宗地楼面价破万,今日我们将武汉2020年的高地价TOP25的地块进行整理。来年的高价盘大家也大概心里有数了。后期“武汉楼市一线”还会陆续出炉地王汇总、土拍大汇总等文章。

下面就按照地块楼面价的顺序来进行盘点:
2020年高地价TOP1
华润P(2020)122号地块
楼面价约30558元/平!武汉单价地王!
P(2020)122号地块位于江岸区解放大道与头道街交汇处,规划总用地面积53771平方米(含公园绿地5500平方米,轨道14号线控制线内用地2940平方米,轨道1号线安全保护区内用地1260平方米);其中A地块规划用地面积16121平方米(含轨道1号线安全保护区内用地430平方米);B地块规划用地面积16649平方米(含公园绿地4290平方米);C地块规划用地面积21001平方米(含公园绿地1210平方米,轨道14号线控制线内用地2940平方米,轨道1号线安全保护区内用地830平方米);最大计容建筑面积控制在21.5万平方米以内,其中幼儿园建筑面积不小于0.36万平方米。




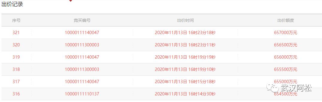
该地块网上挂牌,竞买保证金215000元,起拍总价430000万元,起拍楼面价约20000元/平。最终该地块被武汉润置房地产开发有限公司拿下,成交总价约657000万元,楼面价约30558元/平,溢价率约52.799%。

该拿地企业就是华润置地旗下公司。

该地块出价记录高达321轮,吸引了不少房企的争夺,曾一度导致页面瘫痪。

地块分析:
1、该地块位于江岸区解放大道与头道街交汇处,武汉内环与二环之间,距离内环约1公里,距离二环约1.3公里,属于汉口二七滨江板块。

该地块属于二七滨江商务区偏西的位置,距离长江约750米,是看不到长江的,但西边的优势就是距离主干道和地铁站更近,距离二七路和头道街均在300米左右。

2、地块微观区位:北边是头道街、御玺滨江项目、规划小学;东边是绿城住宅、清真寺、中山大道、武汉天地、沿江大道、江滩及长江;南边是规划市政道路、和谐家园、华发外滩首府。

地块现状:

3、该地块体量约21.5万方,是中等小区,住宅本身没有更多的拿地要求。
4、该地块楼面价约30558元/平,刷新了2016年碧桂园的武汉单价地王(楼面价约20021元/平)的记录,成为武汉新的单价地王。地块所在的二七滨江是武汉豪宅聚集地,也是汉口的房价天花板区域,目前区域内楼盘价格集中在41600-48175元/平,其中武汉天地收官价是突破了5万元/平的。该地块入市价格必然也是一般人高不可攀的水平。
2020年高地价TOP2
华发P(2020)150号地块
楼面价约21002元/平
汉口&硚口单价地王!武汉单价次地王!
P(2020)150号地块位于硚口区建设大道与航空路交汇处,规划用地面积10.69万平方米;A地块10.02万平方米(含小学用地面积1万平方米、公园绿地面积1.41万平方米),总建筑面积约449000平米;居住、商业、商务用地、小学用地、供电用地、公园绿地。



该地块网上挂牌,竞买保证金240000元,起拍总价800000万元,起拍楼面价约17817.4元/平。最终该地块被武汉华发睿光房地产开发有限公司溢价拿下,成交总价943000万元,楼面价约21002元/平,溢价率约17.8%。

该地块吸引了中海、华润等房企的竞争,报价高达287轮,也是今年非常重磅的一块地,是硚口单价地王,汉口单价地王,汉口总价次地王,武汉单价地王TOP3!

地块主要要求:
由武汉市土地整理储备中心武汉长江新城分中心回购不小于53820平方米住宅及2150平方米商务办公用房,用于原地还建安置。住宅回购价不高于20265元/平方米,商务办公回购价不高于19621元/平方米。
地块分析:
1、该地块位于硚口区建设大道与航空路交汇处,属于汉口核心板块,位于内环与二环之间,距离内环约1.6公里,项目距离同济医院、武广、中山公园都非常近,占据了城市核心地段。但是周边有不少老社区。

2、地块微观区位:北边是航空路、长投航空路壹号小区、武汉十二中;东南边是宝丰二路、华科同济医学院、华科附小;西南边是规划道路、住宅小区;西边是建设大道、王家墩社区等。

3、该地块是中国地质大学汉口校区片地块,在2019年10月底就进行了用地规划调整公示,由原来的高校用地变更为住宅、学校、绿化及商住混合用地。



4、该地块总体量约44.9万方,住宅体量约35万方,商业体量约8.8万方,占比约五分之一,不过住宅要求回购约5.4万方,最终开发的住宅体量约29万方多,属于中等社区体量,不过在核心区域来看,这个体量还是不小了。
5、该地块楼面价约21002元/平,成交总价约94.3亿,该地块是如今硚口区单价地王,也是汉口单价地王,汉口总价次地王,武汉单价次地王。项在这之前硚口区单价地王是金地商置8月份拿下的052号地块,楼面价约15963.7元/平。汉口前单价地王是中海万松九里,楼面地价19095元/平,如今新房房价约42000元/平。汉口总价地王是中信泰富17年拿下的09号地块,总价约99.2亿。
同时该地块也是目前武汉单价次地王,目前单价地王是华润P(2020)122号地块, 楼面价约30558元/平,前地王是碧桂园晴川府,楼面价约20021元/平。
6、目前该地块周边尚无新房在售,长投航空路壹号据传放风价将在3万元/平以上,而该项目回购住宅价不高于20265元/平。后期售价估计也将有很大突破。
2020年高地价TOP3
P(2020)018号地块
楼面价约19196.7元/平!武昌新单价地王!
P(2020)018号地块位于武昌区星海路以北,规划净用地面积4010平;总计容建筑面积不大于16930平,容积率为4.22。起拍总价32500万元,起拍楼面地价约19196.7元/平。


该地块被融创关联企业以底价竞得,成交总价32500万元,楼面地价19196.7元/平。

地块分析:
1、该地块位于武昌区星海路以北,处于武昌内环之内,是整个武汉非常核心的位置,地段很好,就位于融创中心K2地块南侧,该地块就是融创中心的补充地块。

2、地块微观区位:地块东北边是体育馆和路、融创中心、沙湖大道、万达商圈;西南边是星海虹城、星海路、地铁2号线;西北边是公正路、省文化厅、沙湖公园。因为地处核心,周边都是非常优质的资源和配套。

3、该地块距离地铁2号线小龟山站仅约260米,此外周边还有地铁4号线的洪山广场站、楚河汉街站,距离在800-1000米左右。还有沙湖大道、武珞路等多条主干道,交通条件还不错。
周边路况:

4、该地块楼面价19196.7元/平,武昌区单价地王。武昌区前地王是花样年P(2018)053号地块,楼面价14518.9元/平。不过由于只是一个补充地块,项目前期拿地价格并不高,因此不能拿这个楼面价来衡量太多东西。
2020年高地价TOP4
金地商置P(2020)052号地块
楼面价约15953.9元/平,硚口单价地王!
P(2020)052号地块位于硚口区利济北路和京汉大道交汇处,规划净用地面积13077平,地上最大计容建筑面积控制在84340平以内,商业商务建筑面积控制在57640平以内,居住建筑面积控制在26700平以内。起拍总价约13455万元,起始楼面价约15953.9元/平。


最终被武汉鑫东辉房地产开发有限公司(金地商置武汉广电)底价竞得,成交总价134555 万元,成交楼面地价15953.9元/平。

地块分析:
1、052号地块位于硚口区利济北路和京汉大道交汇处,属于硚口核心板块,位于内环以内,1号线利济北路地铁口,周边都是成熟小区,商业配套、学校等都在附近,地段和交通都不错。北边一路之隔就是武广商圈,地段实在是牛飞了!武广周边多少年没出新房住宅项目了。

2、地块微观区位:北边是京汉大道、地铁1号线利济北路站、汉口辅仁小学、武广等;东边是汉口中心花园小区;南边是顺道街;西边是利济北路、公共设施用地。

3、该地块总体量约8.4万方,其中商业体量约5.8万方,住宅体量约2.7万方,商业占比很大。没有特别的拿地要求。武广周边的新房简直牛到飞起,2.7万方的住宅完全做成大平层就卖给周边的土豪们,可以说非常豪气了。
4、该地块楼面价约15953.7元/平,已经超越了5月份招商地产拿下的022号地块约15633元/平的楼面价,站稳了当时硚口新的单价地王的位置,不过该记录后来被华发的150号地块超过。
2020年高地价TOP5
电建地产&成都德商P(2020)136号地块
楼面价约15777.9元/平,现任光谷东单价地王!
P(2020)136号地块位于武汉市东湖新技术开发区神墩一路以南、高科园一路以西、神墩三路以北、高科园路以东。该地块规划净用地面积46974.77平方米,计容建筑面积约117500平,规划用地性质为居住用地、社会福利用地。


该地块网上挂牌,竞买保证金19878 元,起拍总价99390万元,起拍楼面价约8458.7元/平。最终该地块被武汉德商高泷置业有限公司拿下,成交总价185390万元,楼面价约15777.9元/平,溢价率约86.5%。据查询,该拿地企业是成都德商置业和电建地产的合作公司。

官方海报:

该地块吸引了包括保利地产、正荣、中海、南山、金科、华润、中交、越秀、远洋、中国平安等在内的近30家房企报名,最终竞价高达167轮。

地块分析:
1、该地块位于三环外约6公里,属于光谷东的光谷中心城板块,紧邻光谷中心城商务区和高新大道主轴。在光谷东板块里位置还不错,虽然环线位置一般,但是周边发展较为成熟,且紧邻地铁口,是近期光谷东挂牌的地块中位置较好的。
2、地块微观区位:北边是神墩一路、规划学校用地;东边是光谷十七小、星河公园、光谷南山府;南边是神墩三路、绿地光谷星河绘;西边为高科园路、光谷188国际社区。

3、该地块总体量约11.8万方,不算很大,中等社区的体量,不过没有更多的拿地要求,开发难度不大。
4、该地块楼面价约15777.9元/平,光谷东新地王,也是2020年光谷东第四个地王。另外三个就在该地块东边隔着公园:成都德商置业073号地块,楼面价约14370元/平;南山天樾楼面价约13515元/平;光谷南山府楼面价约12363元/平。

2020年高地价TOP6
招商地产P(2020)022号地块,
楼面价约15633元/平,硚口时任单价地王
P(2020)022号地块位于硚口区解放大道与建一路交叉口,地上规划用地面积102117平);地上最大计容总建筑面积控制在37.66万平以内,其中居住建筑面积32.70万平,商务商业建筑面积4.24万平,公交枢纽站管理用房建筑面积不小于0.12万平,保留建筑面积约0.6万平。起拍总价583730万元,起拍楼面地价15500元/平。





该地块是原P(2019)153号地块的一部分,最终被招商局地产溢价拿下,成交总价588730万元,成交楼面价约15633元/平。

地块分析:
1、该地块位于硚口区解放大道与汉西一路交汇处。位于汉口二环内,属于汉口核心片区硚口汉西板块,临近武汉CBD,目前区域内面貌一般。紧挨着地铁宗关站,有二环线、解放大道等主干道和快速路,交通比较便利。
2、地块微观区位:地块北边是解放大道、南国西汇商圈;东边是建一路、规划教育用地、宗关水厂;南边是住宅小区、沿河大道、长江;西边是住宅小区、韩家墩小学。

3、该地块总体量约37.66万方,住宅体量约32.7万方,还有4.24万方的商业,商业体量不算小,但整体商住比较低,又是二环边核心的位置,抗风险能力还是稳的。
4、该地块楼面价约15633元/平,是当时的硚口区单价地王,不过后来被华发拿下的150号地块及金地商置的052号地块刷新。硚口核心的价格这两年因为几个地王项目的入市拔高了一些,但是硚口对房价的接受水平却并不高,融创、万科项目都是开盘就平销。想要快速出货是有难度的。
2020年高地价TOP7
中建三局P(2020)133号地块
楼面价约14729.3元/平,洪山区单价地王!
P(2020)133号地块位于洪山区鲁磨路和华科大西路交叉口,地上规划总用地面积3.31公顷(含公园绿地0.30公顷);地下规划总用地面积3.08公顷(以实测为准);规划用地性质为居住用地、商业服务业设施用地、公园绿地;地上最大计容建筑面积控制在12.56万方以内,其中居住建筑面积不大于8.79万方,商业服务业设施建筑面积不大于3.77万方。




该地块现场挂牌,竞买保证金37000元,起拍总价185000万元,起拍楼面价约14729.3元/平。最终该地块被武汉中建三局星谷房地产开发有限公司底价拿下,成交总价约185000万元,楼面价约14729.3元/平。据查询,该公司是中建三局第二建筑公司。

地块主要要求:
1、根据洪山区人民政府意见:竞买人须承诺若竞得地块后引入1家2020年《财富》排行榜世界500强企业旗下的商业管理平台公司对项目商业进行统一招商和整体管理;
2、引入拥有在国内开发建设、经营管理珠宝商业、有珠宝旅游文化街运营经验的企业入驻经营;
3、引入1家具有中国国家认证认可监督管理委员会颁发的检验检测资质证书的珠宝检测中心入驻。
4、土地成交后,由洪山区土地整理储备中心回购约22756.91平方米住宅及约3826.54平方米商务办公用房,回购住宅价格18898元/平方米,回购商务办公用房价格16928元/平方米,用于本项目原地还建安置。
5、根据政府和住房保障房管部门相关要求配建租赁住房。
地块分析:
1、该地块位于洪山区鲁磨路与华科西路交汇处,距离光谷广场约700多米,周边距离地铁站也不远,还紧邻华科、地质大学等,位置和地段很不错。虽然靠近光谷广场,但还是属于洪山区。

2、微观区位:地块北边是华科大西路、住宅地块、地质大学;东边是住宅小区、华科大;南边是住宅小区、紫菘花园路;西边是鲁磨路,规划地铁9号线。

3、该地块是中建三局二公司洪山高压小区地块,总体量约12.6万方,住宅体量约8.8万方,商服体量约3.8万方,商业占比约三分之一,其中约2.3万方住宅还将用于还建,最终只有约6.5万方可供开发,体量并不大,加上商业的一些要求,有一定开发难度。
4、该地块楼面价约14729.3元/平,洪山区新的单价地王。在这之前洪山区的最高楼面价是2019年保利地产拿下的042号地块即保利大都会的补充地块,楼面价约14462元/平,再之前就是2016年北京首开集团拿下P(2016)074号地块,楼面价14271元/㎡,即东湖金茂府。
2020年高地价TOP8
中海地产P(2020)013号地块
楼面价约14620.4元/平
P(2020)013号地块位于汉阳大道以南,拦江路以北,鹦鹉大道以东,阳新路以西的归元片二期A包(含1-8号地块)建设项目,规划总用地总面积10.588公顷,容积率约4.27,地上总计容建筑面积45.48万平,其中商业服务业设施建筑面积不超过14.61万平,文化活动设施建筑面积不小于2万平,居住建筑面积不超过28.87万平(其中幼儿园0.36万平)。

该地块起始总价60亿,起始楼面价约13163.7元/平,最高出让指导总价约90.9亿,最高楼面价约19956元/平。最终被中海企业发展集团有限公司溢价拿下。成交总价约66.1亿,楼面价约14620.4元/平。

地块主要要求:
1、竞买人须承诺引入1家或以上控股股东为《财富》杂志2019年公布的世界500强公司的总部或区域总部入驻。竞得人须自持公建(含商业服务业设施及文化活动设施)计容总建筑面积的50%以上,自持部分在项目竣工验收后10年内不得整体或分割转让、销售。
2020年高地价TOP9
中海地产P(2020)014号地块
楼面价约14398.3元/平
P(2020)014号地块位于汉阳大道以南,拦江路以北,阳新路以东,滨江大道以西的归元片二期B包(含9-15号地块)建设项目,规划总用地总面积6.99公顷,容积率约7.76,地上总计容建筑面积54.52万平方,其中商业服务业设施建筑面积不超过13.14万平,居住建筑面积不超过41.38万平(其中幼儿园0.55万平)。

该地块起始总价72亿,起始楼面价约13206.2元/平,最高出让指导总价约109亿,最高楼面价约20000元/平。该地块与013号地块*绑捆**出让,最终被中海企业发展集团有限公司收入囊中,成交 总结 约78.1亿,楼面价约14398.3元/平。
地块主要要求:
1、竞买人须承诺若竞得地块后,引入1家或以上控股股东为《财富》杂志2019年公布的世界500强公司的总部或区域总部入驻,并建设一座五星级标准的品牌酒店。竞得人须自持公建计容总建筑面积的50%以上,自持部分在项目竣工验收后10年内不得整体或分割转让、销售。
地块分析:
1、上述两个地块均位于汉阳区汉阳大道与沿江大道交汇处,内至二环之间,位置不错,长江大桥和鹦鹉洲长江大桥之间,武汉内环核心旁。由于汉阳基本没有内环,在汉阳的位置非常突出。周边距离地铁钟家村站很近,东边邻长江,交通、配套都很不错。


2、地块微观区位:
013号地块微观区位如下:北边是汉阳大道、住宅小区、博物馆等;
西边是鹦鹉大道、地铁钟家村站、远洋东方境世界观;
南边是市政道路、晴川高中、拦江路;
东边是阳新路、014号地块、沿江大道、长江及江滩。其中小地块中间还有武汉市五医院。
014号地块微观区位:北边是汉阳大道、莲花湖公园;
东边是沿江大道、汉*江阳**滩及长江;
南边是拦江路、住宅小区;
西边是阳新路、13号地块。

3、两大地块总体量约100万方,住宅体量超70万方,商业等配套体量约30万,不管是新房供应还是配套设施都是区域重磅项目。
4、两宗地都分别要求引入世界500强的区域总部,且自持配套不少于50%,还有公园、建筑风貌及临江地标性建筑的要求,对商业的自持会一定程度上增加开发难度。
5、上述两个地块的楼面价分别是14620.4元/平及14398.3元/平,这个楼面价在汉阳是比较高的。两宗地总价约144.2亿,已经是仅次于2017年远洋拿下的归元片地块约150亿的总价记录,成为武汉总价次地王。拆分成2个地块号,也是为了避免同一地块的总价地王被刷新。
6、上述地块是归元片二期地块,2017年远洋约总价150亿拿下归元片一期地块,当时的楼面价仅7619元/平和8373元/平,如今隔了三年,楼面价基本是翻了2倍。因此依照这个楼面价来推测,届时项目入市价格极有可能带领汉阳房价突破3万元/平大关。
远洋2017年拿地归元片一期地块:

2020年高地价TOP10
成都德商置业P(2020)073号地块
楼面价约14370元/平,光谷东单价地王
P(2020)073号地块位于武汉市东湖新技术开发区神墩三路以南、高新二路以北、高科园一路以东、高科园二路以西。规划总用地面积64957.08平,其中净用地面积 45754.41平;控制用地19202.67平,计容建筑面积约11.46万方。


该地块起拍总价80180万元,起拍楼面价约6996.5元/平。最终被成都德商置业高价拿下,成交总价约164680万元,楼面价约14370元/平,溢价率约105.4%。
官方海报:

成都德商置业有限公司是成都本土公司。另外参与该地块投资建设的还有广西彰泰,都是首次进入武汉。

地块分析:
1、该地块位于三环外约6公里,大区位上属于光谷东的光谷中心城板块,高新二路。在光谷东板块里位置还不错,环线位置一般,周边紧挨着产业园,距离光谷东发展成熟的板块有一定距离,周边有规划的13号线地铁站。
2、地块微观区位:地块北边是神墩三路、南山048号地块;西边是星河公园、高科园一路、绿地071号地块;南边是高新二路、规划地铁13号线及绿化用地;东边是高科园二路、产业用地。

3、该地块为纯住宅地块,体量约11.46万方,体量不算很大,除了配建幼儿园和养老服务设施之外,没有更多的拿地条件,开发难度不大。
4、楼面价约14370元/平,刷新了6月底南山地产约13515元/平的楼面价记录,成为光谷东新单价地王。该记录后来被电建地产和成都德商联合拿下的136号地块打破。