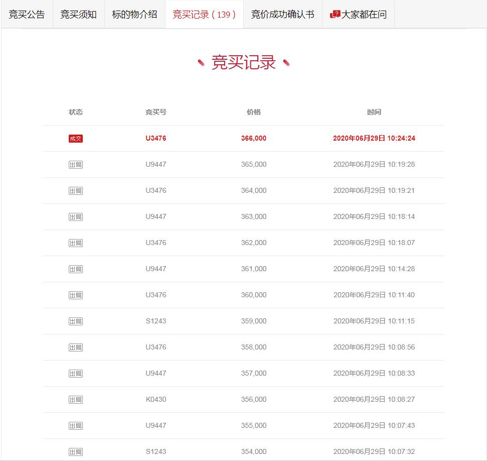
本次拍卖处置单位为宁夏回族自治区贺兰县人民法院,成交时间:2020/06/29 10:29:24 39次延时,最终成交价格为366000元。

车牌号宁AND229丰田兰德酷路泽36.6万
拍卖标的:车牌号为宁AND229号丰田牌小型普通客车,厂牌型号:丰田兰德酷路泽CA6520G2E4;车辆识别代号/车架号:LFMGJK741A3010033;发动机号码:A123596;车身颜色:绿;国产/进口:国产;燃油种类:汽油;注册登记日期:2010年9月1日;检验有效期止: 2018年9月;保险终止日期:2018年10月10日;表显里程:130891公里;机动车状态:查封,逾期未检验,违法未处理(共计3条违章记录,罚款250元,扣9分)。

评估价:290800元,起拍价:210000元,保证金:30000元,加价幅度:1000元。本次拍卖共31人报名参与竞价,竞买记录共139次出价,于2020年6月29日10:24:24成交于竞买号U3476的出价366000元夺得本次拍卖。

现场勘察:车身有轻微划痕,前机盖有两处漆面破损生锈痕迹,右前冀子板有重新喷漆痕迹;4条轮胎严重磨损,车辆内饰磨损,仪表工作台完好,各项功能键正常有效,车辆后备箱门开合正常;车辆启动后,动态状况正常。车辆停驶期无保养记录,逾期未检验,交强险过期。车辆发动机、车辆识别码、机动车行驶证登记信息一致。

该车重要配置及参数信息:2010款5门8座SUV,4.0L自然吸气发的动机,5挡手自一体变速箱,全时四驱,前置四驱驱动,前悬架螺旋弹簧双叉臂式独立悬架,后悬架四连杆式非独立悬架,机械液压助力转向,非承载式车身,自动分区空调,排放标准为欧IV。


本次拍卖以366000元成交,大家有什么看法欢迎下方留言讨论,喜欢可以添加关注。