小编闲来无事想在国家商标局查询一下自己家乡的名字,查到后的结果让小编震惊不已。因为小编发现自己家乡的名字正在被别人申请注册。小编心想这或许是偶然情况吧,是谁这么聪明居然想到用我家乡的名字来注册商标。
都说好奇心害死猫,没事干的小编就顺便就查了一下这家公司,细查之下小编发现,这家公司名下赫然申请了826项商标。这么多商标是不是大公司啊?是不是有很多的产品啊?。再查之下我就傻眼了,这个公司名下几乎所有的商标名字都是全国范围内的乡镇的地名。

图片来自国家商标局官网

图片来自标库网

图片来自标库网

图片来自百度
小编就不一一赘述了,大部分的情况都是一样的结果。那么我们来看一下这家公司注册的商标都是哪些类别吧。

去除掉几个其他类别商标后共计818个
大家知道商标的小类就是其保护的范围,只要在这些范围内的产品都会涉及到侵犯其商标权的问题。那么小编实在不敢想象,当这些商标都被注册成功后,会对各地的厂商,百姓,和当地政府造成多大的冲击
我只能想到如下的情况

图片来自百度
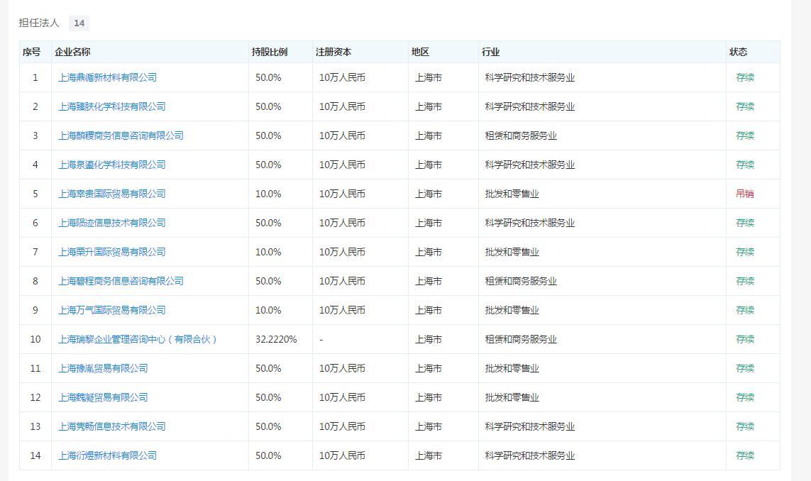
查完公司后小编就想,中国这么多城镇,这个老板肯定不会只注册这800多个商标就能覆盖的。所以就查了一下这位老板名下的公司。结果该老板名字通过企查查网站查询到有14家企业

小编顺便查了这些公司的商标情况

排除掉明显不是同一个人的企业,其他企业情况如下:

4832家,300多万的投入啊
一共4832个商标注册。都是在2016-2017年注册的。咱们就各算一半,2016年的官费为600元,2017年4月后的官费降为300元,那么粗略估算一下:2416*600+2416*300=2174400元。这是官费,那么还有相关代理费和相关人员支出就算100万。整个商标注册的费用初步计算下来就要300万元
前期投入300多万的项目,这位投资的老板果然是有钱人

图片来自百度
那么这位有钱的老板投入这么多资金,申请这么多商标,肯定不是为了到时候给各个乡镇送过去,毕竟前期仅仅官费就花了200多万,这么多投入的目的肯定是为了能挣到更多的钱
那么这位老板怎么达到盈利的目的呢?已小编的浅薄的知识分析来看,其实现盈利的方式有以下方式:
-
商标转让
-
商标许可
-
侵权诉讼赔偿
-
已侵权诉讼为手段的市场份额抢占
每一个盈利方式的背后,都有可能是一批对商标没有基本认识的农民企业家和一些白手起家的努力挣钱的年轻人。从以上的盈利方式中,我仿佛看到了浓雾掩盖的草原上,一位身穿铠甲的巨人,正在慢慢地走向一群待宰的羔羊。而这群羔羊还没有意识到,危险正在一步一步的接近。这是多么可悲的一件事情········
如需查询自己家乡商标是否被注册,请按以下方式查询:
商标局官网:http://www.ctmo.gov.cn/
标库网:http://www.tmkoo.com/index.html
权大师:http://www.quandashi.com/