海南是我国最南部的一个省,碧海蓝天,椰树海风,一个美丽的地方。
我的一个同学,十多年前,从北京博士毕业,看到北方城市的严重的雾霾,执意选择了三亚的一所大学去教书。
海南的高等教育,虽然没有一些省市发达,亦有几所不错的高校,考生如果想来这里读大学,我们在此推荐几所大学:
1:海南大学
海南大学简称“海大”,坐落于海口,是于2007年8月由原华南热带农业大学与原海南大学合并组建而成的综合性重点大学,国家“211工程”重点建设大学,国家“双一流”世界一流学科建设高校。

学校海甸、城西和儋州三个校区占地面积5160多亩,下设31个学院(部),97个本科专业;6个博士后科研流动站,10个一级学科博士点、32个一级学科硕士点、17个专业硕士学位点;教职工3765余人,专任教师2073人;全日制在校学生38000余人,其中本科生33000余人,硕士研究生4300余人,博士研究生300余人,国际学生400余人。

海南大学王牌专业:作物学、园艺、食品科学与工程、水产养殖学、法学、植物保护、农林经济管理、农学、农业资源与环境、作物栽培学与耕作学等。

世界一流学科:作物学
国家级特色专业(8个):园艺、食品科学与工程、水产养殖学、法学、植物保护、农林经济管理、农学、农业资源与环境
国家重点学科:作物遗传育种、植物学
国家重点(培育)学科:作物栽培学与耕作学
农业部重点学科:作物遗传育种、农产品加工及贮藏工程
海南省特色重点学科、特色优势学科(A类省级特色重点学科):作物学、法学、信息与通信工程
特色扶持学科(B类省级特色重点学科):化学工程与技术、水产、工商管理、园艺学、植物保护、药学、材料科学与工程、应用经济学、中国语言文学。
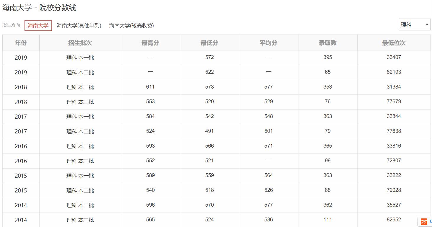
我们来看一下海南大学在河南省的历年招生情况:


2、海南医学院
海南医学院是海南省唯一一所普通高等医学院校。

校本部占地面积619.9亩,现有全日制在校生12050人,有教职工1104人,其中专任教师677人,是目前海南省开展留学生本科学历教育规模数量最多的高校。
拥有临床医学博士点,有学术型一级学科硕士点5个、专业型硕士点5个。“临床医学”是海南省高校首个拥有ESI前1%学科。
4所直属附属医院:海南医学院第一附属医院、海南医学院第二附属医院、海南医学院附属海南医院(海南省人民医院)、海南省肿瘤医院。
我们来看一下海南医学院在河南省的历年招生情况:


3、海南热带海洋学院
海南热带海洋学院是由海南省人民政府、国家海洋局、中国海洋石油总公司、三亚市人民政府、三沙市人民政府等共建的全日制公办普通本科省属高校。

学校的前身是广东省1954年创办的海南黎族苗族自治区师范学校和1958年创办的海南黎族苗族自治州师范专科学校。于1993年由海南省通什师范专科学校和海南省通什教育学院合并组建为琼州大学(专科)。2009年学校主校区由五指山市搬迁至三亚市。2015年9月,更名为海南热带海洋学院。
学校拥有三亚、五指山两个校区,校园总占地面积2200余亩。 学校现有18个二级学院,3个硕士学位授权点,51个本科专业、5个专科专业。学校已有海洋科学等19个涉海类专业(方向)。
学校现有教职工1200多人,其中专任教师840多人,高级职称教师410多人,硕士以上学位教师620多人,双聘院士2人。 学校现有全日制在校生18200多人。
我们来看一下海南热带海洋学院在河南省的历年招生情况:


4、海南师范大学
海南师范大学位于海口市,现有龙昆南、桂林洋两个校区,占地面积约3100亩,是省部共建高校、海南省重点大学。

1949年秋正式创建国立海南师范学院,2007年更名为海南师范大学。
现有21个学院(其中本科教学学院19个),65个本科专业,4个博士学位授权一级学科,16个硕士学位授权一级学科,9个硕士专业学位授权点。
现有本科生18203人,研究生827人,留学生356人。 师资力量较强。现有专任教师924人,其中教授225人,副教授306人。
我们来看一下海南热带海洋学院在河南省的历年招生情况:


以上四所大学,应该是海南最好的四所大学。对于有意向报考海南省高校的考生和家长,可以多多了解一下上面学校和专业。
我们从2018年开始,关注高考志愿填报,积累了一些高考志愿填报方面的经验和方法,如果你有这方面的问题,欢迎交流。