商标在企业经营中的重要性已经不言而喻,企业没有商标,就像人没有名字,必定无法为人知晓,更谈不上成名。对于一个企业来说,商标注册很重要,但有的时候取一个好的商标名更为重要,因此越来越多的企业喜欢在商标起名上大做文章。

但总有一些企业不走寻常路,于是产生了许许多多让人大跌眼镜的商标名称。
哈儿

“哈儿”一词是四川、重庆等地方的方言,一词多音多意。最多的是当“哈”读ha 三声 的时候, 其意为傻儿, 是傻子,白痴的意思。通常是严厉责备别人做错了事,偶尔也用于骂人。当“哈”读ha 一声的时候, 哈儿的意思就是 “一会儿,一下,一阵”的意思。



在中国商标网上查询,小编发现“哈儿”都已在多个领域被成功注册。
隔壁老王

“隔壁老王”和小明一样同属于网络神秘人物。老王一般指代着多重身份,他或许是你妻子出轨的对象、或许是你孩子真正的亲爹...是集万千吐槽黑锅于一身的悲情人物。网络流传的各种梗似乎让“隔壁老王”这个词的含义不那么健康积极。

经查询,目前“隔壁老王”的相关注册信息达到近百条,涉及商标类别范围广。最早的商标申请时间为2014年的7月,重要的是,相当部分的商标申请已经注册成功或是进入公告期。
叫个鸭子

“叫个鸭子”是北京味美曲香公司控股的中餐连锁品牌。2014年11月,味美曲香公司向商标局提出商标注册申请,将“叫个鸭子”注册为第45、44、43等数十类服务商标。但大部分因为违背社会良好风气而被商标局和商标评审委员会驳回,其北京知识产权法院也认为公众在字面意义上会产生不当的联想,造成不良的社会风气和影响。

二审北京高级人民法院改判认为商标在指定服务商并未产生不良影响,在第43类酒吧服务、住所代理(旅馆、供膳寄宿处)等服务类商标上给予核准注册。

由查询可见,目前商标已经过了注册公告日期,已经可合法使用了。
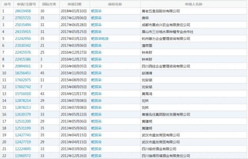
耙耳朵
“耙耳朵”为西南地区独有的词汇,发音为pa,一声,因男子结婚后常被老婆揪耳朵而形象地留传开,“耙耳朵”一词正是形容男子耳根软,怕老婆。

不过这个词却被注册为商标,到目前为止,在中国商标网上共查27记录,小编发现“耙耳朵”已在多个领域被企业或者个人成功注册。
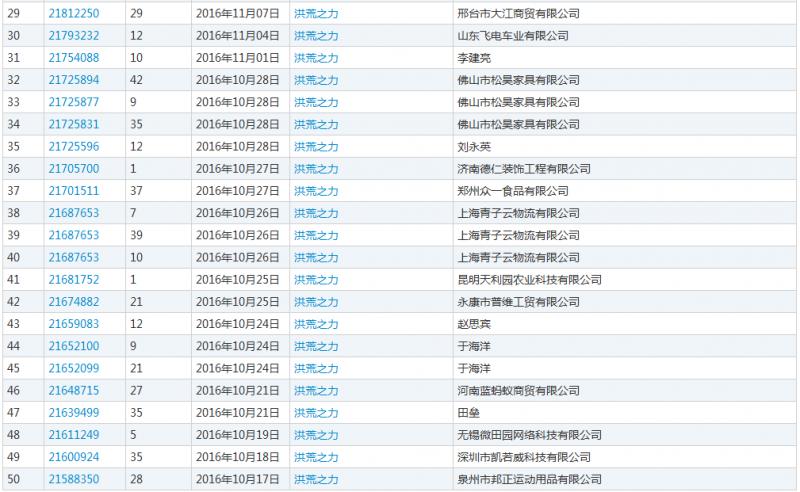
洪荒之力

2016年8月8日,里约奥运女子100米仰泳半决赛后,中国游泳女选手傅园慧接受采访时说:“我已经用了洪荒之力”迅速在网络上爆红。

然而,到了2016年8月11日,又有一个“大人物”跳了出来,号称已经把“洪荒之力”注册为商标,随后,又有许多公司先后加入商标注册行列。到目前为止,在中国商标网上共查600多条记录,小编发现“洪荒之力”已在多个领域被成功注册。
以上这些商标名称,你都知道哪些呢?你还知道哪些奇葩商标呢,欢迎留言喔!