目录:
1.市场与产品介绍
2.市场策略
3.产品设计
4.运营角度
5.总结
一、市场与产品介绍:
1.1 市场
近年来,目前国内图书零售市场规模逐年扩大,与此同时二手书这个市场也逐渐开始受到了各方面投资的重视。即使是在2018年至今整个泛科技行业的增速放缓,但是二手书市场却在资本寒冬中逆势增长。目前整个二手书市场上流通的书目仅占到存量市场的 5%(2018年数据),对于二手书平台来说,这么大的市场发展的空间,既是发展的黄金机遇,也是前所未有的挑战。
本文将对目前比较火的二手书平台「多抓鱼」和「漫游鲸」进行对比分析,找到他们产品策略、设计以及运营上的区别。
1.2 产品
1 多抓鱼:
「多抓鱼」上线于 2017 年 5 月,LOGO是一个猫吃鱼的简约形象,主要通过微信服务号和小程序为用户提供卖书、买书的服务。slogan:“真正的好书值得被阅读两次”

目前多抓鱼的APP已经在App Store和安卓市场上线,并且开通了支付宝花呗功能。同时,多抓鱼的商品不仅仅再局限于二手书,而是向着多元化电商平台发展了。
2 漫游鲸:
「漫游鲸」于于2016年11月15日上线,和多抓鱼的商业模式是类似——都是通过微信平台进行业务运转。相比多抓鱼最直观的差别是,漫游鲸多了一个“虚拟书费”的自制货币体系,平台一直以来的宣传卖点“原价收书,1.5折买书”也是和“书费“概念有关联的。
漫游鲸的slogan:“书有新旧,但文字没有”

单从这两家平台的LOGO(猫、鲸)和关键词「书」来看,用户的画像差不多就已经很清晰了:文艺范、爱读书、有情怀的年轻人群体。
两家平台都采用了和之前二手书商不同的 C2B2C的商业模式,平台从个人回收二手书后再将其转卖给他人,然后将收购回来的图书进行清洁、翻新、消毒、再次重新包装后进行二次交易,具有集约化、标准化的性质(每本书都有一个唯一的 ISBN 编码)。

这种做法模式很大程度上解决了一直以来二手书交易的痛点——买卖双方信息不对称,买方收到的图书质感一般。也是他们能从二手书市场中分一杯羹的重要原因之一。
1.3 产品数据表现
由于两家都主要是在微信公众号和小程序开展业务,公众号和小程序是主要的流量入口,也是用户的存放地,所以他们的公众号的数据是具有代表性的。以下是「西瓜数据」数据:
多抓鱼

漫游鲸

选取其中有代表性的指数、活跃粉丝数(活跃买家)、互动率、阅读量这几个维度进行对比

从这些数据来看,多抓鱼是比漫游鲸更加强大的。当然,由于产品策略的不同,这部分的数据并不能直接推断出哪一家做得更好,还需要平台的用户复购率、MAU、ARPU等数据来进行对比。
根据「漫游鲸」团队2019年提供的数据,目前鲸鱼的注册用户 200 万,60% 左右的用户增长来自于老用户推荐和口碑,图书流转率为89.98%,季度复购率约30%,接近90% 的书可以在 30 天内被流转出去。
对于多抓鱼,很无奈我只找到了他们2018年的数据:卖出一本书的时间中位数是 19 小时,平台客单价是 74.68 元,复购率 32.91%。卖书最多的用户,在多抓鱼一共卖出 1146 本书。
可以看到,即使是在2018年,多抓鱼的复购率也超过了漫游鲸2.91个百分点。我们姑且可以认为,多抓鱼目前的势头是比漫游鲸更好的。(以后不一定)那么,到底是什么原因让多抓鱼比漫游鲸做得更好?漫游鲸是否有可能超车?
二手书目前还能算是个蓝海市场,这两家是直接竞品。由于商业模式类似,并且各个流程之间的效率该提升的也早就可以提升……所以能死磕的,无非就是产品战略(方向决定怎么发展)、产品设计(用户体验)和运营(增长、留存、让用户花钱)。下面也将从这几个角度展开分析。
二、市场策略:
这两家平台的创始人猫助和王龙也是近年来的创业明星了,做的演讲和分享也很受人欢迎,尤其是“如何在流量危机的现在做好用户增长” 。通过他们的发言,可以发现这两家的产品策略的差异是比较大的。
多抓鱼的创始人猫助在2019极客公园创新大会上明确表态“多抓鱼走的路线是价值路线,而不是投机路线”。
而漫游鲸的创始人王龙则是在一开始就想好了“书费”的模式,想要依靠制度设计来做一个“平台”,而不是“商店”。
从盈利模式的角度来看呢,毕竟是书店,在流量不够大之前都得靠卖书来挣钱。然而一本书本身售价就不贵,同时相比卖新书有多有多要注意的地方,所以……如何解决低成本获客、拉动平台持续交易(用户留存和ARPPU),就成为了突破发展瓶颈的关键。说白了,就是“开源节流”。而说到盈利应该怎么计算,就是公式:
盈利 = (售卖价 - 收购价 - 机构运转成本 ) × 流通频次
机构运转成本诸如仓库管理、图书管理人员的培训等等,虽然是一个类电商平台非常大的开销,但是我不是很了解,也不属于产品和运营角度,所以就不过多提及。
1 多抓鱼
多抓鱼很重视用户的精细化运营,通过注重用口碑来吸引用户。 用户的“流通频次”对于他们来说是极其重要的。他们要保证大多数的用户能够对他们的产品产生好印象,这样就需要他们注重产品的文化氛围和用户体验。
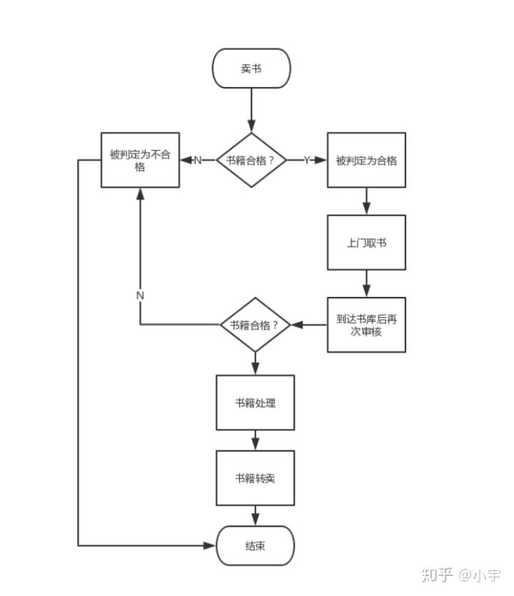
他们是希望对每一个用户精耕细作,一步一个脚印。多抓鱼的图书审核和用户是关系非常紧密的:多抓鱼收书的标准,不仅是根据豆瓣评分来定,还根据这本书的市场来定。比如:平台推算3个多抓鱼用户需要《乌合之众》,那么可能总共只收5~6本,不管这本书市面上火不火,质量有多高。这样就保证了能够用自己现在有限的专注放到最核心的部分上去。
简单的理解一下这个流程就能感觉到这种算法体系非常难搭建,但也正是因为这样的标准,让平台上的书质量相对较高。没有盗版书、没有教辅类偏离用户定位的书、诸如畅销书、成*学功**、伪科学等等内容质量不佳的都是不收的。
“专注”给多抓鱼带来的,是用户对于多抓鱼的认知的改变。对于大多数的用户来说,多抓鱼不是一个“二手书商”这样的冰冷的词语,而是一个淘宝小屋、文艺青年的港湾,用户们也乐意和多抓鱼互动。有很多用户就是希望得到带有多抓鱼logo的盒子而一次性买很多书,也顺带做了“多抓鱼箱子猫”这样的比赛(10W+,“在看” 2774个), 这也是之前的图里面,单篇文章平均阅读数远大于漫游鲸的原因之一。

目前多抓鱼已经开始向多元化的电商发展,售卖的商品从极客范儿的数码耳机,也有文艺卦的文具手帐,甚至还有黑胶这样的小众文化商品。并且已经上线了APP,盈利的方法和用户的ARPPU随着品牌效应的累积变得更多。
2 漫游鲸
说到漫游鲸,最吸引人的还是那句宣传语““原价收书,1.5折买书”,要分析漫游鲸的市场策略就离不开他们的“书费”规则。
1. 对于有“书费”的用户:在原价基础上以 15 % 现金+ 85% 书费的构成完成交易,例如一本书原价为 100 元,用户只需支付 15 元现金,再用 85 书费进行抵扣,相当于 1.5 折买书
2. 对于新用户或者是“书费”不足的用户,需付出原价 4~5 折的水平售书,全部以现金支付。
3. 卖书,可以获得书籍原价100%的“书费”。
对于新的用户来说,能用书费抵扣大部分的买书费用是非常诱人的。(使用书费:1.5 折 VS 全价购买:4~5 折)大多数用户如果在漫游鲸上有想买的书,都会想办法先通过卖书获得这样的方法获得“书费”然后再去购买——谁手上还没基本闲置的旧书呢?就这样,用户的第一次行为(Action)就产生了,一旦将自己的图书卖给了平台,其实就是相当于在这个平台里面“充了Q币”,用户和平台的关系就不再是简单的买卖方,而是双赢关系。
由于书费不能提现,所以平台不用承担收书的资金压力。同时,统一原价收书,避免了给书定价的环节,降低了机构运转成本。
漫游鲸为什么会想到这样做?二手书的买家和卖家的身份重叠度高达70%,这样可以最大可能性的提升书籍转化率和用户的粘性。与其说漫游鲸多了一个“书费”的概念,倒不如说他们在“提升二手书流通率”上的布局是*瞻高**远瞩的。
这样一套组合拳理想情况下是可以创造一个完美的二手书生态的,就好像京东自己创建了物流系统。然而……用户不一定会买账:
1. 首先,这种制度对于平台的要求更高,如果某个环节让用户的体验不佳,那些非核心用户用户就可能想着尽可能快的把手上的书费凑单用完,一旦没有了书费,用户的活跃将会大幅下降。失去了「飞轮效应」,对于一个平台的打击无疑是致命的。
2. 同时,大家也都知道有无数的电商失败的例子,“如果漫游鲸失败了,那我的书费怎么办?”无人知晓,所以让用户对漫游鲸平台产生信任,是漫游鲸重中之重。在后面的“运营”中,也会证实这一点。
3 总结
二手书的单次可以盈利的其实很少,购买二手书的用户在一定程度上是对价格因素是很敏感的,两家已经把自己的价格和压倒了了最低,所以对盈利公式 “ 盈利 = (售卖价 - 收购价 - 机构运转成本 ) × 流通频次” 分析到最后,最核心的一点就是提升流通频次。
三、产品设计
目前多抓鱼的产品载体为微信公众号、小程序、网页版、APP,漫游鲸为微信公众号和小程序。
经过本人长期的体验,感觉多抓鱼和漫游鲸的产品架构和功能点是非常类似的,更多的差异则是在用户的体验和内容上。


(值得注意的是,漫游鲸小程序的字体和图片框更小,一页能够展示更多的内容)
1 多抓鱼
首先最直观的感受是,多抓鱼的首页很有意思,并且也很契合用户的喜好(千人千面)。书单分类会让用户感觉是在逛豆瓣……设置了「投资」「人类学」「吸猫」 等标签来细分垂直人群,或者是一些更加具体的书单,如《你千万别点击这个书单》、《我这一行的入门书》。而在“猜你喜欢”这一部分,则通过用户数据收集,通过数据分析和机器学习得到了爱好阅读的书籍推荐——如果用户想要的书正好缺货,那就给用户推荐更好的,让他忘记前任吧。
在深入体验以后,发现多抓鱼的用户体验相比漫游鲸真的是好了很多,每一步用户的行为都会有正反馈。
1. 当用户卖掉一本书到平台的时候,平台根据用户卖出的某本书,为他生成一张标签。如:用户卖的书里有股市类的书,它会夸你「韭菜觉醒」。
2. 当自己卖的书被别人买走的时候,公众号里面会有提醒“你的《xx》被xx用户买走了”,如果想要和对方说话,可以点击「鱼邮」功能,把自己想要说的话告诉对方。通过书籍让用户之间产生了有温度的对话,不逃脱“文艺”这个用户定位,也让用户的体验更好,粘度更强了。
3. 在个人中心界面,强调了“写读书笔记”的功能入口,希望用户能够将自己的读书笔记分享到多抓鱼内部,其它用户在点击这本书籍详情时,可以看到他分享的笔记。

2 漫游鲸
漫游鲸的产品设计和多抓鱼是类似的(两者其实都是SaaS敏捷开发出来的程序),基本的买书卖书的功能都一样,但是经过深入体验就能发现,它们强调的内容其实是不一样的。
在战略分析的部分也提及到过,漫游鲸需要通过提升自己的知名度和权威程度来达到平台的稳定发展状态。相比请一些大V或者做广告(运营部分会提及),朋友之间的推荐才是最佳的广告,自己的闺蜜和好哥们给你推荐的东西,有很大一部分用户都会点进去看看。所以漫游鲸小程序内推荐用户分享漫游鲸给自己的朋友的入口无处不在。如:
1. 提交订单时:“您有一波书费待领取”
2. 首页提及“书费+包邮券“
3. 首页“领取福利”
4. 个人中心“做任务,领福利”
5. 0元书单(即只需要书费就可以购买,不需要另付现金的书)中,会在下部分标注“去赚书费” → 分享给朋友

同时,漫游鲸也非常想强调“书费”的概念,当然,如果能认同漫游鲸价值观的用户不需要频繁提及,而对于那些不怎么被“使用书费低价购买书籍”的用户,漫游鲸则采用了多次重复强化用户认知的方法,促使用户产生卖书行为。漫游鲸的书费概念被提及的地方如:
1. 个人中心“买卖规则”
2. 任务中心 → 兑换书费
3. 书籍详情页(无书费时提醒)
4. 加入购物车时,提醒书费优惠
3 总结
过多的重复和强化用户的认知,使得漫游鲸相比多抓鱼更像是一个商店,人间烟火味明显不如多抓鱼。从用户的角度来看确实大多数人都会中意多抓鱼,但是资本的竞争并不会谈情怀,谁先占有市场谁先存活下来才是好的结果,漫游鲸的产品设计仍旧是好的,虽然……用户体验不是非常优异,但是只要能够实现自己的增长目标就是一只“好猫”。
四、运营角度:
多抓鱼和漫游鲸都是近几年抓住了二手书的市场空缺机会而快速发展起来的,漫游鲸于今年4月获得了由联想之星领投的2000万RMB Pre-A 轮融资,这部分资金主要用于用户增长和产品优化。多抓鱼在2018年获得了腾讯的融资,融资估值约为 1 亿美元。由于走的是小而美的路线,所以用户的粘性比较高,那个时候的CEO猫助把多抓鱼将重心放在了社区氛围营造上。
不论是多抓鱼还是漫游鲸其实都是非常注重运营的。其实,将二手交易平台和正规的电商平台对比,这些二手交易平台本质上是一种社区,就好像是你在微商那里买的东西,一定是因为你和他认识了之后才发生的。微商说一万遍“我的货真的很好”,又有谁会买账呢?
多抓鱼CEO猫助:“虽然我们附加了服务,但所有东西其实都是用户提供的。社区的核心在于人,关键是一群什么样的人在用,不同的人会产生完全不同的氛围。”
下面来抓重点的讲一下这两家平台的核心运营方法。
1 多抓鱼
1 邀请用户(UGC)完成书单推荐
如果有读者这两个产品都体验过,就能感觉到多抓鱼的书单丰富程度是远高于漫游鲸的,这是他们用户的付费率高于鲸鱼的主要原因之一,而这些书单一部分是出自PGC,还有一部分就出自多抓鱼的用户们。
「多抓鱼」每个书单对应运营做的一个主题,然后用户都可以选一本你觉得符合主题的书来推荐并写上推荐语。和用户来一起维护这个平台,是和用户产生联结的最佳办法。
2 线上+线下活动
除了上文提及的线上“多抓鱼箱子猫”的比赛,多抓鱼做的线下活动也很有趣,很文艺范儿。

多抓鱼团队曾经在2018年策划了线下活动“书中生物展”,收集了过往 1 年中回收的近 100 万本书籍中夹杂的车票、照片、单据等“现实残片”,并和发现它们的书籍并列摆放,希望人们能够“在阅读中变成了共生关系”。
3 名人效应以及书的情怀
多抓鱼的PM分享过这样一个故事:蒋方舟(作家)在收拾书房时,无法处理那些不再看的书,发了一条求助微博,结果被朋友安利了多抓鱼,然后她就卖了一个大单过来。多抓鱼每本书卖出的书的旁边是会展示卖书人头像、有名字的,于是就引发了蒋方舟的粉丝来买她的书。
如果是新书,哪里买不到?如果只是想泛阅读,何不去微信读书、网易蜗牛呢?是的,阅读不仅仅是看书而已,而是人与人之间的联结,多抓鱼对自己用户的理解非常的透彻。
除了产品内的触发(Trigger),多抓鱼外在的流量引导也做了很多。2018年8月匡扶摇在微博发布了漫画《被折角的人生或书》,围绕着一家叫“多抓鱼”的二手书店发生的故事,在微博和朋友圈双刷屏。冷启动阶段KOL带流量这个是老生常谈的了,但是「多抓鱼」的话,由于其业务的特性,更容易被读书人自愿的推广和转发。根本不用插入硬广,而直接谈情怀。

2 漫游鲸
1 软文和市场推广
虽然数从据上来看,多抓鱼是要比漫游鲸做的更好的,可是笔者在写这篇文章的时候特意去问了一下身边的朋友,令我吃鲸的是,漫游鲸的知名度是要比多抓鱼更强的。
特意去网上找了一下原因,我发现漫游鲸非常注重自己的推广。在微信内或者搜狗搜索引擎中搜索“漫游鲸”可以得到非常多的结果,仔细观察一下投放渠道,其中不乏“白熊事务所”、“淘高考”、“中学生语文作文”、“熊叔英语”、“读者”这类的号。这又证实了之前说的,漫游鲸要增加知名度和权威性才能和多抓鱼抗衡。
然而,几乎没有看到漫游鲸的推广文出现在大型的公众号里面,毕竟大号的粉丝多了,用户的画像也会相对的被稀释。它们采用“打游击战”、“精准打击”的方法,争取将每一分花在推广上的钱都落实到位。如果要说“在推广上的专注”,多抓鱼肯定不会是漫游鲸的对手。
如果知名度和权威性达到了一定程度,鹿死谁手又谁知呢?

2 社群运营
虽然没有参加过漫游鲸的活动,但在之前略有耳闻。漫游鲸做过很多优惠活动想要增加用户的来源渠道和活跃度,比如“免费送书”、“获得100元书费”等活动,参与活动需要添加客服微信,然后引导用户进入漫游鲸社群运营号。估计规模达到上万人。
3 用户激活
熟悉运营的小伙伴对于用户的激活(Activation)这一个流程肯定是再熟悉不过了,激活位于AARRR模型的第二个流程,让用户传递产品的“AHA时刻”。
漫游鲸是流量导向的,相比多抓鱼他们更注重用户的拉新和留存,然而对于那些对平台还不是很熟悉的用户(多数用户都是),及时激活用户的行为是用户能否沉淀的重中之重。漫游鲸也深知这一点,也没少下功夫。比如:
1. 每次进入小程序,都会有弹窗提示加入活动
2. 新用户首次下单,验收过6本,送包邮券。
3. 新用户礼包,包邮券+20书费
4. 强调“低价购买”,让用户尝鲜。

当然, 还有很多运营的手段,比如公众号信息PUSH、大V带流量、定期优惠活动、公众号书籍推荐卖货等……这些都是它们用过的运营手段,但却无法体现出两方的特点所以就不过多赘述。
随便一提,多抓鱼和漫游鲸的各大平台的社交账号(微博、豆瓣、知乎)都没怎么重视,都把运营的核心放在了微信里面。
五、总结
在微信里开始产品的从 0 到 1 是很适合的,不管是用服务号、订阅号还是小程序来启动……从多抓鱼目前已经上线APP来看,创业公司初期依托微信平台是可以走完初期发展的流程的。当然,这种方法也有很明显的弱点:冷启动容易,但用户留存难。
其次,二手书商朝着多维度发展是必然,二手书的盈利能力非常有限,同时中国二手书商家很多,C2B2C商业模式目前并没有出现“降维打击”的状态,“孔夫子”、“有路网”仍然活得好好的。猫助认为,“一样东西如果能被循环使用,质量一定很好。” 当更多人开始循环使用优质商品,更多平台提供这类服务,也会向上影响工业,使粗制滥造的厂家被优质厂家取代。所以,这是一条不错的发展方向,一定要扩宽自己的盈利途径(多抓鱼已经在做了)。
然而,继续发展下去,即将面临的就是平台竞争、资本竞争等压力了……风光日子且行且珍惜。
六、参考链接
部分文中出现的数据和创始人的原话参考于以下文章:
1. 上线一年超30万用户,「多抓鱼」们的二手书交易到底体验怎么样?2. 从一个微信群和一张Excel表格开始,打造一家叫多抓鱼的二手商店3. 二手书交易平台「漫游鲸」获 2000 万元人民币 Pre-A 轮融资,联想之星领投4. 猫助演讲:多抓鱼不做「大」:耗费过火资源获取的用户,并不真正属于你5. 漫游鲸王龙:漫游鲸:“原价回收+虚拟货币”,二手书市场还能这么玩?

作者:小宇 Mikasa,产品新人;公众号:枯树梦呓,邮箱:zhouyupm@gmail.com,欢迎来撩。