近期,商务部电子商务司发布了《中国电子商务报告2019》。报告显示,2019年,中国电子商务市场规模持续引领全球,服务能力和应用水平进一步提高。中国网民规模已超过9亿人,互联网普及率达64.5%;全国电子商务交易额达34.81万亿元,其中网上零售额10.63万亿元,同比增长16.5%,实物商品网上零售额8.52万亿元,占社会消费品零售总额的比重上升到20.7%;电子商务从业人员达5125.65万人。在这样的背景下,各种各样的电商平台在消费者眼前呈现出了百花齐放的状态,“淘小惠”正是在花丛当中盛放的一朵。
淘小惠是一个怎样的电商平台?相关奖金制度该如何解读?春来雅名下的产品为何频遭“责令改正”?广州市丽泽化妆品有限公司生产的产品是否可靠?身为非特殊用途化妆品的春来雅玫瑰纯露为何会被宣传为具有杀菌和美白的功效?与春来雅有所瓜葛的伊妮莎莉的现状又是如何?

公司背景,经营异常
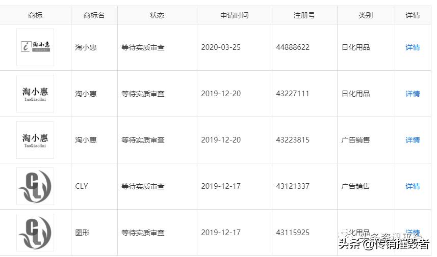
据官方公众号介绍,淘小惠目前主打的品牌为春来雅,品牌定位为高品质、低价位、全覆盖。经查,淘小惠的经营主体为潍坊春来雅化妆品有限公司,该公司成立于2019年11月25日,法定代表人和独资股东为常统兴,注册资本10万元,认缴出资时间为2049年,据启信宝显示,目前该公司所申请的一系列关于淘小惠的商标正处于“等待实质审查”的状态。

当我们试图通过淘小惠的公众号访问“产品手册”等资料时,弹出的页面写着“山东春来雅生物科技有限公司”几个字。山东春来雅生物科技有限公司成立于2019年5月24日,法定代表人魏守建,股东有魏守建和宗全成,注册资本1000万元,据2019年度报告显示,该公司的认缴出资时间为2059年,参保员工为0人。


该公司所申请的一系列有关春来雅的商标,目前也处于申请收文或等待实质审查的状态。

山东春来雅生物科技有限公司现已被纳入到齐力豪俊集团的名下,据悉,该集团主公司为潍坊齐力豪俊商贸有限公司,该公司的法定代表人也是魏守建,2018年7月,该公司因未依照《企业信息公示暂行条例》第八条规定的期限公示年度报告而被潍坊市潍城区市场监督管理局列入经营异常名录。

除此之外,魏守建还曾投资了潍坊呈现网络科技有限公司,而该公司在2020年7月也因相同的原因被潍坊市潍城区市场监督管理局列入经营异常名录。

至于在潍坊齐力豪俊商贸有限公司担任监事的刘树栋,其名下的公司也正处于经营异常的状态。潍坊市伊妮莎莉生物科技有限公司已在2018年和2019年连续两年因通过登记的住所或经营场所无法与企业取得联系,被潍坊市潍城区市场监督管理局列入经营异常名录。

同样由刘树栋担任监事的潍坊市伊菲莎生物科技有限公司则已连续三年被潍坊市潍城区市场监督管理局列入经营异常名录,至今未被移除。

根据有关规定,被列入经营异常名录届满三年仍未履行相关义务的,将被工商部门列入严重违法失信企业名单,并通过国家企业信用信息公示系统向社会公示。一旦企业被列入严重违法失信企业名单后,将被列为重点监督管理对象;其企业的法定代表人、负责人,3年内不得担任其他企业的法定代表人、负责人;同时将在政府采购、工程招投标、国有土地出让、授予荣誉称号等方面被依法予以限制或禁入。
揭底模式,销售奖励
下面,我们再来了解一下淘小惠的经营模式,在淘小惠商城任意购买一款产品即可成为会员,享受产品零售价六折优惠,并且享受签到免费领面膜的权利。说到签到领面膜,这种模式在最近这几年里是越来越火,变得越来越常见,头条资讯平台曾在题为《揭秘“只送不卖”的黎黛索博士,在产品宣传方面是否存在虚假与夸大?》的报道中,对索博士与康皱的这种签到领积分,积分兑面膜的模式有关介绍,这里不多赘述。

再说回淘小惠,据《淘小惠会员经营政策》显示,淘小惠的会员可分为三个级别,第一个级别是业务员,销售一支产品可获得销售利润十元,销售十支产品升级业务员可获得二级会员销售产品的五元利润,会员每领一盒面膜直属业务员获得一元奖励,具体政策如图所示:

第二个级别是代理商,一次性或者累计零售价购买369元春来雅产品,可成为代理商,代理商可享受以下五种权益:第一,享受会员价的六折;第二,享受单支产品百分之四十到八十的零售利润;第三,享受代理商的专属福利;第四,代理商销售369元套组享受销售利润;第五,团队复购业绩收益累计达到两万元,可享受公司养老金分红百分之二。

第三个级别是合伙人,合伙人也叫运营中心,合伙人可享受以下七种权益:第一,享受区域保护两公里的政策;第二,享受会员价五折拿货,盈利百分之五十到八十的单支产品零售利润;第三,备份代理商额外享受百分之五的提成;第四,代理商批发产品享受百分之十的利润差;第五,团队复购业绩收入累计达到两万元,享受公司养老金分红百分之二;第六,享受合伙人专属福利;第七,车奖:连续三个月销售业绩达到每个月三万元时,公司奖励12万元的车一辆。值得注意的是,合伙人考核三个月低于五千元总业绩,将被予以取消资格。

在本篇报道中,我们简单地了解了一下淘小惠与春来雅公司的背景,《淘小惠会员经营政策》涵盖了哪些内容,在下篇报道中,我们将主要关注的是春来雅名下的诸多产品为何频遭责令改正,相关产品的实际生产企业广州市丽泽化妆品有限公司又曾被广东省食品药品监督管理局检查出过怎样的问题。