本文来自微信公众号 “空间秘探”(ID:MESPACE007),作者:雷布同。
近日,淳安千岛湖浙旅名庭度假酒店有限公司(下称“浙旅名庭度假酒店”)100%股权在全国产权行业信息化综合服务平台公开挂牌转让,底价为1529万元。据了解,浙旅名庭度假酒店隶属于浙江省旅游投资集团,是典型的地方国企酒店。而近年来,地方国企酒店转让较为频繁,仅在千岛湖,8年就转让了4家。与“国字号”酒店转让形成对比的是,国际酒店大牌频频进入千岛湖——万豪初登场,洲际再加码……千岛湖酒店市场,是不是已经进入内卷时刻?
“国字号”酒店转让,8年第4家
空间秘探了解到,本次挂牌转让的浙旅名庭度假酒店成立于2006年3月27日,由2大股东共同持有,分别是持股72%的浙旅蝶来酒店集团有限公司(下称“浙旅蝶来酒店”)以及持股28%的浙江省旅游投资集团有限公司(下称“浙旅投”)。据企查查显示,浙旅投的实控人为浙江省国资委,而浙旅蝶来酒店是浙旅投的全资子公司。也就是说,浙旅名庭度假酒店是一家拥有国资背景的“国字号”酒店。
据了解,浙旅名庭度假酒店注册资本为2393万元人民币,转让底价为1529万元。这家酒店最终是否会如愿迎来新股东,根据本次转让披露时间2021年11月3日至2021年11月30日来看,答案月底或将揭晓。
在交易平台上来看,浙旅名庭度假酒店并不“孤单”。同样位于千岛湖,具有国资背景的千岛湖外高桥大酒店有限公司(下称“千岛湖外高桥大酒店”)也“身居”全国产权行业信息化综合服务平台中,以底价3924万元的价格公开挂牌转让。略有不同的是,这已经不是千岛湖外高桥大酒店的第一次挂牌转让了。
2019年,杭州千岛湖外高桥大酒店曾在上海产权交易所公开挂牌转让,挂牌底价7034.29万元。其中,持股75%的上海外高桥集团股份有限公司(实控人,上海浦东新区国资委),转让底价为5876.56万元;持股25%的淳安县工贸资产经营有限公司,转让底价为1157.73万元。
时隔2年,今年10月19日,杭州千岛湖外高桥大酒店又出现在全国产权行业信息化综合服务平台上。但是,这一次杭州千岛湖外高桥大酒店的挂牌底价为3923.92万元。价格差异的原因是,两次出让的标的不一致,第一次出让标的是酒店100%股权,而这次出让标的是大股东上海外高桥集团股份有限公司手中的75%的股权及企业债权。外高桥集团这一次是否能顺利出让千岛湖外高桥大酒店,11月15日即能知晓。
尽管在全国产权行业信息化综合服务平台上,各类酒店公开出让信息屡见不鲜。但是对于千岛湖这个多年来各大酒店品牌一直在进入,鲜少有退出的市场而言,着实不常见。据公开媒体报道,近8年以来,千岛湖有4家中大型酒店项目公开转让。
浙旅名庭度假酒店和千岛湖外高桥大酒店之外,前两次酒店转让分别发生在2013年和2017年。
2013年,房企东方巨龙投资发展(杭州)有限公司在千岛湖清心岛在建工程,内含旅游度假酒店综合体,以2亿元的价格在淘宝网进行公开拍卖。原因是这家房企在项目开发中,需补交土地出让金1亿多元,但未按时支付,被国土部门向法院申请强制执行。
2017年,同样是房企公司新光圆成股份有限公司旗下的浙江万厦房地产开发有限公司,拟12亿转让建德新越置业有限公司100%股权。后者是千岛湖皇冠度假村项目而成立的项目公司,也就是说,实质是拟出售千岛湖皇冠度假村项目。不过,从企查查来看,目前该酒店所属的建德新越企业管理有限公司,是建德新越置业有限公司的全资子公司。这也就不难解释,这家酒店放出出让消息时,就有媒体认为是其为了周转资金改善财务数据的动作。
“国字号”酒店,为何“退场”?
对于背靠“国资”的酒店而言,或多或少能够获得一定的资源倾斜。尤其是在千岛湖这类职工疗休养热门目的地,更是如此。再加上因疫情进一步升温的周边游,被上海和杭州旅游市场视为“后花园”的千岛湖,发展前景呈现积极向上的态势,浙旅投为何会选择在此时转让浙旅名庭度假酒店?
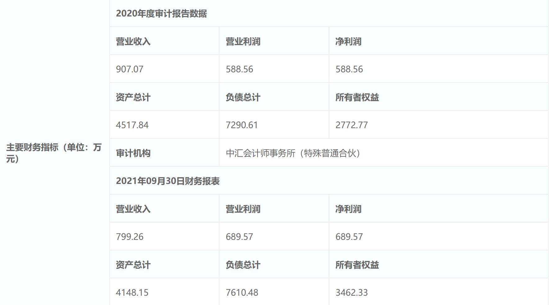
其一是酒店经营数据表现并不乐观。从营业收入和营业利润来看,尽管还有3个月,但今年浙旅名庭度假酒店这两项指标已经稳超2020全年度,这与疫情防控向好不无关系。但是从资产总计与负债总计来看,并不乐观。酒店资产减少369.69万元的同时,负债却增加了319.87万元。

图片来源/全国产权行业信息化综合服务平台
类似的情况也出现在千岛湖外高桥大酒店中,2019年初次转让时,该酒店营业利润为负87.72万元,资产总计1778.3万元,负债总计3812.93万元,所有者权益为负2034.63万元。长期的经营不善,对于投资回报周期本就漫长的中高端酒店而言,是极其危险的。
其二是设施老旧给酒店口碑带来了负面影响。在OTA平台上,无论好评差评,几乎都提及了酒店外观老旧、设施和装修老旧。甚至有消费者表示,自己入住的客房“空调制冷功能形同虚设,加上隔音不佳,导致房间内又吵又热,难以入睡”。不可否认的是,这一点是浙旅名庭度假酒店的“硬伤”。
作为与千岛湖温馨岛蝶来湖景度假酒店“隔湖相望”的姊妹酒店,浙旅名庭度假酒店拥有绝佳的景致。因此在旺季的基础房价最高可达800+元,淡季特惠房价在200-300元之间。价格的高下,会左右消费者对酒店的期待值。尤其是在千岛湖新酒店遍地开花的当下,老旧的硬件加上旺季忙碌的服务人员,高昂的价格与消费者期待的长期错配,势必会给酒店带来一定的负向反馈。
其三是逐渐白热化的板块竞争。浙旅名庭度假酒店所在的阳光路,与千岛湖梦姑路、夜游码头、以及千岛湖广场和羡山半岛等已经形成了若干个酒店板块。但是在2011年浙旅名庭度假酒店开业之后,阳光路周边新酒店势如破竹。
其中,既有大型集中的酒店集群,阳光水岸公寓中大大小小的各类公寓式酒店,还有性价比至上的星程酒店、如家精选酒店(千岛湖景区店)以及千岛湖3800科冠晶品酒店等,更有度假类高端酒店如千岛湖阳光大酒店以及老牌开元度假村等。
其四是进入“焕新”阶段的千岛湖酒店市场。小区域的板块竞争之外,放眼整个千岛湖酒店市场,头部酒店品牌的持续加码,倒逼千岛湖酒店进入“焕新”阶段。2020年,原千岛湖松城饭店进行了改造翻新,以千岛湖中心码头亚朵酒店的新面貌重新亮相;今年国庆前夕,原首旅旗下的千岛湖润和建国度假酒店,换牌为千岛湖伊敦度假酒店并正式开业;四季度,千岛湖阳光大酒店正式挂牌VOCO,成为大中华区第3家VOCO品牌酒店。综上,林林总总的压力,让浙旅名庭度假酒店“萌生退意”,也就不难理解了。
内卷时刻,到了吗?
事实上,在千岛湖酒店市场中,不仅是酒店及品牌的焕新,还有一些国际酒店品牌的初次登场以及加码。作为万豪旗下在千岛湖的首家酒店——千岛湖福朋喜来登酒店,以及洲际旗下的第四家酒店——千岛湖假日酒店均在今年开业。不仅如此,万豪旗下奢华酒店品牌,丽思卡尔顿酒店也将于2026年落户千岛湖。千岛湖酒店市场,是否将就此进入内卷时刻?
首先来看千岛湖的旅游发展情况。据淳安县官方数据显示,今年1至6月,全县接待游客423.4万人次,实现旅游经济总收入77.1亿元,同比分别增长80.8%和81%,完全恢复至2019年同期水平。对比今年与2019年的淳安县国庆“黄金周”期间的数据表现来看,此言不虚。2019年国庆共接待游客117.84万人次;2021年国庆共接待游客115.21万人次。
酒店收入表现,今年十一假期,纳入统计的37家高星级、高品质特色酒店共接待游客8.01万人,客房入住率82.72%,平均房价1214元。今年中秋期间入住率为73.18%,清明小长假为68.2%,元旦小长假为60%左右。当入住率与逐年增长的酒店规模呈正相关时,千岛湖市场的旅宿消费潜力毋庸置疑,良性竞争自然也在所难免。
其次是酒店软硬件配套的高奢化。最初的中高端酒店大多重视的是酒店建筑本体的建设,力图从外观以及酒店客房等方面着手,打造酒店的差异性。千岛湖秀水舫酒店采用了红墙黄顶的传统宫殿式建筑风格,在青山绿水之间分外醒目。而且它也是千岛湖唯一一座漂浮于水面上的酒店,三面环湖,入住的客人可以在房间内直接将鱼竿甩入湖中进行垂钓。
而现在,酒店已经不再仅仅满足于建筑方面的独特。一些临湖酒店建设了自*码有**头并为住客提供快艇及周边岛屿游览服务。千岛湖滨江希尔顿度假酒店的自有游艇码头,就可直达千岛湖地标景点黄山尖。此外管家服务也是近年来千岛湖度假酒店服务的重要创新点之一,如由新加坡设计师打造的千岛湖Y Yegin森屿酒店会为住客提供私人专属管家模式服务。
最后是对优质自然资源的争夺。“独享”岛屿或是水域,是千岛湖高端度假酒店的共识。早期的开元度假村“独享”麒麟半岛,千岛湖温馨岛蝶来湖景度假酒店“安居”温馨岛,千岛湖洲际度假酒店“稳坐”羡山半岛。但是随着千岛湖水资源统一保护和管理的进程不断推进,临湖综合整治工作的进一步完善,酒店难以再与千岛湖如此“近距离”地接触。
为此,不少酒店开始“外拓”,不再仅仅着眼于千岛湖镇。千岛湖国家水上运动训练基地所在地淡竹;千岛湖安麓酒店、千岛湖文渊狮城璞仕酒店以及西坡千岛湖选择了从水下千年古城复原而来的千岛湖文渊狮城;大乐之野、瑞吉酒店落子即将举办亚运会位于的千岛鲁能胜地。
后亚运时代,千岛湖仍是酒店投资热土
不仅如此,作为承办自行车、铁人三项、公开水域等多项赛事的亚运分赛区,还将迎来一波亚运会带来的新一轮旅游发展红利。毕竟,高规格的大型赛事,往往是城市格局发生变化、新城市区域崛起、城市面貌提升的最佳契机。更何况,千岛湖本就是一块“藏龙卧虎”的酒店宝地,千岛湖瑞利淡竹度假酒店由中国船舶重工集团公司715研究所投资,千岛湖36都摄影酒店是由淳安县国资委旗下的千岛湖旅游集团倾力打造而成。
综上,虽然千岛湖酒店自行进入了良性竞争和自我焕新的阶段,但是可以预见的市场增长潜力却向品牌和投资人证明了这里依旧是一块投资热土。对于新老玩家而言,如何才能更好地扎根其中,仰望秀水之上的万丈星空?
01 矩阵式落地
作为最早进入千岛湖市场的本土高端酒店品牌,开元在千岛湖拥有6家酒店,紧随其后的是拥有4家酒店的洲际。作为一个相对成熟的周边度假游市场,千岛湖所展示出来的引客能力足以让品牌安心。因此,越来越多的品牌告别了原本的单点布局,而是选择了矩阵式落地。一方面,一次性落子同一酒店集团旗下的不同品牌,能够满足不同需求客群的需求,扩大客群范围;另一方面,矩阵式落地能够帮助酒店品牌在短时间内迅速在千岛湖多个热门酒店板块布局。
不过,矩阵式落地对酒店品牌具有较高要求。因为在同一个目的地,匹配不同需求的旅行者,各个品牌需要具备足够清晰的差异性。尽管浙旅名庭度假酒店被挂牌出让了,但是从其与千岛湖温馨岛蝶来湖景度假酒店隔湖相望的位置安排,以及商旅与度假的不同定位来看,集团层面的布局无疑是正确的。
02 抓住赛事机遇
在千岛湖,休闲度假这张金名片之外,运动休闲大有成为第二标签之势。千岛湖目前是千岛湖国际公路自行车赛、国际铁人三项赛以及国际游泳马拉松系列赛等大型赛事的举办城市。这些大型赛事能够有效提升过夜住客数量和逗留天数,已经成为了拉动入境游客增长的新途径。2019年千岛湖举办的马拉松赛、国际毅行大会等精品体育赛事共吸引运动员4万余人,直接带动消费约5000万元。
尤其是2022年亚运会举办前后,运动赛事将会为千岛湖酒店带来新一轮的发展红利。新建酒店或许难以赶上亚运会的当期红利,但可以享受到后亚运时代的利好。而已开业酒店也可以从中掘金,打造与赛事相关的系列体验活动,如环湖骑行以及一些水上运动等。
最后,也是最重要的一点,千岛湖之所以能够吸引到如此多的酒店、赛事、休闲项目以及闻名而来的游客,关键还在于那一片浩渺碧水。如果水不再清,山不再绿,那么千岛湖也将魅力不再。因此,资本之外,这山,这水,才是千岛湖酒店最重要的生存之本。
“千岛湖的酒店越来越好了”,这是不少千岛湖本地人与外地人的共识。殊不知,其背后是众多酒店日渐激烈的竞争,其中既有如浙旅名庭度假酒店这样选择暂时“消声”的前人,也有如瑞吉和丽思卡尔顿这样声势浩荡的新秀。倘若是这种良性竞争而引发的内卷,那么私心希望千岛湖酒店市场不妨再“卷”一些。