一文读懂|银行账户原油连续产品是份额调整进阶版
先来看看大家都有哪些疑惑呢?
前面写过一篇:一文读懂|银行账户原油连续产品是怎么转期的,份额调整的?怎么规避这个坑?
发现还是有些问题没有足够清晰:
最近很多朋友都被套牢了


关于份额调整大家都怎么看?

被套了大家怎么办的

关于是否要继续持仓,该怎么止损,要不要一直躺尸等待反弹,很明显大家估计也有很多疑惑,也是大家最近最头疼的问题!!!
鉴于此那我们开始来分析一下大家的问题
首先重新发现一下这个份额调整的秘密!!!
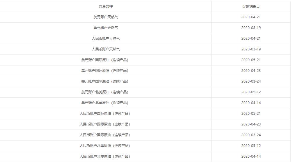
1.我们先去工行官网查询份额调整日期(以美元账户北美原油连续产品为例):由下图可知:4月的为14号,5月的为12号

2.然后我们去查询(4-16为基准)美国纽约商业交易所的原油期货价格(由图可知):
美原油连续现价:19.97
美原油连续买价:19.96
美原油连续卖价:19.97
美原油06现价:26.67
美原油06买价:26.67
美原油06卖价:26.68
这里顺便说一下:最近的4-15号换期是由下图的美原油05换到美原油06(等于银行把我们的美原油05(19.97)的卖了,重新买入美原油06(26.67)),升水=26.67-19.97=6.7 升水百分比=6.7/19.97=33%,注意这里的并不是说原油价格涨了33%哦(看美原油连续是否涨了才是判断的依据),很多朋友都误解在这里。误以为这是30%左右是自己该有的利润,被银行坑了。 或许这么说还不能让大家明白:


3.查询 商银行当日结售汇牌价
由下图可知:
美元:银行买入价(汇)为705.88
美元:银行买入价(抄)为700.22
美元:银行卖出价(汇)为708.85
美元:银行卖出价(抄)为708.85

4.工商银行的美元账户北美原油价格

美元账户北美原油(连续产品)的中间价为26.68美元=美原油06现价26.67(参考前面的图)
美元账户北美原油(连续产品)的银行买入价(我们的卖出价)为26.52美元
美元账户北美原油(连续产品)的银行卖出价(我们的买入价)为26.83美元
人民币账户北美原油(连续产品)的中间价为188.94美元
人民币账户北美原油(连续产品)的银行买入价为187.96美元
人民币账户北美原油(连续产品)的银行卖出价为189.91美元
银行买入价-银行中间价=26.52-26.68=-0.16美元 银行卖出价-银行中间价=0.15美元
银行差价=银行卖出价-银行买入价=26.52-26.83=-0.31美元
美元账户北美原油2006的中间价为26.68美元
美元账户北美原油2006的银行买入价为26.52美元
美元账户北美原油2006的银行卖出价为26.83美元
人民币账户北美原油2006的中间价为188.94美元
人民币账户北美原油2006的银行买入价为187.96美元
人民币账户北美原油2006的银行卖出价为189.91美元
对比一下之前得到的(由于截取有时间差):
美原油连续现价:19.97
美原油连续买价:19.96
美原油连续卖价:19.97
美原油06现价:26.67
美原油06买价:26.67
美原油06卖价:26.68
原油价格是从哪里来的?
你们发现什么了吗?
1.2006期与连续产品是价格一样的(那他们有什么不一样呢?先立个flag,下次专门讲解一下)
2.银行的连续产品的价格是来源于纽约商业交易所的(美元账户北美原油(连续产品)的中间价为26.68美元=美原油06现价26.67),价格哪里来的答案就在这里。
人民币:美元=188.94:26.68=7.081:1
这个汇率好像不太一样,那再去搜一下即期外汇牌价,这个比较接近7.08.85,那再查一下看看,由第二幅图可知我应该是没有截取到与上面时间同步的外汇牌价的原因造成的,也就是说实时的原油价格也同时受到实时外汇牌价的影响的。这也提醒我们同时也在长期的叫交易过程中要考虑外汇可能带来的影响(虽然概率比较低,但是并不是没风险的,前几年的某些国家货币瞬间大幅贬值就是明显的案例)
到此我们已经知道了银行原油价格的来源
银行差价是什么?
银行买入价-银行中间价=26.52-26.68=-0.16美元 银行卖出价-银行中间价=0.15美元
银行差价=银行买入出价-银行卖出入价=26.83-26.52=0.31美元
我们是怎么盈利的,怎么换期的?
以买涨为例:
首先我们按美元账户北美原油(连续产品)的银行卖出价为26.83美元买入1桶纸原油若干桶,然后我们等待价格上涨。
06期内瞬间卖
A.假设价格没有不发生变化的情况且没有换期且汇率基本不变,且差价基本不变。
那么我们就按美元账户北美原油(连续产品)的银行买入价为26.52美元卖出原油给银行。
整个过程我们的盈利和亏损情况 = 26.52x1(卖出后的金额)-26.83x1(买入所花金额)=-0.31美元,即亏损1.15%(0.31/26.83),这也就是我们的交易成本,也是价差
06期内卖
B.假设当期(06期)原油价格涨了2美元的情况且没有换期且汇率基本不变,且差价基本不变则
美元账户北美原油(连续产品)的中间价将为26.68+2美元
美元账户北美原油(连续产品)的银行买入价为26.52+2美元
美元账户北美原油(连续产品)的银行卖出价为26.83+2美元
那么我们就按美元账户北美原油(连续产品)的银行买入价为26.52+2美元卖出原油给银行
整个过程我们的盈利和亏损情况 = (26.52+2)x1(卖出后的金额)-26.83x1(买入所花金额)=1.69美元,即盈利6.298%(1.69/26.83)
07期执行换期
C. 假设当期(06期)原油价格涨了2美元,但是刚好处于换期之中且汇率基本不变,且差价基本不变,下一期(07期)合约升水5美元(银行卖出价变成26.83+2+5=33.83,银行买入价26.52+2+5=33.52美元),则(按照换期前后资金量不变,份额变的原则):
换期前:那么我们就按美元账户北美原油(连续产品)的银行买入价为26.52+2美元卖出原油给银行,整个过程我们的盈利和亏损情况 = (26.52+2)x1(卖出后的金额)-26.83x1(买入所花金额)=1.69美元,即盈利6.298%(1.69/26.83),我们的资金总额变成了26.83+1.69=28.52美元(调整前金额),调整前持仓1桶,
执行换期:28.52/33.83=0.843桶,由于执行规则是最小购买单位为0.1桶,所以我们只能购买0.8桶,即调整后持仓为0.8桶,退换资金/保证金=28.52-(0.8*33.83)=1.456美元
换期后:持仓为0.8桶(桶数减少了),退换资金/保证金1.456美元,盈利=6.298%(1.69/26.83)保持不变
C.a假设换期后的新的一期(07期)原油,先涨了5美元至银行卖出价为38.83美元,然后快到期的前一天跌到银行卖出价20.83美元,且新新的一期(08期)升水4美元(08期24.83美元)。
07期内卖
C.a.a 假如我们在07期银行卖出价为38.83美元,07期银行买入价为38.83-0.31=38.52美元时卖出原油给银行,则:
资金总额=38.52*0.8(卖出后的资金)+1.456(退换资金/保证金)=30.816+1.456=32.272美元
07期盈利:38.52*0.8(卖出后的资金)-0.8*33.83(买入时的资金)=30.816-27.064=3.752美元
07期盈利率=盈利/投入=3.752/(0.8*33.83)=13.86%
总盈利=资金总额-最初投入资金=32.272-26.83=5.442美元
总盈利率=总盈利/最初投入资金=20.28%
误区一:错把升水当作自己的利润,错误的高估了自己的利润,以为银行坑了你
26.83美元(06期银行卖出价)-38.52美元(07期银行买入价)=11.69美元
换期后的在07期最高价格时图表显示涨幅=11.69/26.83=43.57%≠总盈利率=总盈利/最初投入资金=20.28%
07期内不卖执行换期,且执行08期换期
C.a.b假设我们执行08期换期,且汇率基本不变,且差价基本不变
换期前:那么我们就按美元账户北美原油(连续产品)的银行买入价为20.52美元卖出原油给银行,整个过程我们的盈利和亏损情况 = (20.52)x0.8(卖出后的金额16.416)-0.8*33.83(买入所花金额27.064)=-10.648,即07期换期前亏损39%(-10.648/27.064),我们的资金总额变成了16.416+1.69=18.106美元(调整前金额),调整前持仓0.8桶,
执行换期:18.106/(20.83+4)=0.729桶,由于执行规则是最小购买单位为0.1桶,所以我们只能购买0.7桶,即调整后持仓为0.7桶,退换资金/保证金=18.106-(0.7*24.83=17.381)=0.725美元
换期后:持仓为0.7桶(桶数减少了),退换资金/保证金0.725美元
美元,亏损保持不变
总盈利或者亏损为:(18.106-26.83)/26.83=-32%,即总亏损32%,
误区二:错误的低估了自己的亏损。
实际24.83(08期)-26.83(08期)/26.83(06期)=-7.45%≠总亏损32%
至此估计大家也基本了解是怎么份额调整和换气的了以及什么情况下对自己是有利和不利的!!!
关于群友实盘份额调整案例的分析可以回看上一篇文章:
谈谈大家的几个误区
误区一:错把升水当作自己的利润,错误的高估了自己的利润,以为银行坑了你
26.83美元(06期银行卖出价)-38.52美元(07期银行买入价)=11.69美元
换期后的在07期最高价格时图表显示涨幅=11.69/26.83=43.57%≠总盈利率=总盈利/最初投入资金=20.28%
误区二:错误的低估了自己的亏损。
实际24.83(08期)-26.83(08期)/26.83(06期)=-7.45%≠总亏损32%
误区三:只要后面会上涨回来,就一直持有就可以了
实际:资金总额不变换期规则是原油换期当时的前后资金总额不变
资金总额不变规则≠账户原始资金不变规则≠桶数不变
误区四:换期前后的价格会变化很大,误以为换期的涨幅是自己的利润
实际:像最近的从05期换到06期升水30%左右,这些并不是利润,实际是银行把你的05期的合约(20美元左右)卖了,重新去买06期的合约(而06期的合约价格在换期日的时候是26.6美元左右)。
误区五:不知道买的其实是期货合约,以为买了等着到达预期就是了。认为自己是可以不执行换期的,是银行强迫执行的。
实际:期货合约是买方同意在一段指定时间之后按特定价格接收某种资产,卖方同意在一段指定时间之后按特定价格交付某种资产的协议。双方同意将来交易时使用的价格称为期货价格。双方将来必须进行交易的指定日期称为结算日或交割日。
误区六:价格是银行自己随性做的。
实际:银行的价格是参考美国纽约商业交易所(NYMEX)的期货合约来的,我们交易的原油其实是工行代我们去美国纽约商业交易所购买的合约。
关于我们该怎么避免因为规则造成对自己不利呢?
短期来说:
大家需要面对的是否要继续持仓,什么时候卖掉?会不会被强制平仓?
关于这个我提供几点大家可以按着者思路想一下,估算一下自己的是否要继续持仓,由于篇幅过长,本文就不对行情和是否继续持仓做过多的讲解,有时间的话我再单独写一篇(包括基本面分析,技术面分析,是否要换期,是否要长期继续持有):只考虑价格的情况下,
第一点:06期的情况下你的持仓在多少价格的时候会被强制平仓掉?工行的原油是亏损只剩下20%的时候会被强平,计算方法这里不过多解释,下一篇文章单独解释吧。
第二点:换到07期的情况下,你的持仓什么价格会不会强制平仓掉?什么价格的情况下会被强平?
第三点:一直不动,让他换期,你的持仓在什么价格情况下会被强平?
顺便看看大家对份额调整的知识了解的怎么样,也欢迎大家做作业投稿!!!
长期来说:
1.首先的克服懒惰不愿意学习的心态。跌了就不管不顾,宁愿亏几万几十万,也不愿意花一点小钱去学习,多投资于对自我的教育包括对交易规格,基本面分析,技术分析,交易心里学的学习。
2.然后得熟悉规则。并明白规则在什么时候对自己有利和不利,并明白其中的原因,并学会怎么规避?
3.要有相对比较成熟的分析能力和心态,以及策略评估的能力,而不是瞎做,随性做。
4.要有高效的执行力,而不是投资后就不管不顾,特别是亏损的时候。
什么时候转期?
登录网址:
https://mybank.icbc.com.cn/icbc/newperbank/perbank3/frame/frame_index.jsp(以工行为例)
登录后查询结果如下:




份额调整的注意事项
本次换期:由美原油2005期(20.54美元/桶)换到美原油2006期(实时27.65美元/桶),两期当日差价在30%左右,是不是意味着你亏了30%呢?(实际上客户的资金总值是没有变的,这里的资金总值=投入的资金+(调整前亏损或者盈利的资金)≠投入资金,但是所拥有的份额被调整了),
这里有几个误区需要注意:
1. 我们参考行情变化的时候要注意是当期变的,还是转期的变化,转期的变化幅度即涨或者跌了多少个百分比,并不是我们的利润来源,很多人没注意的话,很容易误导在这,特别是做数据分析的时候
2. 判断行情的时候特别是做技术分析性的行情分析的时候建议看美原油连续合约而不是工行的连续产品,估计很多朋友在这个上交了不少学费,包括我也是。
3.建议在两个份额调整日间隔之间做交易(银行纸原油产品),尽量不跨期。
4.每次份额调整后手上持有的份额已经发生了变化,并不是我们潜意识认为的份额不变,只要等价格回到之前的位置就行。
5.长期持有的你(经过多次份额调整的你),或许哪天看到了原油价格已经回归到你预期的价格,你以为应该是盈利的了,实际很可能还是亏损的。(作者血的教训学来的)
6.有第5点该知道,就算我们预期未来半年或者一年会到达某个价格,并且计算一定会到,也不可以安心的这样不管不顾的一直持有。
7.也就是说在份额调整前最好在当行情有利于自己的时候适当位置懂得撤出,而不是一直盲目的持有



来源:工银e投资,易汇通财经
时间: 2020-4-15 10:40
数据来源,参考资料
1.工商银行账户能源业务知识问答账户能源业务知识问答:
http://www.icbc.com.cn/icbc/%E9%87%91%E8%9E%8D%E5%B8%82%E5%9C%BA%E4%B8%93%E5%8C%BA/%E9%87%91%E8%9E%8D%E5%B8%82%E5%9C%BA%E5%AD%A6%E8%8B%91/%E7%83%AD%E7%82%B9%E9%97%AE%E7%AD%94/%E4%B8%AD%E5%9B%BD%E5%B7%A5%E5%95%86%E9%93%B6%E8%A1%8C%E8%B4%A6%E6%88%B7%E5%8E%9F%E6%B2%B9%E4%B8%9A%E5%8A%A1%E7%9F%A5%E8%AF%86%E9%97%AE%E7%AD%94.htm
2.工商银行官网:
https://mybank.icbc.com.cn/icbc/newperbank/perbank3/frame/frame_index.jsp
3.中国工商银行人民币即期外汇牌价
http://www.icbc.com.cn/ICBC/%e9%87%91%e8%9e%8d%e4%bf%a1%e6%81%af/%e8%a1%8c%e6%83%85%e6%95%b0%e6%8d%ae/%e4%ba%ba%e6%b0%91%e5%b8%81%e5%8d%b3%e6%9c%9f%e5%a4%96%e6%b1%87%e7%89%8c%e4%bb%b7/
4.中国外汇交易中心:
http://www.chinamoney.com.cn/chinese/mkdatapfx/
5.纽约商业交易所:
https://www.cmegroup.com/trading/energy/crude-oil/west-texas-intermediate-wti-crude-oil-calendar-swap-futures_quotes_globex_options.html#optionProductId=2767&strikeRange=Active
等等
上一篇文章:一文读懂|银行账户原油连续产品是怎么转期的,份额调整的?怎么规避这个坑?