我是小七,给大家分享 电子元器件选型 、 电路项目 等知识, 干货满满 。大家不要错过,建议 收藏 ,错过就不一定找得到了,内容仅供参考, 图片记得放大观看。
如果有什么错误或者不对, 欢迎各位大佬指点。

图片来源于网络
今天给大家分享的是: PT2399 芯片+引脚功能+原理结构解析
一、PT2399 是什么芯片?
PT2399是一款 CMOS单芯片回声/延迟处理器 ,该数字芯片包括一个ADC(数模转换器)、用于存储样本的44Kb RAM 和一个 DAC(数模转换器),可用于 添加延迟/混响/回声 。内部VCO时钟频率决定了整体延迟持续时间,用户可以通过改变外部电阻轻松修改VCO频率。

PT2399实物图
二、PT2399 引脚功能参数

PT2399 引脚功能参数

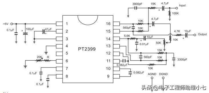
三、PT2399 功能框图
下面是 PT2399 框图:

PT2399 框图
不过上面这个框图可以用更符合逻辑和更简单的方式重新绘制:

重新绘制的PT2399 功能图
该芯片实际上包括 6 个内部运算放大器和一个电源子系统 ,下面将描述,每个部分的功能
四、PT2399 内部功能分析
PT2399 使用 5V 供电。为了保持信号质量并降低噪声,可以方便地使用专用电源或稳压器。该部件消耗的最大电流为 30mA(随着延迟时间的增加,电流减小)。
1、引脚 1
5V 电源引脚(最小 4.5V,最大 5.5V) 。虽然也可以使用更高的电压,但是让PT2399寿命最长的就是使用 5V。
为了确保内部时钟功能,低电源阻抗至关重要,因此可以使用像 LM7805(或引脚兼容的 LM2940)这样的简单稳压器,一对输入和输出电容可调过滤噪声。

PT2399 电源的有效方案
上图电路显示了 PT2399 电源的有效方案 。使用 1N4001 二极管 防止意外极性连接的保护,同时使用 2 个电容 过滤输入/输出,LM7805/LM2940 可接受宽范围的输入电压(+9V 至+15V)。
2、引脚 2
标记为 REF,是2.5 V 模拟参考电压 (Vcc/2)。使用内部电阻分压器来设置该电压,测量引脚电阻约为 6KΩ。该电压用作 PT2399 内部的虚拟地,同时也用作 VCO 电路的参考电压。

引脚 2 调制修改:
用于合唱团,PT2399 内部电路是这样的:

PT2399 内部电路
VCO(压控振荡器)电压将控制 PT2399 的延迟时间 :VCO 频率与延迟时间,当该振荡器的频率最大 (22MHz) 时,延迟时间最小 (31.3ms),反之亦然。
如果 我们想修改VCO输入电压,默认方法是改变 引脚6 的接地电阻 ,这将改变运放增益,然后改变输出电压。
“引脚 2 ” 基本上是改变运算放大器引脚 (+) 上的电压,而不是改变引脚 (-) 上电压。
为了实现这一点,引脚 6 的接地电阻需要稳定(通常 引脚 6 接地,因为它提供最小的延迟时间,对于此选项,需要“防闩锁电路 ” ) 为此,我们可以访问内部电阻分压(引脚 2)并对其进行调制。
坏的是电路的整个虚地(2.5V)会随着时间调制而改变。好的方面是,我们不需要大跨度的调制来创建合唱效果,因此 将引脚 2 上的电压从 2.5V 更改为 2V 将足以创建时间调制并保持虚拟接地良好。
3、防闩锁电路
在电路上电过程中,如果引脚 6 到地的延迟电阻小于2 kΩ,则 PT2399 可能会闩锁,从而使芯片死机并停止工作。 如果需要很短的延迟时间,必须要确保上电后前400ms的延迟电阻大于 2kΩ。
第一个 400 毫秒后,引脚 6 的接地电阻可以根据需要降至最低。

400ms 的延迟现象
防闩锁电路将确保上电期间引脚 6 对地电阻高于 2K:

防闩锁电路
R/C 时间常数设置为明显长于复位时间(数据表中为 400ms):
τ = R x C
τ = 100K x 1uF = 1s
使用 R=100K 和 C=1uF 的任何更高值都会产生超过 1 秒的启动时间。
二极管可以是任何 1N4001 或类似的二极管,在电源电压快速下降的情况下,它通过对电容器放电而不是让电流流过晶体管的基极来保护晶体管。晶体管可以是任何通用的 BC337 或类似晶体管。
3、引脚 3 和引脚 4
分别是 模拟地和数字地 ,需要用短而粗的走线进行外部连接。用万用表测量,引脚之间显示 10Ω 的外部电阻。
4、引脚 5
引脚 5 是 系统时钟输出引脚 (该时钟频率由引脚 2 部分中的VCO 生成)。
在下图中,用示波器测量引脚 5,得到 最短延迟 (30ms) 的 22MHz方波和最大延迟 (340ms) 的 2MHz 方波。信号约为 5Vpp(随频率降低):

用示波器测量引脚 5
该引脚 提供 PT2399 内部实际发生情况的反馈 。使用引脚 6 上的外部电阻来设置延迟时间可能(有时)不准确,因此引脚 5 输出信号将遭受的准确延迟量。
该引脚有 2 个潜在应用:
- 在 反馈环路中使用引脚 5 时钟频率信息来获取时间延迟的准确读数 。为此,需要使用微控制器,并且由于时钟频率较高(高达 22MHz),还需要使用预分频器(这会降低读数的精度)。
- 使用外部时钟源覆盖引脚 5 信号 。通过这种方式,用户可以精确地控制延迟量。
5、引脚 6
VCO(压控振荡器)频率调节引脚 。 该引脚的电压始终为 2.5V,使用外部电阻接地时电流会发生变化,从而导致 VCO 变化和延迟时间变化。
下表列出了 引脚 6 对地电阻、内部时钟频率、延迟时间和 THD 之间的关系。该表仅供参考,因为各个芯片的值各不相同,但它是一个很好的起点。

引脚 6 对地电阻、内部时钟频率、延迟时间和 THD 之间的关系

引脚 6 对地电阻、内部时钟频率、延迟时间和 THD 之间的关系

引脚 6 对地电阻、内部时钟频率、延迟时间和 THD 之间的关系
注意: 随着延迟时间的延长, THD(总谐波失真)越高,因为采样率越低,信号质量就越差。 使用超过 350 毫秒的延迟会导致声音失真。
注:引脚 6 电流: 引脚 6电压恒定(2.5V),但从其流出的电流与延迟时间成线性关系。该芯片的实际延迟范围约为 35 毫秒至 600 毫秒,因此电流介于 5.4mA 至 50uA 之间。
引 脚 6 电流 (mA) = 28.65 /(延迟毫秒 - 29.70)
用 引脚 6 控制延迟时间
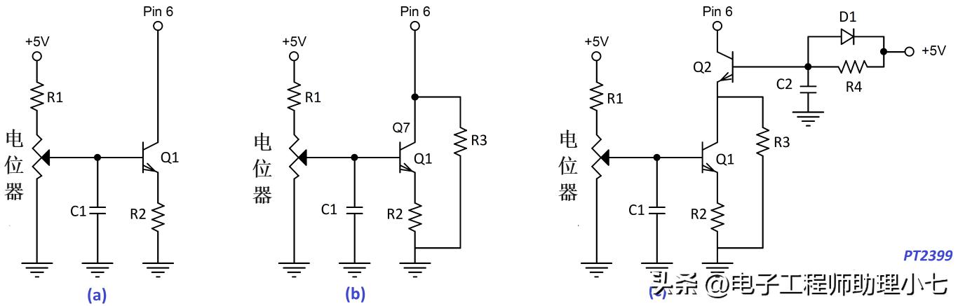
使用 引脚 6 设置延迟时间有多种方法:
1)使用电位器
这是最简单的方法,建 议使用 10K ~ 50K 的外部电位器 (取决于所需的最大延迟时间)。始终需要 2K 的最小电阻 (R)(它将限制最小延迟时间),否则 PT2399 将在上电序列期间闩锁,并且内部振荡器将无法启动。

使用电位器设置延迟时间
一旦振荡器启动,就不需要 2K 的最小电阻 (R),这就是为什么许多设计都包含防闩锁电路的原因,因此系统以引脚 6 上的高阻抗启动,然后在上电,以便 PT2399 可以实现更短的延迟时间。将引脚 6 接地并没有实质性的好处,使用小于 100 欧姆的 电阻 只会导致电流需求增加,而不会缩短延迟时间。
2)使用晶体管来限制从引脚 6 流出的电流量
PNP 或 NPN 晶体管可用于限制引脚电流。该方法可以与抗闩锁模块结合使用,以确保系统在任何条件下都能工作。

使用晶体管来限制从引脚 6 流出的电流量
- 基本电路 (a) 将限制从引脚 6 流出的电流:需要电阻器 R1,因此可以限制电位器的范围,以便向晶体管的基极提供 0 至 0.65V 的电压(否则电位器将无法工作)。将仅适用于其整个跨度的一小部分)。R2 可以是 100 至 200Ω 的任何小电阻。
- 第二个 (b) 电路使用并联一个电阻,这样可以控制pin6的最大电阻,从而可以更好地控制要使用的最大延迟时间。即使用20K 的 R3 将为我们提供最大 270ms(遵循数据表)。
- 最后 (c) 原理图 添加了抗闩锁电路,因此我们确保电路在任何条件下始终启动(以防在踏板通电期间(前 400ms)电位计处于其最大位置,将 Q1 设置为 ON 并向引脚 6 显示低阻抗。
3)数字电阻
如果你想将微控制器加入其中,有很多数字电阻可以用作可变电阻:微芯片 MCP41XXX 系列(256 个抽头)、DS1804 系列(100 个抽头)。该解决方案的坏处是数字电阻具有很大的公差(±20%),如果你想设置特定的延迟时间,数字电阻可能不是最准确的设备。

五、PT2399 回声/延迟电路分析
PT2399 最常见的应用是延迟/回声电路,这些基本电路非常相似,是许多其他吉他踏板的基础:

回声电路

延迟电路
这两个电路之间的主要区别在于回声 在输出(引脚 14)和输入(引脚 16)之间有一条反馈路径。
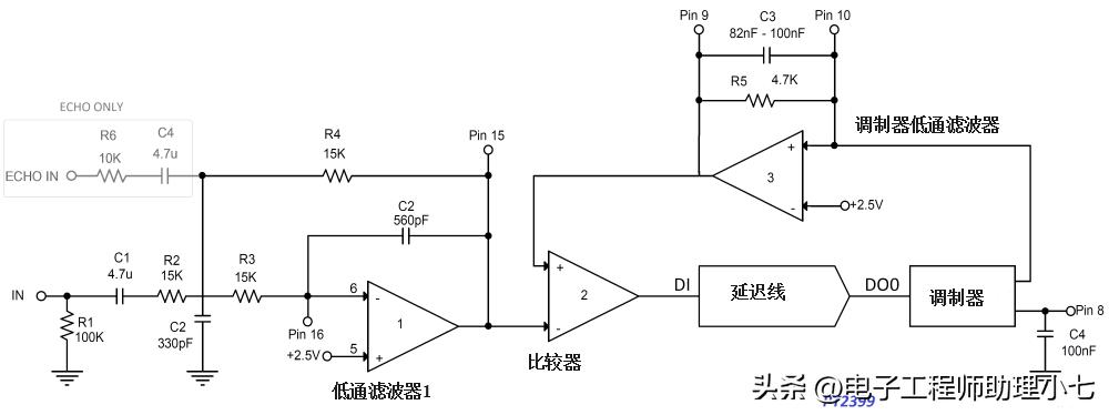
1、PT2399 输入级
输入级由 3 个运算放大器组成。其中两个(2 和 3)始终用作 ADC 电路的一部分。第一个运算放大器可在任何配置下使用,但最常见的选择是将其用作多反馈拓扑中的滤波器/加法器:

低通滤波器 1又名多反馈运算放大器级
第一个运算放大器将使用多重反馈拓扑(MFB 又名 无限增益多重反馈 )对输入级进行滤波,消除多余的高次谐波:

运算放大器
多反馈运算放大器使用 2 极 (MFB-2),为高频提供 -12dB/倍频程的衰减。最终滤波器(R5 和 C3)添加了一个额外的极点,使总滤波器为 -18dB/倍频程。MFB 拓扑提供高增益/高 Q 值,但不方便进行更复杂的设计计算。
MFB 的性能与 S&K 滤波器一样好(尽管 S&K 在单位增益滤波器中使用了 1 个元件),但在这种情况下选择的 MFB 拓扑允许运算放大器作为求和放大器工作,接受反馈路径回声电路。
有多种方法可以计算过滤器的值。可以这样
fc = 1 / (2 x π x R x C) (选择 R 和 C 以获得所需的截止频率)
R1 = R2 = 2 x R
R3=R
C1=C/Q
C2 = (C x Q) / 2
R = 10K
C = 10nF
对于理想巴特沃斯滤波器,其中 Q 为 1/√2 = 0.707。
注意:你还可以使用 多反馈低通滤波器设计工具来计算值,不需要进行数*运学**算。
- 延迟 电路采用R1=15K、R2=10K、R3=15K、C1=3.9nF、C2=0.56nF。生成 fc=8.8kHz(Q=0.9)
- 回声电路采用R1=15K、R2=10K、 R3 =10K、C1=5.6nF、C2=0.56nF。生成 fc=8.9kHz(Q=1.1)
PT2399 在输入 MFB 滤波器调谐在 8.5kHz 左右时表现出良好的性能,具有较宽的频率范围和合理的低噪声。延迟电路显示了 10K 和 15K 电阻器的组合,没有理由这样做,您可以坚持使用相同的值 (10K) 并仅使用一个电阻器值设计滤波器。
ADC 调制器
在 DC ( ΔΣ ) 调制器中,输入音频信号被转换为一位逻辑电平流,该逻辑电平取决于被转换信号的当前方向(变高或变低)。与延迟音频信号的频率相比,时钟速率非常高,以便能够使用一位采样。
上图中标记为 2 和 3 的运算放大器用于处理一位数据流:
- MFB 运算放大器的输出应用于比较器的反相输入,比较器的非反相输入连接到由 DO0 馈送的调制器的输出。
- DO0(数据输出0)是一位数据锁存器的输出,一位转换后的音频数据被存储到其中,直到下一个时钟脉冲。
- 该锁存器的输出馈送到 44K 位存储器。比较器反相输入上的电压将与调制器的输出(低通滤波后)进行比较,并根据检测到的差异而变高或变低。比较器的输出串行流入并通过 PT2399 的 44K 位存储器。
2、PT2399 输出级
输出级由 2 个运算放大器组成。第一个功能有限,用作解调器(抗混叠滤波器)之后的低通滤波器。第二个运算放大器,通常同样配置在多反馈运算放大器滤波器中。

PT2399 输出级
输出级使用 1 个运算放大器作为解调器低通滤波器。该重建滤波器将平滑解调器创建的模拟信号。
- R6 是一个内部电阻,在数据表中标记为4.7KΩ
- C6(和 C3)电容 形成低通滤波器,以减少不需要的高频,建议延迟为 100nF,回声为 82nF。降低C3和C6的值将允许更多的高次谐波通过芯片,当然,缺点是信号中会有更多的数字噪声。
如果你使用 PT2399 进行短延迟/回声,则 C3 和 C6 可以低至 22nF ,对于较长延迟(300ms),不要低于 47nF(对于长延迟,100nF 似乎是一个不错的值)。
在 C3/C6 上使用 100nF,使得 1kHz 以上的延迟信号谐波被衰减(参见频率响应部分),但不是很严重,因为延迟/回声信号的自然声音本质上具有较低的含量(真实的回声通常具有快速的回声)减少高频含量,因为这些谐波很容易被墙壁和空气吸收)。允许更多谐波和更少高频噪声进入电路的良好中间接地值是 68nF。
第二个运算放大器再次采用多重反馈拓扑 (MFB),将更加干净和平滑信号。
- R10和C9 构成最后一个低通滤波器,截止频率为5.8kHz(使用2.7KΩ电阻和10nF电容)或2.8kHz(使用5.6KΩ电阻和10nF电容)。最后一个滤波器的缺点是它会提高电路的输出阻抗,这可以通过使用更合理的 RC 组合来解决,其中 R 更小,C 更高(例如 10 Ω 和 4.7u,使 fc= 3.3千赫)。
- C10 是输出电容,可消除输出中的任何直流电平,任何大值(4.7 / 10uF 或类似值)都可以。
以上就是今天的内容,大家记得 关注 ,给我 点赞 哦,欢迎大家在 评论区留言 ,请各位大佬多多指教。

图片来源于小红书