大家心目中的手机是怎么样的呢?小编心目中的手机不止能打电话发短信,要是还能做瑜伽就好了...
不知道大家还记不记得之前小编给大家爆料过的可折叠iPhone,本以为只是异想天开的图片,但从最新曝光的消息显示,这玩意儿还真能实现,而且就在不久的2019年...

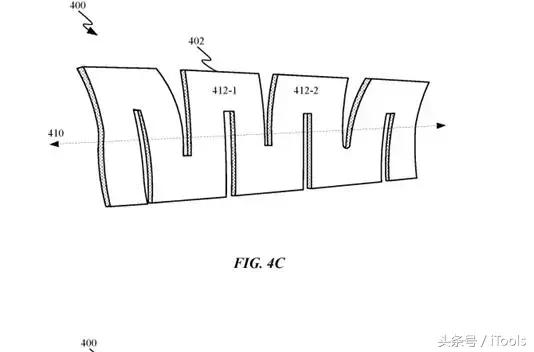
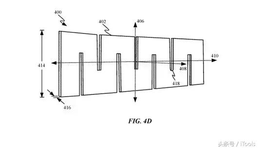
从美国专利局送出的最新专利来看,苹果正在密谋大招,而iPhone也将迎来史上外形最大改变,因为他们已经在准备可折叠的电池了。

跟以往专利遥不可及不一样的,折叠屏手机是下一个阶段产业重点发展的方向,目前上游厂商都在准备相关技术,而华为、三星也都已经在准备相应产品。


而之前产业链就曾爆料称,苹果最快会在2019年带来能够折叠的 iPhone 手机,其实仔细想想,100%真全面屏+屏幕折叠的造型,这样组合下来还是非常梦幻的呢。
此外,上个月小编还跟大家爆料过苹果自研屏幕——Micro LED屏,因为他们想要抛弃三星,毕竟后者控制目前中小尺寸OLED屏90%以上产能。
据台湾电子时报给出的报道称,苹果同时为小尺寸设备和大尺寸设备开发micro LED显示面板。其中,小尺寸micro LED显示面板基于硅背板,由苹果和台积电联合开发,适用于Apple Watch(1.3英寸至1.4英寸大小)和增强现实(AR)可穿戴设备(0.7英寸至0.8英寸大小)。
据说,最初micro LED面板将只用于高端型号的Apple Watch智能手表中,而不是所有型号中。

值得一提的是,苹果还在研发基于TFT背板的大尺寸micro LED面板,主要用于大尺寸设备,其主要面对使用对象是iPhone、iPad和Mac笔记本,特别是iPhone的使用,最快会在2020年开始投入使用。

大家更期待使用micro LED面板的iPhone还是折叠屏iPhone呢?