
摘要:下架 App 骤增,或与苹果新政有关?古镇模拟游戏上线即霸榜,游戏结合社群怎么做?……更多相关热点、App Store 数据监控等资讯内容盘点,本周(6 月 25 日 - 7 月 5 日)一起精彩回顾~
App Store 动态
上周新上线 App 共 7160 款,较前一周相比减少了 616 款,有小幅下降。
上周的下架 App(含重新上架)数量达 20772 款,相比前一周增加了 9820 款。其中,游戏产品在 7 月连续 4 天下架超千款产品,尤其在 7 月 4 日最为严重,当天下架的游戏产品超 2000 款。这与苹果的游戏版号新政落实时间不谋而合,值得大家重点关注。

上周清榜应用(含已恢复)共 244 款,其中 210 款产品当前已恢复。
一周黑马 App
江南百景图
7 月 2 日,由椰岛游戏自研的古镇模拟经营类手游「江南百景图」由预订正式转为上架 App Store,上线当天该游戏便直接登顶了休闲游戏免费榜和模拟游戏免费榜的 Top1,在第二天更是冲上了 App Store 游戏榜(免费)的 Top1 并霸榜至今,其预估*载下**量已连续多日破 10w+。

「江南百景图」是一款古镇模拟经营类手游。游戏玩家将梦回明朝江南地区,成为城市的设计师,在游戏中通过描绘蓝图、兴造建筑、规划布局来经营赚钱。同时,在游戏中还具有安排居民起居工作,带领大家奇遇探险等剧情设定。

在 7 月 2 日开服后,游戏上线了连续登陆、升级游戏等级等即可免费获得道具、人物等福利,这也成为了该游戏上线后能够持续有热度的原因之一。
而在“江南百景图”官方微信公众号中,还公布了游戏的多个社群账号,目前江南百景图 iOS 1 群已达到近两千人,通过群成员分析可以发现,该游戏的主要用户为 00 后、90后。而通过社群的方式也将有利于积累自家产品用户的私域流量,并可以通过用户运营来获取用户的更多价值。

央视频
七麦研究院监测到,「央视频」上周表现亮眼,其榜单排名与预估*载下**量也都出现了大幅增长的变化趋势,最高登上娱乐榜 Top9。

今年受疫情的特殊影响,高考被延期至 7 月 7 日 - 7 月 8 日举行。近日,「央视频」于 7 月 5 日 - 7 月 9 日举办了一场“助力高考 100 小时大直播”的活动。直播期间,「央视频」开辟文理、英语、朗诵、辩论等多种方式的 24 小时实时慢直播,供全国网友打卡、减压,并邀请了知名主持人、作家、明星等众多领域的嘉宾助力,带来陪伴式高考特别节目。

众多考生与家长纷纷参与该活动,力求考生能够考取一个好成绩。甚至还在微博引发热门话题#助力 2020 高考#,阅读数已超 500w,可见该活动在今年的考生中颇受欢迎。
ASO 相关
关键词
关键词更新
上周关键词每日更新节点集中在 0 点、1 点、6 点、8 点、10~11 点、22 点几个时间点左右,其中更新数量较多时间点为 10 点及 11 点左右,更新时间点多集中在 0-12 点之间。其中 7 月 4 日关键词效果延迟,7 月 5 日 8 点关键词效果更新较多,建议近期根据更新规律重点关注,关键词覆盖无较大波动,可持续稳定优化。
关键词覆盖量排名
截至本周一,一款名为「猫咪.点亮世界」的游戏 App 表现突出,全部关键词覆盖数达 93653 个,占据关键词覆盖量排名第一的位置。

榜单
榜单更新
七麦研究院监测到,上周(6 月 29 日 - 7 月 5 日)依旧保持每 3 小时左右更新一次榜单的频率,一天的榜单更新频次维持在 8 次左右,时间节点基本分布在 2:35、5:35、8:35、11:35、14:35、17:35、20:35、23:35。另外,在 6 月 30 日 01 :46、7 月 1 日 15 :04、7 月 3 日 06:05 又进行了一次榜单更新。

榜单排名
上周的应用榜 Top10 内虽产品排名波动较小,但除「淘宝特价版」整周排在 Top3 无变动外,其他产品均有不同程度的上升和跌落。此外,「七猫小说」、「腾讯会议」2 款产品以排名上升 10 位的表现挤进应用免费榜 Top10。

而在上周的游戏榜 Top10 中,产品排名波动明显。其中,「江南百景图」和「新神魔大陆」两款产品均是在上周由预订转上架后,迅速冲上了 App Store 游戏免费榜的 Top1,其中「江南百景图」已霸榜至今。
此外,「剑尊之上古蛮荒」、「光·遇」两款游戏在上周也有着不错的表现,其中,「光·遇」以单日排名上升 22 位、「剑尊之上古蛮荒」以单日排名上升 31 位的成绩挤进游戏免费榜 Top10。

热搜
热搜应用
上周一共有 290 款应用登上热搜,数量较前一周的 317 款相比减少了 27 款。其中,「搜狗输入法」累计上榜时长最多,共计 2 天 2 小时 12 分;热搜榜 Top10 产品中,游戏产品占据 4 款,效率类有 2 款,工具、健康健美、教育、摄影与录像类 App 各有 1 款。

热搜关键词
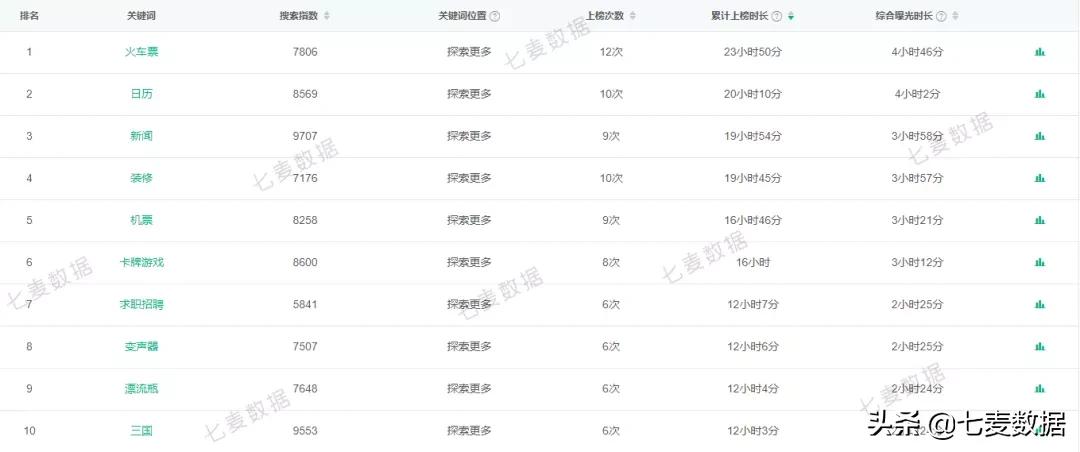
上周一共有 101 个热搜关键词,其中“火车票”排名第一,累计上榜时长达 23 小时 50 分。“日历”、“新闻”、“装修 ”、“机票”、“卡牌游戏”、“求职招聘”、“*声器变**”、“漂流瓶”、“三国”也是上榜时长较多的关键词。

一周资讯
苹果热点
1、苹果将停止为 iPhone 附赠充电器、耳机,新机预计不涨价
2、消息称苹果 iOS 系统将推出新功能:戴口罩也可使用 Face ID
3、据外媒消息,苹果冻结中国 App Store 中数千款移动游戏的更新
4、未来 iPhone 将有可能运行 macOS:手机也能当电脑用
5、苹果申请新专利:旨在减少 iPhone 内部空间占用,降低厚度
6、苹果和谷歌在印度下架数十款中国应用
7、苹果正式淘汰首款配备视网膜显示屏的 MacBook Pro
安卓热点
1、全球 5G 设备商最新排名:华为市场占有率 35.7%,稳居第一
2、长虹:成功研发首款国产超小体积 5G 通信模组
3、三星电子下周将为员工发放绩效奖金,金额可达月度薪资的 100%
4、华为正式宣布开源数据虚拟化引擎 openLooKeng,可以提供统一 SQL 接口
5、荣耀发布荣耀 30 青春版与荣耀 X10 Max,售价分别 1699元、1899 元起
6、三星电子计划今年招聘1000名芯片设计和人工智能领域的专家
7、华为正式宣布开源数据库能力:开放 openGauss 数据库源代码,成立 openGauss 开源社区
行业热点
1、「唯品会」App 上线“唯品直播”频道,正在小范围进行直播尝试
2、腾讯再推一视频社交产品「有味」
3、探探六周年数据报告:全球用户数超 3.6 亿,90后占比近 80%
4、新浪支付存在 9 项违法行为,被央行罚款 1884 万元并给予警告
5、触手直播被传全员解散:拖欠主播工资,将主播转给快手
6、印度以“安全”为由禁用 59 款中国 App,包括 「TikTok」、「微信」和「UC浏览器」
7、中消协点名「得物」App:涉及假冒伪劣遭投诉
8、天眼查:中国今年平均每天新增 140 家在线教育相关企业
9、微信搜一搜正式开放服务搜索接入:社交、医疗、游戏等类目除外
10、百度成立直播业务中台:重点发力头部主播、直播带货,*牙虎**创始人古丰负责
11、汪涵代言疑翻车,「爱钱进」App 被立案侦查
12、「QQ音乐」10.0 全新推出“扑通社区”,为用户打造同好兴趣交流圈
13、腾讯孵化新产品「Z星球」,加速布局在线教育行业
14、微博正测试热搜定制功能:用户可自定义兴趣内容
15、铁路12306 官方支付宝小程序正式上线
16、马蜂窝报告:47.2% 的年轻人表示疫情对旅游消费水平的影响较小
17、58同城:文娱行业平均支付月薪 7340 元,视频主播月薪排名第一
18、全国通用:支付宝 7 月 1 日起发 100 亿消费券覆盖上千万店铺
政策新闻
1、国家电网成立区块链技术实验室,加速能源“新基建”进程
2、教育部:高校不准强迫毕业生签订就业协议和劳动合同
3、国务院公布《化妆品监督管理条例》,明年 1 月起施行
4、银保监会:信用卡如有欠款或拖欠年费情况也可能影响个人征信
5、商务部:将在今年下半年举办全国性促消费活动
6、北京:7 月 1 日起符合条件失业人员可网上申请失业补助金
《每周一盘》第 51 期就到这里啦~ 欢迎留言说出最近疑问和建议哦~