
文|恒心
来源|博望财经
4月26日,中国集成电路设计行业领军企业国民技术股份有限公司(国民技术,300077.SZ)发布2020年年度报告。财报显示,全年国民技术实现营业收入3.8亿元,同比下滑3.81%,同时重要盈利指标均出现大幅下滑,甚至亏损,其中利润总额同比由盈利1.32亿元转为亏损0.07亿元;净利润同比由盈利0.43亿元转为亏损0.07亿元;归母净利润同比大幅下滑89.42%至0.11亿元;扣非归母净利润为-1.47亿元,虽亏损幅度较2019年(-5.89亿元)有所收窄,但持续为负。
同日,国民技术发布2021年一季度财务报表,当期虽营业收入同比增长22.74 %至0.97亿元,但利润总额较2020年同期-0.14亿元继续下滑至-0.18亿元,扣非归母净利润较2020年同期-0.12亿元继续下滑至-0.16亿元。
通过上述财报数据,可以看到,近年来国民技术扣非归母净利润持续为负,主业盈利能力持续承压。
在国民技术主业芯片类产品业务的营收大幅下降,盈利能力持续承压的同时,子公司及其附属企业非经营性资金占用额巨大,对国民技术业务开展造成重大影响。此外,国民技术因证券虚假陈述责任纠纷的案件逾百封,并且几乎全部作为被告,面临很大的或有风险。受上述因素影响,国民技术股价自2020年下半年以来波动式暴跌。
国民技术股价由2020年8月25日最高价11.43元/股暴跌下滑至2021年2月4日最低价5.97元/股,此后稍有所好转,但在2020年财报发布前几日,股价呈“直线式”暴跌,截至5月6日,收盘价6.8元/股,国民技术股价暴跌超40%,市值“蒸发”26.62亿元。

数据来源:老虎证券
01
扣非归母净利润连续4年为负
Wind数据显示,国民技术是国内专业从事超大规模信息安全芯片和通讯芯片产品设计以及整体解决方案研发和销售的国家级高新技术企业,主要从事自主品牌的集成电路芯片研发设计及销售,并提供相应的系统解决方案和售后的技术支持服务等业务。国民技术于2010年4月30日在深交所创业板挂牌上市,目前从事的主要业务涵盖两大领域:集成电路领域及新能源负极材料领域。
不过,身为国家级高新技术企业的国民技术,2017年以来营业收入持续处于下降趋势。
根据财报显示,2017~2020年国民技术实现营业收入分别为6.95亿元、6.02亿元、3.95亿元和3.8亿元,分别同比下滑1.58%、13.37%、34.44%和3.81%;同期利润总额分别为-4.82亿元、-19.24亿元、1.32亿元和-0.07亿元,分别同比变动-514.5%、-298.84%、106.85%和-105.31%。
由上述数据可见,国民技术主营业务收入较2017年几乎腰斩;但蹊跷的是,2019年营业收入继续下滑的同时,利润总额同比却增长超1倍,究其原因,主要系因收购深圳市*诺斯**实业发展股份有限公司而进行对价调整,确认为营业外收入,当期营业外收入为6.95亿元,若扣除则同样呈亏损状态。

数据来源:国民技术官网
相比于上述财务指标,扣非归母净利润表现地更“惨”。
根据财报显示,2017~2020年国民技术扣非归母净利润分别为-5.03亿元、-16.64亿元、-5.89亿元和-1.47亿元;分季度来看,2020年一季度到四季度扣非归母净利润分别为-0.18亿元、-0.27亿元、-018亿元和-0.84亿元。

数据来源:国民技术官网
自2017年以来,国民技术扣非归母净利润已连续4年为负。连续多年盈利状况不佳的根源也一直困扰着投资者,直到国民技术在2020年年度报告中给出答案。

数据来源:国民技术官网
报告中指出,业绩下滑主要来源于两个方面:其一是当期非经常性损益大幅减少;其二是因受疫情影响,国民技术及产业链复工时间延迟,对业务正常开展带来一定负面影响,特别是新产品推广、客户开发导入等市场活动受到一定程度影响。
上述原因对国民技术营业收入及扣非归母净利润连续4年走差或许造成一定影响,但还不是全部。
具体来看,一方面,非经常性损益并非经常发生的,因此对国民技术营业收入及扣非归母净利润没有影响;另一方面,国民技术把原因归结为新冠肺炎疫情,但随着2020年第四季度以来我国已经进入后疫情时代,疫情已得到基本控制,进入2021年以来,疫情影响更是可以忽略不计,但国民技术2021年第一季度利润总额仍为负数,反而较疫情严重时的2020年第一季度亏损幅度更大。
导致国民技术营业收入及扣非归母净利润连续4年走差的根本原因在于其主营业务芯片类产品的营收下降较大,叠加研发费用对利润形成较大侵蚀。
2017~2020年,国民技术安全芯片类产品业务实现收入分别为4.95亿元、3.52亿元、1.75亿元和1.57亿元,同比分别下滑2.17%、28.89%、50.28%和10.29%,连续4年保持下降趋势,而该业务收入分别占同期营业总收入的71.22%、58.47%、44.3%和41.32%,虽比重不断下降,但仍占比超4成,为国民技术主要收入来源。
令人大跌眼镜的是,同期国民技术安全芯片类产品业务毛利率竟然保持增长。2017~2020年,国民技术安全芯片类产品业务毛利率分别为36.3%、30.77%、34.45%和45.37%。

数据来源:国民技术官网
在持续保持增长劲头的毛利率面前,国民技术盈利能力指标却为何如此差强人意呢?
通过财务指标比较后发现,研发费用为侵蚀利润的“罪魁祸首”。2017~2020年,国民技术研发费用分别为1.1亿元、1.28亿元、1.32亿元和1.33亿元,保持增长趋势。
从研发投入来看,国民技术近三年加大研发投入,从2018年的1.44亿元快速增加到2020年的1.8亿元,同时研发投入占营业收入的比例越来越高,从2018年的23.95%迅速提升到2020年的47.48%。
国民技术在2020年年度报告中指出了研发投入金额及其研发投向,即“基于聚焦核心主业,明确面向物联网‘安全+通用’的发展战略,报告期内公司的研发投向主要为通用 MCU 芯片及下一代安全芯片。”

数据来源:国民技术官网
诚然,对于一家科技创新型公司,研发投入必不可少,但连续四年持续“侵蚀”公司利润,对于投资者来说不啻为一场考验。何时投入能够转化为利润,还需要投资者们耐心等待。
02
关联方非经营性资金占用额巨大
4月26日,国民技术发布《2020 年度非经营性资金占用及其他关联资金往来情况的专项说明》,显示国民技术关联方2020 年期末非经营性占用国民技术资金余额合计高达12.86亿元,占同期末国民技术总资产的62.89%、净资产的118.09%,足可见占用额巨大。
其中,子公司及附属企业深圳前海国民投资管理有限公司、国民科技(深圳)有限公司、深圳市*诺斯**实业发展有限公司和内蒙古*诺斯**新材料科技有限公司分别占用5.6亿元、5.89亿元、0.95亿元和0.26亿元。
此外,其他投资单位成都国民天成半导体产业发展有限公司非经营性占用余额为0.18亿元,并已于2021年1月收回。

数据来源:国民技术官网
03
诉讼纠纷缠身
根据企查查显示,国民技术因证券虚假陈述责任纠纷等涉诉。
国民技术2020年以来新增128封裁判文书,案由主要涉及证券虚假陈述责任纠纷等,国民技术几乎全部作为被告/被申请人。

数据来源:企查查
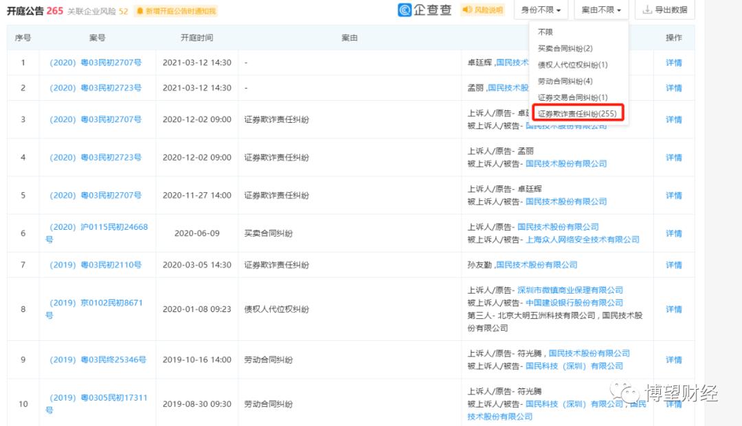
此外,国民技术存在逾200条开庭公告,案由主要为证券欺诈责任纠纷等,国民技术同样几乎全部作为被告/被申请人。

数据来源:企查查
此外,根据国民技术2020年年度报告中的“重大诉讼、仲裁事项”显示,“公司及子公司除重大诉讼事项外其他诉讼、仲裁事项金额合计 10,215.53 万元。截至本报告期末,已结案件金额 5,656.99 万元,未结案件金额 4,558.54 万元。未结案件中我方作为原告的案件涉及金额 3,541.04 万元,我方作为被告的案件涉及金额 1,017.50 元。”

数据来源:国民技术官网
可以清楚地看到,一方面,国民技术在诉讼案件中几乎全部作为被告/被申请人,一旦败诉将会面临较大的或有风险,加大其业务开展难度;另一方面,国民技术未结案中作为原告的案件涉及金额较大,一旦对方出现资金问题,必然不能足额偿还所涉及的资金,同样面临很大的或有风险。
综合来看,国民技术主业芯片类产品的营收大幅下降,盈利能力持续承压,此外关联方非经营性资金占用额巨大,叠加国民技术因证券虚假陈述责任纠纷涉及的案件逾百封,并且几乎全部作为被告,面临很大的或有风险。作为一家科技创新型的公司,国民技术如何才能跨过眼前的几个“坎”,只能等待时间给出答案。