【爱集微点评】泰科电子的连接器专利,通过将保险盖与高压互锁件滑动连接,能够保证高压互锁件在端子与对配端子电连接之前始终处于与对配高压互锁件分离的状态,提高了连接器的使用安全性。
集微网消息,泰科电子打造的TE中国昆山工厂一期开业暨二期扩建奠基仪式举行。昆山工厂聚焦汽车低压、高压端子与连接器生产的高自动化项目。
在现有技术中,连接器与对配连接器对配时,缺少判断连接组件是否已经被紧固和防止已被紧固的连接组件被意外拧松开的安全保护装置,这降低了连接器的使用安全性。此外,为了能够检测到连接器的端子与对配连接器的对配端子之间的连接状态,还需要分别设置高压互锁件和对配高压互锁件。但是存在高压互锁件在连接器的端子还没有与对配连接器的对配端子电连接之前就与对配高压互锁件对配的风险,这也降低了连接器的使用安全性。
为此,泰科电子于2022年3月9日申请了一项名为“连接器和连接器组件”的发明专利(申请号: 202220498838.8),申请人为泰科电子(上海)有限公司。

图1 连接器组件分解示意图
图1为连接器组件的分解示意图,连接器组件主要包括连接器1和对配连接器2。其中连接器包括外壳10、端子13和连接组件11。对配连接器包括与外壳10对配的对配外壳20和与端子电连接的对配端子21。端子在外壳中,连接组件安装到外壳中,并将端子与对配连接器的对配端子电连接。连接组件具有从外壳外露出的第一操作部,能够通过第一操作部紧固或松开连接组件。
在连接器与对配连接器对配的过程中,当连接组件未被紧固时,第一操作部处于与保险盖干涉的位置,以阻止保险盖被从初始位置移动到保险位置。当保险盖处于初始位置时,第一操作部未被保险盖遮挡,以允许通过第一操作部紧固或松开连接组件。

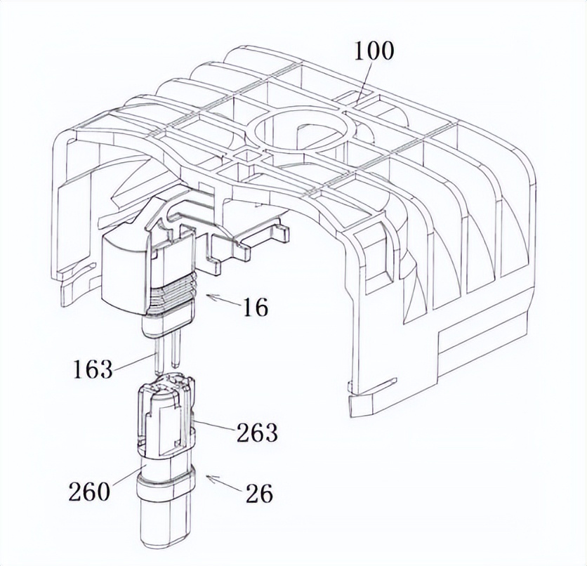
图2 高压互锁件保险盖以及对配高压互锁件的示意图
图2为连接器的高压互锁件和保险盖以及对配连接器的对配高压互锁件的示意图,该连接器包括:外壳、端子、连接组件、保险盖和高压互锁件16。外壳上形成有插槽和安装端口。端子在外壳中。连接组件安装在外壳的安装端口中,并将端子与对配连接器的对配端子电连接。保险盖可移动地安装在外壳上且能够在不遮挡连接组件的初始位置和遮挡连接组件的保险位置之间移动。高压互锁件可移动地安装在插槽中且能够在与对配连接器的对配高压互锁件接合的接通位置和与对配高压互锁件分离的断开位置之间移动。在连接器与对配连接器对配的过程中,当连接组件未被紧固时,连接组件处于与保险盖干涉的位置,以阻止保险盖被从初始位置移动到保险位置。
简而言之,泰科电子的连接器专利,通过将保险盖与高压互锁件滑动连接,能够保证高压互锁件在端子与对配端子电连接之前始终处于与对配高压互锁件分离的状态,提高了连接器的使用安全性。
泰科电子作为当今创新领导者和技术企业家的首选工程合作伙伴,致力于通过先进的连接和传感器解决方案解决未来的棘手难题。泰科电子一直锐意创新,将创造更安全、可持续、高效和互连的未来。