11月2日,河南省市场监管局发布45批次食品检测不合格情况(2022年第32期)通告,据通告,天猫豫北壹品旗舰店(经营者为安阳壹品生态农业有限公司)销售的标称安阳壹品生态农业有限公司委托河南省丽星亿源食品有限公司生产的1批次红薯粉条、1批次红薯宽粉,铝的残留量(干样品,以Al计)检出值分别为41.3mg/kg、35.2mg/kg,标准规定为不得使用。

河南省市场监督管理局针对抽检发现的问题,已按规定移送当地食品监管部门进行调查处理,责令查清不合格产品的批次、数量、流向,召回不合格产品,采取下架等措施控制风险,分析原因进行整改,并依法予以查处。
特别提醒广大消费者,注意饮食安全,遇到食品安全问题,请积极参与食品安全监督,拨打12315或0371-6128 6289进行投诉或举报。
公开资料显示:河南省丽星亿源食品有限公司成立于2007年06月18日,注册地位于河南省开封市通许县解放路北段路西(经营场所:1.通许县产业集聚区经一路南段路东;2.通许县解放路北段路西),法定代表人为孙文红。经营范围包括许可项目:食品生产;食品经营。

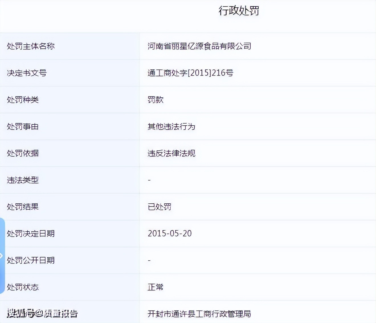
2015年5月20日,河南省丽星亿源食品有限公司违法行为,被通许县工商行政管理局处罚(决定书文号:通工商处字[2015]216号)。