移动互联网的时代真正地到来了。看如今的互联网局势,的确印证了这句话!但殊不知,字节跳动享受了最大的移动互联网福利!字节公司成立并不久,其发展也不过十年而已,为何字节公司能一跃冲天还能与其它互联网巨头公司争天下?尤其是字节旗下的抖音,更是布局了全球市场,在移动互联网时代可谓牢牢掌握了流量的大门!而如今,抖音凭借巨大的流量,开启了自己的电商浪潮。
最近,抖音有一个大动作,它将在电商领域发起移动互联网时代最汹涌的“知识产权保护行动”。消息传开,不少企业为之震惊!毫不避讳地说,抖音的这次动作,无疑是很多企业的“危机”。当然,祸福相依,这一次同样是很多企业的“良机”!

各位小伙伴们有没有注意到,今年3月18日的时候,抖音电商团队对外正式以官方的名义发布了《2021知识产权保护》报告, 系统全面地向社会各界展示了抖音在知识产权保护这一方面所做出的巨大努力,以及它所带来的显著成效。
那么,这份报告究竟意味着什么呢?它有什么划时代的意义吗?
对于抖音电商而言,这个起步较晚,各种尚未成熟的部门,仅仅用了两年时间,就让广大老百姓人尽皆知。据抖音官网数据显示,2021年10月27日-11月11日,短短时间内,抖音电商在它的直播间获得了近400亿次的观看。

可以说,抖音电商虽然起步晚,但其流量堪称前所未有!但是,在巨大的流量之下,也有空隙被一些企业所利用。这其中,知识产权侵权方面的问题最是严重。当然,在抖音电商成立之初,抖音官方就特别重视知识产权方面的管控。甚至,为此,抖音电商还在内部成立了知识产权保护团队。
今年之前,抖音电商部发布相关信息,官宣自己已经建立相对完善的知识产权业务版块和管理能力,并摸索出它的知识产权保护之路,用了短短一年的时间,它的小团队就组建了包括线下线上六大版块的知识产权保护墙,比如有: 公众教育、投诉处理、品牌合作、线下打击、主动防控和版权保护 。
各位小伙们有没有了解过,如何在抖音上维权呢?关于这个需求,其实抖音官方已经想到了。抖音电商推出了其官方维权平台(IPPRO),这个平台极大地方便了广大权利人。不管是追踪侵权问题还是发起维权诉求,都是超级超级超级便利的。

就目前整个移动互联网的现状看来,“IPPRO”是业内外第一个成功实现,在同一时间点,发起对商品和内容维权的操作平台。当然啦,也有很多类似的平台啦,它们也想努力地帮助大家维护知识产权,但是它们没有抖音做得好。可以说,抖音的“IPPRO”是电商场景里,覆盖范围最广泛的平台之一。
至2021年底,该平台已经收到近四千权利人的六千五百份知识产权备案诉求,帮助其维权。仅用了一年时间,抖音IPPRO平台就受理超过了10000次的投诉案件,删除了侵权链接超过48000条,这一波操作可谓是令不少企业拍手称快,当然,也让哪些侵犯别人知识产权的商家吃了血亏。
为了加大力度进行知识产权保护, 抖音彻底发力,从技术上重金投入,研发了十三项黑科技。通过这些技术高招全方位构建“假货防治网”,无死角打击知识产权侵权。 进一步删除侵权链接超二十五万条,惩戒达人侵权的恶行接近四万例,处理并封禁侵权销售抖店超过10000家,彻底打击了这些不法商家的知识产权侵权的嚣张气焰,相对地净化了知识产权环境。

我们一直喜欢玩抖音,其实,抖音官方也会玩。从抖音建立“防伪实验室”来讲,抖音对打击知识产权侵权行为的态度,可谓是“玩”得过火!仅在2021一年中,抖音投入600万人民币,用来购买样品及相关的真伪鉴定。
抖音不仅自己“玩”,还拉着广大消费者一起“玩”。抖音的“防伪实验室”因此建立大众评审制度,得到了2000名用户的信息反馈!辅助广大消费者和被侵权的商家,识别且处罚了超过10000件侵权的产品,另外也处罚了近700家侵权商店,近400家商家享受到了抖音的知识产得到保护。
据官方统计,抖音电商凭借“情报、研判、存证、打击”这4大模式,在短短12个月里,处理知识产权侵权案金额超过近3亿。抖音推出的该模式最大的优势在于它完全可以主动抓取线索,从虚拟推进实质打击,把行动从语言和规则落实为具体的处罚。 与此同时,抖音电商大刀阔斧地推广正版商品,打击山寨商品。 比如,警方在抖音电商官方的有力配合下,一次性查获超十万册盗版书。

当然,为做好知识产权保护的相关教育,抖音电商官方还上线了很多知识产权教育节目视频和大量的直播课,以此来提升商家对知产保护的意识。
《2021知识产权保护》报告还披露,国家知识产权局、公安、法院、市场监督管理局等多地区多层级多部门已入驻抖音并开设了官方账号,极大地促进了知识产权信息传播及相关普法的教育。
抖音电商发力“知识产权保护”,不得不促使一些大品牌大企业对知识产权的保护也开始重视起来。 相信在这一次的大动作里,一定有企业乘势而为,也一定有企业墙倒众人推……
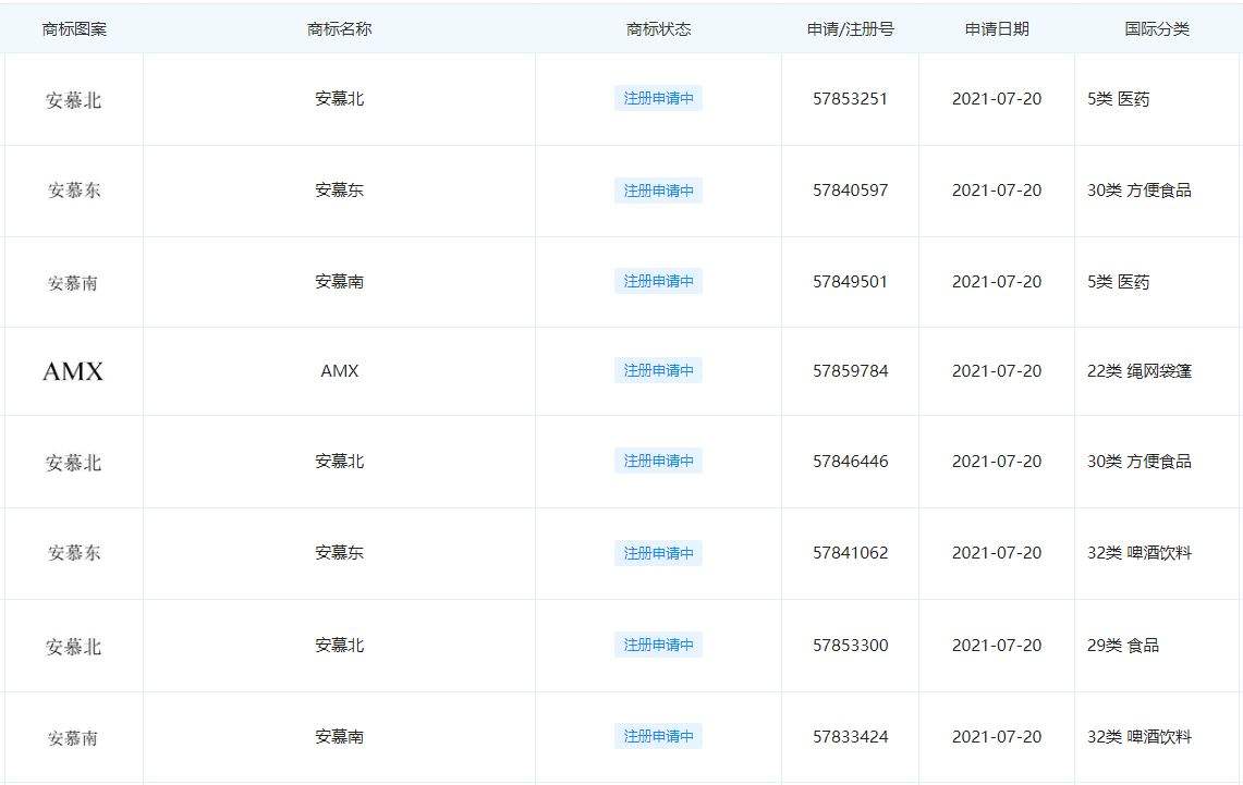
就拿伊利来说,在全国它的知名度肯定不用说了,但是大家知不知道,伊利对其商标保护到底有多拼?

为了保护自己的品牌安慕希,伊利官方先后申请了安慕东、安慕北、安慕南这3个商标,一旦这三个商标在国家知识产权局获得了授权,那么“东南西北”的安慕都是他家的。
综上所述,总而言之,言而总之,各位老板们,一定也要重视自己的知识产权。特别是想要入驻抖音电商的企业老爸们,更要从速行动。 从自己的商标、专利、版权等方面,全面地保护自己的知识产权权益,面对相关问题,切莫视而不见听而不闻,再次打擦边球,损人不利己……