《空压机培训100课》连载,以问答的形式将空压机行业需要用到的知识归纳总结,呈现给大家。本课程文章均为原创创作或整理。如需转载请注明来源本号,谢谢!
本课程首发《空压机头条》公众号,感兴趣的朋友可以关注一下。
上一课: 空压机培训100课之006:空压机的其它一些分类方式
课程即将进入下一进阶,为了让接下来的内容更容易理解,有必要先来学习一下空压机相关的专业术语及名词的解释。
压缩介质
为什么要用空气来做压缩介质?
因为空气可压缩、清晰透明并且输送方便(不凝结)、无害性、安全、取之不尽。
空气的物理性质:

干空气成分:氮气(约78%) 氧气(约21% ) 二氧化碳(约0.04%) 稀有气体(氦、氖、氩、氪、氙、氡)(约0.934%)
分子量:28.96
比重:在0℃及一个标准大气压下时为1.2931kg/m³
在化工上将干氮和二氧化碳视为惰性气体,标准压缩机能一样压缩惰性气体。
关于是否“惰性气体”不要较真,在这里就叫惰性气体。
其它适宜压缩的气体还包括:各类烃类气体(如天然气、石油气、焦炉气、乙烯、丙烯、丙烷等),活性气体(如氯、氯化氢、氧化氮、二氧化硫等)
注:通常压缩空气的叫“空压机”,压缩其它气体的叫“xx气体压缩机”
压缩
压缩是指将低压力的媒介转换成比进口压力高的一个过程。
等温压缩——是一种在压缩过程中气体保持温度不变的压缩过程。
绝热压缩——是一种在压缩过程中与外界没有丝毫的热交换,不向外界散热也不向外部吸热的压缩过程
ps.以上两种都是理想状态下的压缩过程
多变压缩-在压缩空气的过程中,既不完全等温、也不完全绝热的压缩过程。实际应用中都是这种压缩过程。
压缩比
压缩比是指压缩机排气和进气的绝对压力之比,俗称“压比”。
例:某排气压力为8bar的空压机,其压缩比是多少呢?
首先,分别求出进气和排气的压力(绝压)是多少:
进气——如果进气是直接吸入大气,则进气就是大气压。查当地的大气压是多少,进气压力(绝压)就是多少。
排气——排气的表显压力(表压)+当地的大气压就是排气绝压了。
如:当地的大气压是0.1MPa(算比值的,单位统一就好,无所谓用哪种单位)
则:
压缩比R=P排气/P进气=0.8+0.1/0.1=9
如果是多级压缩,将涉及到各级之间压比的分配,这里先不赘述。
压缩比对空压机设计制造来说是一个非常重要的值,对压缩机的功耗、密封、效率等影响巨大。
多级或者多段压缩就是在效率、工艺、材料、成本等各个方面平衡妥协的产物。
理想气体状态方程
有必要再温习一下高中物理中的这一知识点,因为涉及到空压机的一些简单计算实际上都与此有关。
理想气体状态方程:

描述理想气体状态变化规律的方程。提出者克拉伯龙。
其中:
p为压强(Pa帕)
V为体积(m³立方)
n为物质的量(mol摩尔)
T为绝对温度(K开尔文)
R为普适气体常量(约为8.31)
该方程严格意义上来说只适用于理想气体,但我们可以近似的用来做一些简单的空压机计算。
气体状态方程建立在以下四个定律上:
波义耳-马略特定律:在等温过程中,一定质量的气体的压强跟其体积成反比。
即:p1V1=p2V2
ps.比如我们有时候用来计算充满储气罐需要多长时间,其实就使用了这个公式,气体体积的换算而已。近似值不需要太准确。
盖·吕萨克定律:一定质量的气体,当其压强不变时,它的体积跟热力学温度成正比。
即:V1/T1=V2/T2
ps.温度每升高(或降低)1℃,它的体积的增加(或减少)量等于0℃时体积的1/273。
查理定律:一定质量的气体,当其体积一定时,它的压强与热力学温度成正比。
即:P1/T1=P2/T2
ps.压力越高则压缩空气的温升越高。
阿伏伽德罗定律:同温同压下,相同体积的任何气体含有相同的分子数。
容积流量
又叫“公称容积流量”、“铭牌流量”、“标称流量”、“额定流量”,俗称“排气量”。
是指单位时间内压缩机吸入空气的流量。
通俗的讲:在所要求的排气压力下,空压机单位时间内排出的气体容积,折算到进气状态,也即第一级进气接管处的吸气压力与吸气温度和湿度时的容积值。
上面提到的折算到某种状态,即我们001课所讲的空压机标识方法中的基准状态。
链接在这里:空压机培训100课之001:与之相关的空气基础理论知识(一)
按国家标准,空压机的实际排气量为标称流量的±5%时均为合格。
扩展阅读:排量
排量为压缩机一转中所形成的总工作容积的大小,单位为cm³或m³,对一定的压缩机而言,排量是一个定制,它真正反应了压缩机的大小,故较多的压缩机,尤其是微型制冷和空调用压缩机,大多用排量来表示其容量的大小。
空压机的气量测量方法有哪些?
空压机排气量的测定方法主要有两种:
直接测量法和间接测量法。
直接测量法如充罐法、气柜法、流量计测试法等,它直接测定某一时间间隔内流进、流出、流过的压缩空气量,由此再推算出空气压缩机排气量。
充罐法测定排气量简单易行,但由于不易正确测得温度值,因而经常使计算的排气量有某些误差。而流量计测量准确性取决于流量计,特别是大流量测试时,准确性很难保障,为了获得比较准确的排气量,多采用间接测量法。
间接测量法如使用节流装置,在同一时间内保持空气压缩机排出气体状态稳定不变的情况下,测定流过节流孔前后的有关动态参数,然后通过计算以求出空气压缩机排气量。
如已被广泛使用的喷嘴和孔板测量方法,在测定时虽然要制造较多的设备和做较大量的准备,但只要严格按有关技术规范,安装要求及规定方法去进行制造和使用,便可获得较为准确可靠的测定结果。
国标《GB/T 15487-2015 容积式压缩机流量测量方法》也对此进行了规范。给出了三种测量方法:
• ISA 1932喷嘴加整流器测量装置
• ASME喷嘴测量装置
• 圆弧文丘里喷嘴测量装置
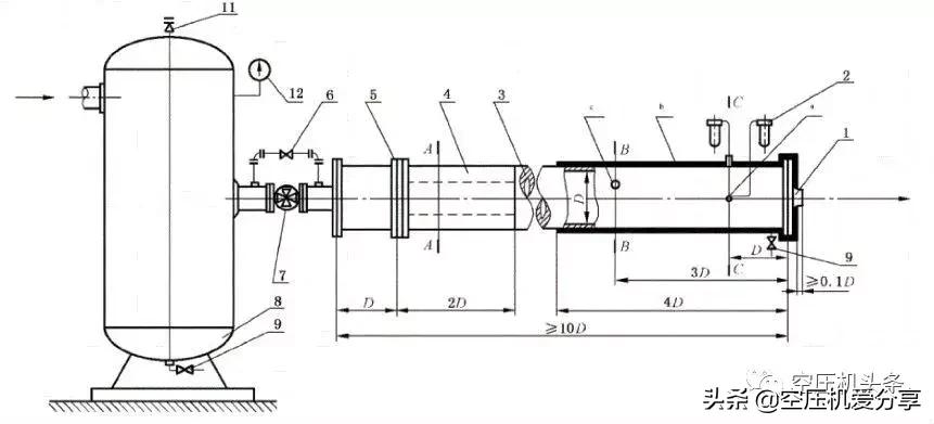
普遍使用的容积式压缩机气量测量方法——ASME喷嘴测量
ASME喷嘴测试是一种精确衡量压缩机所提供空气的方法。

1-喷嘴 2-压差计 3-直管段 4-导板 5-隔板
6-调压阀(微调) 7-调压阀 8-储气罐
9-排液阀 10-温度计 11-安全阀 12-压力表
这一方法得到大多数压缩空气和气体学会的认可,还为ASME能源测试代号委员会所接受。( ASME--美国机械工程师协会),也成为ISO、JIS等标准组织用以测定空压机的实际出风量的规范。
它的理论基础就是喷嘴前后产生静压差列出伯努利方程,从不可压缩流体(水柱差)推导出可压缩流体。
国内的空压机制造商及检测机构大多使用这种方法来测定空压机容积流量。
螺杆机的容积效率
螺杆机的容积效率是实际容积流量与理论容积流量的比值。
理论容积流量是单位时间内转子转过的齿间容积之和,它只取决于压缩机的几何尺寸和转速。
螺杆机的容积效率反应了压缩机主机结构本身的完美程度。受主机型线种类、压差、转速、气体性质等众多因素的影响。这个值通常在0.75~0.95之间。
《007课》完
如果你喜欢,请关注我,以便接收最新课程更新!
来源:空压机头条公众号