在疫情的反复冲击之下,汽车消费市场复苏的“拐点”迟迟未至,产销量的持续下滑使上下游供应商正在承受前所未有的压力。面对行业寒冬,总有人回避“报团取暖”,选择“逆行上岸”。
近日,汽车内饰件材料供应企业山东坤泰新材料科技股份有限公司(以下简称“坤泰股份”)首发过会,拟冲击深交所主板。但在借力资本市场募资的“如意算盘”背后,盲目扩张带来的产能消化风险、毛利波动反映出内生动力不足等负面效应也在加速显现。
产品结构过于单一
无序扩产或使业绩遭遇“当头一棒”
坤泰股份的主营业务为汽车内饰件材料及产品的研发、生产和销售,主要产品包括汽车地毯和汽车脚垫两大类,产品应用市场主要面向整车配套市场(即前装市场)。
此次登陆深交所主板,坤泰股份向资本市场要价近6亿元,甚至超过目前公司的总资产规模。募集资金将用于产业园项目、高档针刺材料等新扩建产能。但在行业景气度下降、客户需求平稳的背景下,依靠产能提振业绩的目标或许并不能轻松实现。
根据招股书,近三年来,公司簇绒地毯产品的营收占比均超过60%,汽车脚垫产品的营收占比维持在25%左右,二者对公司营业收入的贡献接近九成。如此单一的产品结构使得公司不得不过度依赖汽车产业,面临较大的经营风险。
此外,中汽协发布的数据显示,受新冠疫情、芯片短缺等不利因素的影响,今年4月,国内汽车产销量呈现明显下降,为近十年以来同期月度新低。今年一季度,我国汽车产销同比分别下降9.1%和11.7%,规模收缩带来的负面效应正向上游企业传导。某汽车厂商工作人员表示,目前部分整车厂生产节奏继续放缓导致汽车零配件开始出现库存积压的现象,整车厂商对非核心部件的需求量并不像之前一样紧俏。
全景网剖析招股书发现,本次公司募投的产业园项目(二期)计划新建两座生产车间,预计项目建成并达产后,将实现新增年产簇绒地毯250万平方米、针刺地毯1050万平方米及汽车脚垫200万平方米的生产能力。但在2019年与2020年,公司簇绒地毯全年产能均为765.47万平方米,产能利用率分别为87.91%和93.58%;而针刺地毯同期产能均不足300万平方米,产能利用率也仅为71%和79%。产能短期内的无序扩张意味着公司亟需拓展市场来满足生产要求,但面对疲软的消费市场,高投入未必会实现高收益。

图片来源于招股书
现有客户方面,2018年至2021年上半年,公司对前五大客户销售金额合计占营收的比例分别为60.71%、62.51%、65.52%和61.37%。其中,2019年公司对第二大客户富晟集团的销售金额较2018年下滑近1500万元,欧拓集团、一汽大众等其他客户的采购量也较为稳定,如何快速消化已有产能或将成为摆在坤泰股份面前的一大难题。
应收账款高企
信息披露多处存疑
抛开公司对各项数据的粉饰,坤泰股份还存在着应收账款高企、毛利率下滑、研发动力不足、信息披露存疑等诸多问题。
招股书显示,2018年至2021年上半年,公司应收账款账面价值分别为8730.98万元、9811.81万元、1.07亿元和1.13亿元;应收票据和应收款项融资账面价值合计金额分别为2003.57万元、2403.71万元、4756.45万元和5103.27万元,应收账款账面价值与应收票据和应收款项融资账面价值合计占流动资产的比例分别达39.65%、54.31%、56.42%和57.83%,占比在逐年上升,公司正在承受越来越大的回款压力。

图片来源于招股书
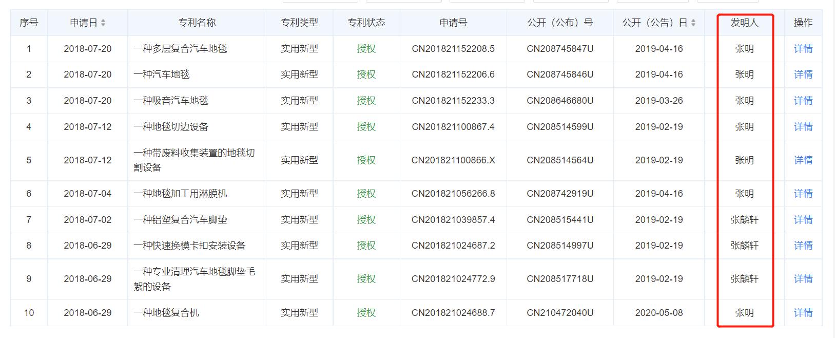
在毛利方面,受产品售价、材料成本、用工成本等多种因素的影响,近年来公司产品毛利率波动加大。2018年至2021年上半年,公司主营业务毛利率分别为31.82%、35.80%、38.15%和35.65%。研发方面,公司研发费用占营业收入的比例已连续三年呈现下降趋势。此外,在专利获取上,公司绝大多数专利的唯一发明人为实控人张明或其子张麟轩,但后者长期在公司承担销售方面的工作,并非公司研发人员。

图片来源于天眼查
值得一提的是,张麟轩作为实控人张明的直系亲属,属于公司关联自然人。同时在坤泰股份担任职位,根据相关规定,公司向张麟轩支付薪酬构成关联交易,需要披露相关信息,但查阅招股书并未找到有关内容。
此外,实控人张明的简历信息同样存疑。招股书显示,张明曾1984年8月至2004年5月间任鸡西非金属矿工业公司业务经理;2004年10月至今,担任大同市坤泰石墨有限责任公司执行董事。但根据天眼查信息,鸡西非金属矿工业公司于1985年7月成立,简历时间与之并不相符。同时,根据裁判文书网此前披露的一份判决书,张明系大同市坤泰石墨有限责任公司执行董事,但在招股书的简历中也并未提及。(全景网)

图片来源于招股书

图片来源于天眼查