
本文由传习邦原创,未经许可不得转载。关注传习邦,深刻洞察教育行业。传道学习,教育兴邦。
撰文 | 单眼皮boy
编辑 | 灰熊
资本的寒冬,融资艰难,成人英语行业正走进连锁倒闭的时节?
韦博英语一夜关张之后,高举自适应学习大旗的在线英语平台朗播网又传出裁员一半、拖欠离职员工工资的坏消息。
一年以前,在某次媒体主办的榜单上,朗播网成功晋级为AI+教育的准独角兽。
一年时间,当资本热钱的潮水逐渐退去,朗播网原形毕露。看去很美的自适应学习,模式尚未真正跑通,是不是一个大坑?
- 1-
新东方名师创办,「自适应」明星企业
朗播网,系出名门,由新东方20载功勋名师杜昶旭创办。
古有四大神兽:青龙、白虎、朱雀、玄武,新东方也有「四大神授」:宁滨(托福听力)、于浩洋(托福口语)、杜昶旭(托福阅读)、史禺(托福写作)。
时移世易,「四大神授」各奔东西,仅有史禺留守新东方出任北京新东方北美项目副总监,于浩洋、宁滨合伙创办小而美的青少年留学平台环宇鸿泽,杜昶旭则创办托福自适应学习平台朗播网。
1999年,杜昶旭考上北理工计算机系,毕业后保研清华,之后读博。2002年起,杜昶旭便在新东方教课,一直服务到2013年参加完新东方20周年庆离开,为新东方「20年功勋教师」。
还在新东方任课期间,杜昶旭便私下创办朗播网,推出朗播词汇、在线托福+GRE学习产品。2013年,杜昶旭从新东方离职之后,朗播网进入发展快行线,上线在线托福课程。
2016年,AI大潮初起,朗播网独家发布托福自适应学习系统,并向GRE、雅思、GMAT、SAT、ACT自适应平台延伸。出国考试之外,朗播网又进军国内考试,推出英语四六级业务。
2018年9月,朗播网发布朗播高考英语APP,主打碎片场景智能学习、个性化备考训练,为学生智能推荐90分、120分、150分三档学习计划选择。
toC业务之外,朗播网杀入toB业务,在2017年推出英语教学的「智能芯片」—— 朗播Inside智能教学系统,希望像英特尔的CPU一样,赋能线下英语学习机构、国际学校。

朗播网融资数据
2015年5月,朗播网获得好未来数百万元的Pre-A轮融资。2016年5月的A轮融资,好未来追加投资,与慕华金信、ATA联袂投出数千万元。2017年9月,朗播网完成B轮融资,由广发信德领投,慕华金信跟投,总计6000万元投资,崛起为自适应学习圈的头部企业。
B轮融资之际,朗播网一度吹嘘,2017年上半年实现400%的业绩增长,实现单月盈利。
- 2-
英语流利说巨亏,「自适应」太烧钱
在自适应学习的高光时刻,各大项目各领风骚。在成人英语赛道,除朗播网之外,智课网瞄准雅思、托福赛道,推出Smart智能教学系统,另一新东方名师那天创办爱天科技,推出托福智能口语测评工具。
当然,自适应学习最出名的独角兽企业当属流利说,基于「深度学习、深度神经网络」,推出AI+学习产品。
相比于朗播网,英语流利说技术背景更为雄厚,融资能力更为强劲,先后推出巨型的「中国人英语语音数据库」、人工智能英语老师,逐步拉开与竞品的距离。
相比朗播网千万级人民币的融资,英语流利说在2013年完成了数百万美元的A轮融资,2015年完成数千万美元的B轮融资,2017年完成1亿美元融资。
2018年9月,英语流利说在纽交所上市成功,发行价12.5美元,开盘价16美元,净募资7190万美元,晋级为国内AI+教育第一股。相比之下,朗播网株守在出国考试、国内考试的狭窄天地里,完美错过AI+教育大笔融资的癫狂时刻。
众所周知,自适应学习是一个烧钱的生意,至今处于赔本赚吆喝的状态,商业模式并未完全跑通。即使是上市的英语流利说,2016年营收1200万元,亏损8900万;2017年营收1.6亿,亏损2.4亿元;2018年营收6.4亿元,亏损4.9亿元。
在模式尚未真正跑通之际,朗播网三轮融资仅斩获不到人民币1亿元,财务压力之大可想而知。
另一方面,随着在线教育的广泛兴起,英语培训的行业门槛不断降低,市场玩家几何级增加。在成人英语的一片红海中,运营了20年的韦博英语一夜倒下。对于朗播网而言,现实的道路也许只剩下瘦身求存。
- 3-
套路式裁员,裁掉一半员工
从2018年下半年开始,朗播网的经营状况便已每况愈下,并在2018年12月、2019年4月两次裁员。
2019年1月,朗播网CEO杜昶旭发布内部公开信,强调「开源节流」。此后,朗播网由每周双休改为「大小周」,全勤奖、晚八点后免费晚餐取消。
4月的裁员,朗播网裁掉销售部20多名员工,占销售部员工总人数的三分之一。为了节省成本,朗播网未按劳动法的要求进行合理补偿,而是通过没收工作手机、关闭工作后台、关闭所有数据的方式,逼迫员工「自动」离职。为了防止遭遇零赔偿辞退的员工「闹事」,朗播网居然在办公室安装了*听窃**器。
5月10日是朗播网发薪日,但工资却未能按时发放,财务人员解释:因网银故障,工资延迟一周发放。
一周之后,朗播网召开各部门会议,宣布公司业绩下滑,暂时无力发放工资。朗播网CTO彭闻宇宣布降薪、裁员计划,普通员工若留任,降薪30%;部门总监若留任,降薪50%,承诺在经营状况好转之际补发工资。
朗播网联合创始人、副总裁金晶则承诺,员工若主动离职,公司提供一份工资欠条,5月任何一天离职,工资都算整月,6月才离职,工资欠条打八折。
一旦员工同意离职,则必须向主管总监发送一封「由于个人原因申请离职」的邮件,在办理离职手续时,则需签署一份协议,一方面朗播网承认拖欠4月或5月工资,承诺在经营状况转好之际补发,另一方面要求离职员工不得披露协议内容,否则赔偿一万元。
有朗播网前员工透露,5月裁员,共有150-200名员工离开了朗播网,约占朗播网员工总人数的一半,单人被拖欠的工资在1万到6万之间。
离职之后,朗播网上百名员工向北京海淀区劳动仲裁委提起仲裁,大部分人选择与朗播网调解,仅要求补发工资,一部分人则选择直接仲裁,要求朗播网支付拖欠工资、离职补偿金。
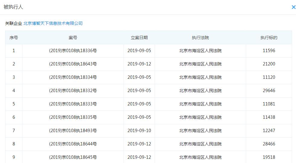
根据双方的调解协议,朗播网需在8月31日补发拖欠的工资,但期限过去,朗播网未能按时履约,引发离职员工申请强制执行。传习邦注意到,企查查数据显示,9月份、10月份,朗播网因未按时履行法律义务被法院强制执行的相关信息达十余条。

数据来源:企查查
不幸中的万幸,5月裁员之后,朗播网保持正常运营,启动正常招聘,甚至高薪挖人,在9月上线新产品「高能英语」。
在砍掉一半员工之后,朗播网轻装上阵。对于杜昶旭而言,拯救朗播网,仍为第一要务。