
大型集团有大量的年度计划、月度计划、会议决议计划、项目计划需要落地执行,有大量的数据需要规范化收集及整理。
为了在实际工作中,不让战略目标流于形式;在任务进行中,能及时管控、提醒,保证交付质量;在考核过程中,有客观的数据、能够落实的工作计划和交付成果作为支撑。
泛微通过流程引擎+低代码构建平台,为组织构建运营计划全过程管理,将年度计划、月度计划、计划提醒、绩效考核、查询统计等模块集中在一个平台上;
将计划的新建、执行、变更(调整)、跟踪、反馈、任务提醒、交付验证全生命周期、全过程进行数字化管理。

(数字化运营计划管理系统架构)
泛微数字化运营计划管理系统特色
一、年度计划
1、快速创建
通过设置年度计划模板,OA系统能够自动识别上传的excel格式的工作计划,并支持计划创建人进行调整。

(年度计划创建)
流程审批通过后,归档形成年度计划台账,并且在台账中能够设置重要程度,以合理安排工作。
2、变更
由于年度计划执行周期长,随着企业内外环境、战略的变化,存在年度计划的变更。变更流程审批通过后,更新年度计划台账。

(年度计划变更)
3、本年度计划查询
年度计划创建成功后,形成年度计划台账,并进行层层关联展示。通过台账导出的excel表格同样具有相同层次,便于查看。

(年度计划查询)
二、月度计划
1、创建
每月初各部门制定月度工作计划,包括本月部门KPI工作计划、本月年度计划工作分解、本月部门专项重点工作计划。月度计划流程审批归档后生成月度计划台账。

(月度计划创建)
2、会议决议事项派发
月度计划执行过程中,公司会组织各类会议,会议过程中常常会有计划外的月度工作任务需要派发,或者计划内月度工作的调整。
通过会议决议事项派发流程,对计划外的月度工作增加到月度计划台账中,对计划内月度工作更新到月度计划台账中。

(会议事项派发)
3、变更
月度计划执行过程中,由于各种原因需要对月度计划进行变更,变更流程审批通过后,更新月度工作台账信息。
4、取消
月度计划执行过程中,由于某些特殊原因,需要取消月度工作计划。取消流程归档后,台账中及时调整该月度工作任务状态。
5、工作成果交付验证
当月度工作任务完成后,需要提交工作成果,并进行流程审批,流程审批通过后,该月度工作任务的状态更改为已完成,同时工作进度条直接拉满。

(成果交付)
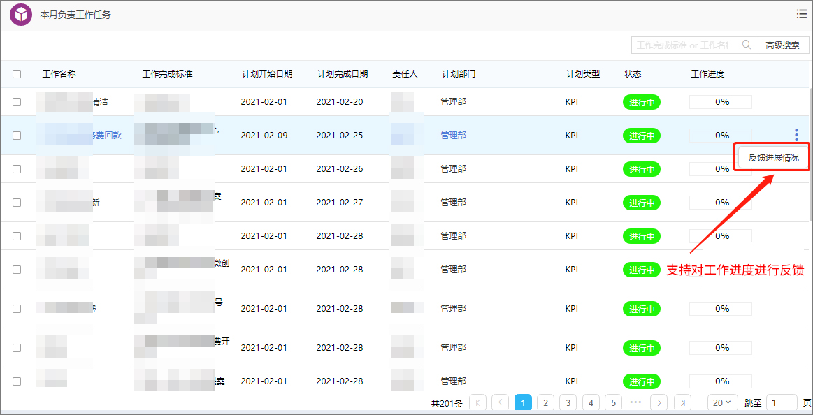
6、本月负责工作任务
在查询月度工作台账中,归集了计划人、责任人或协办人是“我的”月度工作任务。
在月度工作任务表单中归集了与该月度工作任务进展反馈情况、交付验证信息以及变更情况。

(工作反馈)
7、本月配合工作
很多月度工作任务在执行过程中是需要其他部门协同作战,为方便配合部门及时获取要配合的工作任务,以便提前规划或及时给予相应资源支持。
在月度工作台账,归集了配合部门是本部门的月度工作任务,并且是本月要执行的月度工作任务。
8、任务提醒
系统提供了流程提醒、邮件提醒、短信提醒等多种提醒方式,提醒任务责任人和计划人及时处理任务。
三、项目例行报送
日常工作中,运营管理人员需要收集各类报告、资料,包括但不限于周报告、月报告、项目负责人巡查报告、月度培训资料等。
系统通过流程将各类报告、资料进行线上电子化。流程中事先预设好了接收对象,减少报送人工作,同时也方便了接收人查收,极大地提高了工作效率。
四、绩效考核
月初,由各部门、负责人发起绩效考核评估流程,首先是负责人对月度工作任务进行自评,自评完成后再由考核人进行打分。条线不同,打分也不同。
条线考核打分流程归档后,集中汇总到考核台账表中供管理人员查询。

(绩效考核)
五、查询统计
1、年度计划查询
查询所有年度的年度计划,并且增加了对应计划年度的查询条件,能够从多维度获取数据。
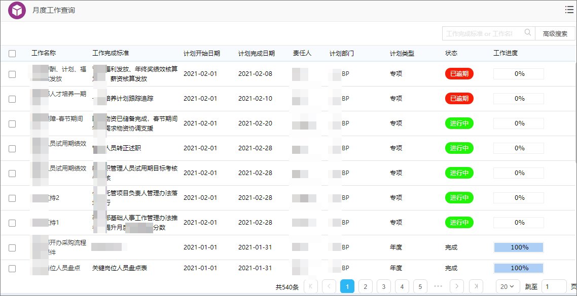
2、月度工作查询
可查询所有年度所有月份的月度工作任务,包括该月度工作任务的主责部门对应的所有员工、配合部门对应的所有员工、责任人、协办人、计划人、计划人对应的所有上级领导都可以查看。
3、年度/月度工作变更情况
通过年度/月度工作变更情况台账,为管理人员提供了统一的查询入口,方便、高效地掌握年度/月度工作变更情况。
5、月度工作统计分析
以月度工作任务为核心,汇总月度工作任务最后一次的任务进展反馈情况、任务交付验证成果交付物。支持多维度查询,并统计出对应任务数据。

(工作分析报表)
价值
1、全面提升集团管理效能,有效落地执行年度计划;
2、对年度、月度计划全生命周期、全过程统一管理;
3、沉淀计划数据,为大数据运营分析提供有效支撑。