
回顾4月,中国新药研发的喜讯不断。分析监测新药/仿制药最新注册申报情况、获批临床品种全球上市及研发进展,获悉药物研究进展,解读热门/潜力靶点、疗法、适应症领域重大事件,追踪全球医药大健康投融资与发展动向......尽在药融咨询 《全球在研新药与靶点月报》 。
据药融云《全球在研新药与靶点月报》数据统计,2023年4月共有147个化药1类新药受理号获CDE承办(含补充申请35个),其中国产93个,进口19个;从申请类型来看,包括临床申请109个,上市申请3个,涉及77个品种,81家企业。
4月化药1类新药获受理品种查询(部分)

图片来源:药融云中国药品审评数据库
在4月,共有91个1类治疗用生物制品受理号获CDE承办(含补充申请18个),其中国产58个,进口15个;从申请类型来看,包括临床申请68个,上市申请5个,涉及74个品种,83家企业。
同时,有 3个1类#中药#受理号获CDE承办 ,从申请类型来看,全部为临床申请3个,涉及3个品种,3家企业,分别是 天地恒一制药 的 HYZ2001胶囊 、广州医药研究总院的 养阴舒肝颗粒 、天士力医药的 安体威颗粒 。
订阅“HYZ2001胶囊”,可实时掌握其审评状态及审评进度

图片来源:药融云中国药品审评数据库
在4月,共有144款新药获批临床 (共计210个受理号) ,其中包括66款化药,75款生物制品,3款中药;有1款新药获批上市,是 Ⅲ价轮状病毒基因重配#疫苗#。
2023年4月国内获批临床新药(部分)



图片来源:药融云《全球在研新药与靶点月报》
注:此处所列新药,主要是指国家药品监督管理局(NMPA)首次批准在中国上市的药品,包括新分子实体(以及包含有新分子实体的复方)、生物药、中药和疫苗。其中,新分子实体主要是化药注册分类下的 1 类(境内外均未上市的创新药)、5.1 类(境外上市的原研药申请在国内上市);生物药主要为 NMPA首次批准的国产及进口生物药。获批上市新药不包括生物类似物,新适应症、新剂型。
一、3款1类中药获批临床,用于治疗鼻炎、黄斑水肿、咳嗽
- 1.消风宣窍颗粒
消风宣窍颗粒为 苏中药业 集团开发的1.1类中药新药,拟适应症为 儿童过敏性鼻炎 。据悉,其处方经过临床几十年的应用,能明显改善鼻痒、鼻塞、喷嚏、咳嗽、眼痒等症状,对儿童过敏性鼻炎迁延不愈、反复发作有较好的改善和预防作用。
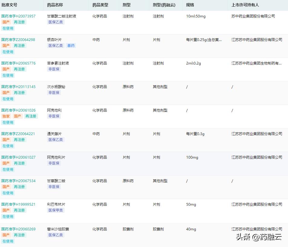
据药融云数据库显示,苏中药业集团拥有163个有效生产批文,涉及131个品种,包括利巴韦林氯化钠注射液、利巴韦林片、硫酸阿米卡星氯化钠注射液、硫糖铝胶囊、洛伐他汀胶囊、复方肝浸膏糖浆等;其中按ATC分类统计,排名前三的分别是消化系统与代谢药(33个批文)、系统用抗感染药(32个)、血液和造血系统用药(23个)。
苏中药业集团药品生产批文查询(部分)

图片来源:药融云中国药品批文数据库
药融云数据库显示,苏中药业集团已进入国家医保目录的独家品种有7个,包括更昔洛韦钠注射液、止喘灵口服液、止喘灵注射液、清宣止咳颗粒、蒲参胶囊、黄葵胶囊、丹鹿胶囊。
黄葵胶囊是苏中药业以黄蜀葵花为单方研制的独家专利产品,是国家级新药、国家乙类医保品种。丹鹿胶囊于2015年获批上市,该独家产品作用机制独特,不影响正常雌激素分泌,起效快,有效缩小乳腺增生包块,针对乳房疼痛止痛效果尤佳。
药融云全国医院销售数据库显示,丹鹿胶囊于2017年进入国家#居民医保#目录,随后在中国全医院终端开始快速放量,2021年销售额为1708.57万元,同比增长102.74%;2022年更是突破2000万元,销售规模达到2401.87万元,同比增长40.58%。

图片来源:药融云全国医院销售数据库
- 2.人参总次苷片
人参总次苷片是 上海辉昱生物医药 申报的1.2类中药,用于 #糖尿病#黄斑水肿 (气阴两虚,络脉瘀阻证)。视物模糊,目睛干涩,或视物变形,或眼前黑花飘舞等见诸上述证侯者。
药融云数据库显示,辉昱生物(原弘医堂生物)的一款5类中药人参总次苷口腔崩解片已于2018年9月获批临床。人参总次苷口腔崩解片是人参属植物提取物经酸水解后,通过大孔树脂分离纯化浓缩所得的提取物再配以辅助成分制得。人参总次苷口腔崩解片可用于制备治疗心阳不振,心气虚弱,气滞血淤导致的胸痹心痛;心肌缺血;失血性休克等疾病。
人参总次苷片审评时间轴—获批临床耗时71天

图片来源:药融云中国药品审评数据库
- 3.杏芩感咳颗粒
上海中医药大学/石家庄东方药业 的1.1类中药杏芩感咳颗粒获批临床,具有疏风清热、宣肺止咳的功效,适用于 感冒后#咳嗽# (风热伏肺证)等。
药融云中国药品批文数据库显示,石家庄东方药业现有中药和化学药品批准文号60个,涉及52个品种,包括胶囊剂、片剂和颗粒剂,涵盖消化道疾病治疗药物、肿瘤治疗药物、心脑血管疾病、糖尿病以及抗感染药物等。其中,国家医保目录品种33个,国家基本药物品种11个,均具有自主知识产权。
石家庄东方药业药品生产批文查询(部分展示)

图片来源:药融云中国药品批文数据库
药融云数据库显示,2019年全国医院(全终端)市场咳嗽和感冒用药的中成药销售规模超过270亿元,2020年受疫情影响有较大幅度下滑,销售规模为203.08亿元,同比下降25.82%;2021年疫情进入常态化,市场开始回温,销售额达到263.81亿元,同比增长29.91%。
其中,2021年全国医院终端咳嗽和感冒用药的中成药TOP10产品,占据总市场份额的46.2%,排名前十的药品分别是:连花清瘟颗粒、苏黄止咳胶囊、小儿豉翘清热颗粒、连花清瘟胶囊、肺力咳合剂、痰热清注射液、强力枇杷露、金振口服液、双黄连口服液、感冒清热颗粒。
2021年医院端咳嗽和感冒用药—中成药TOP10

图片来源:药融云全国医院销售(全终端)数据库
除了中药,1类化药获批临床值得关注的还有恒瑞医药的注射用SHR-A1811,上海医药的SPH4336片,正大天晴的注射用TQB2103、AL2846胶囊、TQA3810片,以岭药业的G201-Na胶囊,康缘药业的KY1702胶囊,齐鲁制药的QLP2117注射液,阿斯利康的ALXN1720注射液等等。
二、国内首个Ⅲ价轮状病毒基因重配疫苗获批上市
中国医药集团旗下兰州生物制品研究所 自主研发的 口服Ⅲ价轮状病毒基因重配疫苗 获批上市,成为国产首个获准上市的三价轮状病毒疫苗。
轮状病毒(Rotavirus, RV)是引起世界范围内5岁以下儿童重症腹泻的最主要病原,也是导致发展中国家婴幼儿死亡的主要原因之一。研究结果表明,口服三价重配轮状病毒减毒活疫苗在预防G1、G2、G3、G4和G9型轮状病毒引起的腹泻方面具有很高的安全性和保护效力。
自2006年以来,对于轮状病毒感染的防治,世界卫生组织倡导优先接种轮状病毒疫苗,我国2020年发布的《儿童轮状病毒胃肠炎免疫预防专家共识》中也明确指出,接种轮状病毒疫苗是预防轮状病毒的最简单有效的措施,建议适龄儿童按照共识所推荐的免疫程序尽早开始接种轮状病毒疫苗。
兰州生物制品研究所获批上市药品查询(部分展示)

图片来源:药融云全球药物研发数据库
此前,国内接种的国产疫苗是由兰州生物制品研究所独立研制生产的单价口服轮状病毒活疫苗。兰州生物制品研究所作为我国轮状病毒疫苗的独家生产和供应企业,口服三价重配轮状病毒减毒活疫苗的上市将完成产品的更新换代,对进一步有效降低轮状病毒性婴幼儿腹泻,保护儿童生命健康具有重要意义。
<END>