曾经的合资券商“黑马”,如今的“被执行人”......

作者 | *明徐**辉
编辑 | 吴婷婷
来源 | 券业观察
对于中德证券来说,中信重工(601608.SH)IPO、资产重组项目无疑是令其骄傲的。作为中信重工的独家保荐人、独立财务顾问,该项目被放在官网的“经典案例”中,十分醒目。
不过,也是因为中信重工,中德证券遭上交所“点名”,2名保荐代表人因“未勤勉尽责”,被予以监管关注。
作为山西证券(002500.SZ)子公司、老牌合资券商,中德证券成立之初便尽显“黑马”之势。在合资券商中,其投行业绩一度仅次于“投行贵族”中金公司。
时隔多年,中金依旧有光环加身,中德却渐行渐远。券业观察注意到,近年来,中德证券诉讼缠身,投行业务也受到波及,甚至还因14万元成了“被执行人”......
未勤勉尽责,2名保代被“点名”
近日,上交所发布了两条监管措施,均与中信重工有关。一条是对中信重工IPO项目保荐代表人梁炜、刘萍的监管关注;一条是对中信重工董秘梁慧的通报批评。

图片来源:上交所
2012年7月2日,中信重工完成了募集资金净额30.86亿元的主板首次公开发行,中德证券是其独家保荐人和联席主承销商。
募资用途中介绍,其中12亿元将用于新能源装备制造产业化项目(以下简称“新能源项目”),计划至2016年达到预定可使用状态。
2014年4月,中德证券披露了2013年度募集资金使用情况,并表示,新能源项目达到可使用状态日期提前至2015年。
打脸的是,该项目不仅没能提前完成,反而一再延期。
中德证券此后披露的5份年度《核查意见》(2014-2018年)中提到,因为重型装备市场不及预期景气,新能源项目的投资进度放缓。该项目达到预期可使用状态日期将延至2020年。
今年3月,中信重工发公告称,截至2020年2月29日,新能源项目已进行了项目设计与勘测等,使用募集资金4878.58万元,占该项目计划使用资金的4.07%。同时,中信重工表示,该项目剩余募集资金将变更用途。

图片来源:上交所
也就是说,近8年时间,新能源项目还停留在勘测等阶段,12亿元募集资金中,尚有11.5亿元没有使用。
上交所认为,保荐代表人未及时对外披露募投项目进展,未充分向市场说明项目推进存在的不确定性风险及具体原因,属于“未勤勉尽责”,因此被予以监管关注。
券业观察注意到,其实,早在中信重工披露变更募投用途公告后,上交所便对其下发了问询函。问询内容涉及:中信重工是否在项目实施前进行了谨慎评估;为什么前期没有及时变更和充分提示相关风险等问题。
当时,中德证券在《核查意见》中回复称,中信重工董监高勤勉尽责,对项目进行了审慎评估,也披露了相关风险。
不过,从本次处罚来看,中德证券的回复并没有“说服”上交所,时任中信重工董秘的梁慧没有勤勉尽责,中德证券保荐代表人梁炜、刘萍亦没有尽责督导。
诉讼缠身,一天内22次成“被执行人”
值得注意的是,这并非中德证券第一次被“点名”。此前,它曾多次因“未勤勉尽责”被处罚,甚至惹上官司,一天内22次被列为被执行人。投行业务也受到“牵连”。
公开信息显示,中德证券属于合资券商,是山西证券与德意志银行于2008年12月合作成立的,注册资本10亿元。其中,山西证券持股66.7%,德意志银行持股33.3%。
山西证券的投行业务收入,主要来自控股子公司中德证券。
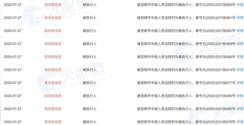
一个月前,券业观察在中国执行信息公开网发现,中德证券多了条法律诉讼。随后发现,7月27日当天,中德证券被昆明市中级人民法院22次列为被执行人,执行标的3000元-300万元不等,涉及金额总计近400万元。

图片来源:天眼查
这些标的均与*藏西**紫光卓远、昆明机床(600806.SH 已退市)等公司有关。
2015年11月10日,昆明机床发公告称,公司第一大股东沈机集团拟协议转让其所持公司25.08%的股份给紫光卓远。股权转让完成后,紫光卓远将成为昆明机床的控股股东。
该项目中,中德证券担任紫光卓远财务顾问一角,财务顾问主办人为李庆中、王鑫。
天眼查显示,紫光卓远由紫光集团100%控股,紫光集团的实控人是清华控股。对于昆明机床而言,能获得背景强大的紫光卓远入主,无疑是重大利好。
然而,两个多月后,事件出现反转。
2016年2月5日,昆明机床发公告称,股权转让协议中有一项条款:生效条件不能全部满足的,协议可在3个月内自动解除。此后不久,昆明机床再次披露:未完成相关审批,股权协议自动解除。

图片来源:昆明机床公告
昆明机床股价暴跌,3万股民欲哭无泪。
值得注意的是,昆明机床之前发布的股权转让公告中,并未披露“全部生效条件”和“3个月自动解除”条款。随后,证监会对涉事公司进行了处罚。
作为财务顾问的中德证券也因未勤勉尽责遭受处罚。中德证券被没收业务收入300万元,并罚款300万元;财务顾问主办人李庆中、王鑫被给予警告,并分别罚款5万元。

图片来源:山西证券公告
众多遭受损失的投资者以证券虚假陈述为由,向法院提起诉讼,中德证券、昆明机床、沈机集团、紫光卓远皆坐上被告席。于是就有了前文“一天内22次被列为被执行人“的壮观景象。
截止目前,相关索赔还在进行中。不过,中国执行信息公开网显示,中德证券目前仅剩一条执行信息,执行标的约14.74万元。

图片来源:中国执行信息公开网
当然,这件事的影响绝不止赔钱那么简单。
中德证券被立案调查,手上的部分投行项目也不得不暂停。被立案调查的前一天,中德证券担任主承销商的国泰集团(603977.SH)IPO项目,决定中止后续发行工作;紧接着,中德证券担任独立财务顾问的大连国际(000881.SZ)重大资产重组项目被暂停审核......
此外,中德证券还因在承销格林美(002340.SZ)非公开发行股票时,未按照规定向部分符合条件的特定对象提供认购邀请书等,被深圳证监局出具警示函;因在对汉王科技(002362.SZ)持续督导期间未履行相应的持续督导责任,被北京监管局出具监管措施。
曾是合资券商“黑马”,投行业绩仅次于中金
山西证券2020年半年报显示,2020年上半年,山西证券实现投行业务收入2.44亿元。
而中德证券作为山西证券的投行子公司,报告期内实现营业收入1.38亿元,共完成26个投行项目。其中包括1个IPO项目、1个配股项目、1个可转债项目、1个定增项目以及22个债券项目。

图片来源:山西证券2020年半年报
作为老牌合资券商,中德证券成立之初便尽显“黑马”之势。在合资券商中,其投行业绩一度仅次于“投行贵族”中金公司。
2001年,中国加入WTO。以后十年,资本市场进一步对外开放,合资券商纷至沓来。中德证券就是在此背景下成立的。
券业观察根据山西证券年报提供的数据不完全统计,2009年-2019年,中德证券股票和债券承销家数共计268家。其中,2015、2016年表现最好,2016年承销金额高达1097.36亿元。

券业观察制图 数据来源:山西证券年报
2010年,中德证券作为主承销商,完成8家股票承销项目、3家债券承销项目,项目总数在合资券商中排第1位,在国内券商中排第20位;2011年,中德证券在债券承销业务上开始发力,债券承销规模在券商排名中挤进前15,排第13位。
2015年,中德证券发展迅速,投行业务在券商中的排名更进一步。作为主承销商,中德证券全年共完成14个股票承销项目、30个债券承销项目,债券承销金额在合资券商中排第2,仅次于中金公司。
此后两年,中德证券的综合竞争能力在合资券商中,始终保持在前2名。
2017年后,中德证券的投行业绩有所下滑,在合资券商中的排名,也开始掉出前3。
据中国证券业协会统计,2018年,股票主承销金额排在中德证券前面的合资券商有中金公司、瑞银证券、东方花旗证券等;2019年,承销与保荐业务收入排在中德证券前面的有中金、花旗等。
而中德证券的营收、净利润,也从2015年后,开始逐渐下滑,2019年才出现短暂回升。

中德证券营业收入变化 图片来源:天眼查
山西证券年报显示,2019年,中德证券抓住科创板机遇,完成2家科创板IPO项目,在TMT半导体设计板块等细分行业的市场竞争力和品牌影响力进一步强化。
券业观察注意到,山西证券在2020年半年报中提到,中德证券将优化业务布局,将聚焦重点地区(山西),持续提升服务实体经济的质量和效果,坚持走“控风险、稳经营”的路线。
可见,中德证券也在不断调整自己的脚步,试图做出改变和努力。中德证券的业绩能否有所突破,值得期待。你认为中小合资券商该如何突围?评论中见!